HILTI AG 5D-22 Cordless angle grin der
Original operating instructions
Information about the documentation
About this documentation
- Read this documentation before initial operation or use. This is a prerequisite for safe, trouble-free handling and use of the product.
- Observe the safety instructions and warnings in this documentation and on the product.
- Always keep the operating instructions with the product and make sure that the operating instructions are with the product when it is given to other persons.
Explanation of symbols
Warnings
Warnings alert persons to hazards that occur when handling or using the product. The following signal words are used:
DANGER
DANGER ! Draws attention to imminent danger that will lead to serious personal injury or fatality.
WARNING
WARNING ! Draws attention to a potential threat of danger that can lead to serious injury or fatality.
CAUTION
CAUTION ! Draws attention to a potentially dangerous situation that could lead to personal injury or damage to the equipment or other property.
Symbols in the operating instructions
The following symbols are used in these operating instructions:
- Comply with the operating instructions
- Instructions for use and other useful information
- Dealing with recyclable materials
- Do not dispose of electric equipment and batteries as household waste
- Hilti Liion battery
- Hilti charger
Symbols in illustrations
The following symbols are used in illustrations:
- These numbers refer to the illustrations at the beginning of these operating instructions.
- The numbering reflects the sequence of operations shown in the illustrations and may deviate from the steps described in the text.
- Item reference numbers are used in the overview illustration and refer to the numbers used in the key in the product overview section.
- These characters are intended to specifically draw your attention to certain points when handling the product.
Product-dependent symbols
Symbols on the product
The following symbols can be used on the product:
- Wear eye protection
- Always work with both hands.
- Do not work with the standard guard when carrying out cutting work.
- Rated speed Revolutions per minute Revolutions per minute
- Diameter
- Direct current (DC) The product supports near-field communication (NFC) technology compatible with iOS and Android platforms. Li-ion battery
- Never use the battery as a striking tool. Do not drop the battery. Never use a battery that has suffered an impact or is damaged in any other way.
Product information
Hilti products are designed for professional users and only trained, authorized personnel are permitted to operate, service and maintain the products. This personnel must be specifically informed about the possible hazards. The product and its ancillary equipment can present hazards if used incorrectly by untrained personnel or if used not in accordance with the intended use.
The type designation and serial number are printed on the rating plate.
- Write down the serial number in the table below. You will be required to state the product details when contacting Hilti Service or your local Hilti organization to inquire about the product.
Product information
| Angle grinder | AG 5D-22-125 |
| Generation | 01 |
| Serial no. |
Declaration of conformity
The manufacturer declares, on his sole responsibility, that the product described here complies with the applicable legislation and standards. A copy of the declaration of conformity can be found at the end of this documentation. The technical documentation is filed here: Hilti Entwicklungsgesellschaft mbH | Tool Certification | Hiltistrasse 6 | D-86916 Kaufering, Germany
Safety
General power tool safety warnings
WARNING
Read all safety warnings, instructions, illustrations and specifications provided with this power tool. Failure to follow all instructions listed below may result in electric shock, fire and/or serious injury. Save all warnings and instructions for future reference.
The term “power tool” in the warnings refers to your mains-operated (corded) power tool or battery-operated (cordless) power tool.
Work area safety
- Keep work area clean and well lit. Cluttered or dark areas invite accidents.
- Do not operate power tools in explosive atmospheres, such as in the presence of flammable liquids, gases or dust. Power tools create sparks which may ignite the dust or fumes.
- Keep children and bystanders away while operating a power tool. Distractions can cause you to lose control.
Electrical safety
- Power tool plugs must match the outlet. Never modify the plug in any way. Do not use any adapter plugs with earthed (grounded) power tools. Unmodified plugs and matching outlets will reduce risk of electric shock.
- Avoid body contact with earthed or grounded surfaces, such as pipes, radiators, ranges and refrigerators. There is an increased risk of electric shock if your body is earthed or grounded.
Do not expose power tools to rain or wet conditions. Water entering a power tool will increase the risk of electric shock. - Do not abuse the cord. Never use the cord for carrying, pulling or unplugging the power tool. Keep cord away from heat, oil, sharp edges or moving parts. Damaged or entangled cords increase the risk of electric shock.
- When operating a power tool outdoors, use an extension cord suitable for outdoor use. Use of a cord suitable for outdoor use reduces the risk of electric shock.
- If operating a power tool in a damp location is unavoidable, use a residual current device (RCD) protected supply. Use of an RCD reduces the risk of electric shock.
Personal safety
- Stay alert, watch what you are doing and use common sense when operating a power tool. Do not use a power tool while you are tired or under the influence of drugs, alcohol or medication. A moment of inattention while operating power tools may result in serious personal injury.
- Use personal protective equipment. Always wear eye protection. Protective equipment such as a dust mask, non-skid safety shoes, hard hat or hearing protection used for appropriate conditions will reduce personal injuries.
- Prevent unintentional starting. Ensure the switch is in the off-position before connecting to power source and/or battery pack, picking up or carrying the tool. Carrying power tools with your finger on the switch or energizing power tools that have the switch on invites accidents.
- Remove any adjusting key or wrench before turning the power tool on. A wrench or a key left attached to a rotating part of the power tool may result in personal injury.
- Do not overreach. Keep proper footing and balance at all times. This enables better control of the power tool in unexpected situations.
- Dress properly. Do not wear loose clothing or jewelry. Keep your hair and clothing away from moving parts. Loose clothes, jewelry or long hair can be caught in moving parts.
- If devices are provided for the connection of dust extraction and collection facilities, ensure these are connected and properly used. Use of dust collection can reduce dust-related hazards.
- Do not let familiarity gained from frequent use of tools allow you to become complacent and ignore tool safety principles. A careless action can cause severe injury within a fraction of a second.
Power tool use and care
- Do not force the power tool. Use the correct power tool for your application. The correct power tool will do the job better and safer at the rate for which it was designed.
- Do not use the power tool if the switch does not turn it on and off. Any power tool that cannot be controlled with the switch is dangerous and must be repaired.
- Disconnect the plug from the power source and/or remove the battery pack, if detachable, from the power tool before making any adjustments, changing accessories, or storing power tools. Such preventive safety measures reduce the risk of starting the power tool accidentally.
- Store idle power tools out of the reach of children and do not allow persons unfamiliar with the power tool or these instructions to operate the power tool. Power tools are dangerous in the hands of untrained users.
- Maintain power tools and accessories. Check for misalignment or binding of moving parts, breakage of parts and any other condition that may affect the power tool’s operation. If damaged, have the power tool repaired before use. Many accidents are caused by poorly maintained power tools.
- Keep cutting tools sharp and clean. Properly maintained cutting tools with sharp cutting edges are less likely to bind and are easier to control.
- Use the power tool, accessories and tool bits etc. in accordance with these instructions, taking into account the working conditions and the work to be performed. Use of the power tool for operations different from those intended could result in a hazardous situation.
- Keep handles and grasping surfaces dry, clean and free from oil and grease. Slippery handles and grasping surfaces do not allow for safe handling and control of the tool in unexpected situations.
Battery tool use and care
- Recharge only with the charger specified by the manufacturer. A charger that is suitable for one type of battery pack may create a risk of fire when used with another battery pack.
- Use power tools only with specifically designated battery packs. Use of any other battery packs may create a risk of injury and fire.
- When battery pack is not in use, keep it away from other metal objects, like paper clips, coins, keys, nails, screws or other small metal objects, that can make a connection from one terminal to another. Shorting the battery terminals together may cause burns or a fire.
- Under abusive conditions, liquid may be ejected from the battery; avoid contact. If contact accidentally occurs, flush with water. If liquid contacts eyes, additionally seek medical help. Liquid ejected from the battery may cause irritation or burns.
- Do not use a battery pack or tool that is damaged or modified. Damaged or modified batteries may exhibit unpredictable behaviour resulting in fire, explosion or risk of injury.
Do not expose a battery pack or tool to fire or excessive temperature. Exposure to fire or temperature above 130° C (265 °F) may cause explosion. - Follow all charging instructions and do not charge the battery pack or tool outside the temperature range specified in the instructions. Charging improperly or at temperatures outside the specified range may damage the battery and increase the risk of fire.
Service
- Have your power tool serviced by a qualified repair person using only identical replacement parts. This will ensure that the safety of the power tool is maintained.
- Never service damaged battery packs. Service of battery packs should only be performed by the manufacturer or authorized service providers.
Safety warnings for all operations
Safety warnings common for grinding, sanding, wire brushing or cutting-off operations:
- This power tool is intended to function as a grinder, sander, wire brush, hole cutter or cut-off tool. Read all safety warnings, instructions, illustrations and specifications provided with this power tool. Failure to follow all instructions listed below may result in electric shock, fire and/or serious injury.
- Operations such as polishing are not to be performed with this power tool. Operations for which the power tool was not designed may create a hazard and cause personal injury.
- Do not convert this power tool to operate in a way which is not specifically designed and specified by the tool manufacturer. Such a conversion may result in a loss of control and cause serious personal injury.
- Do not use accessories which are not specifically designed and specified by the tool manufacturer. Just because the accessory can be attached to your power tool, it does not assure safe operation.
- The rated speed of the accessory must be at least equal to the maximum speed marked on the power tool. Accessories running faster than their rated speed can break and fly apart.
- The outside diameter and the thickness of your accessory must be within the capacity rating of your power tool. Incorrectly sized accessories cannot be adequately guarded or controlled.
- The dimensions of the accessory mounting must fit the dimensions of the mounting hardware of the power tool. Accessories that do not match the mounting hardware of the power tool will run out of balance, vibrate excessively and may cause loss of control.
- Do not use a damaged accessory. Before each use inspect the accessory such as abrasive wheels for chips and cracks, backing pad for cracks, tear or excess wear, wire brush for loose or cracked wires. If power tool or accessory is dropped, inspect for damage or install an undamaged accessory. After inspecting and installing an accessory, position yourself and bystanders away from the plane of the rotating accessory and run the power tool at maximum no-load speed for one minute. Damaged accessories will normally break apart during this test time.
- Wear personal protective equipment. Depending on application, use face shield, safety goggles or safety glasses. As appropriate, wear dust mask, hearing protectors, gloves and workshop apron capable of stopping small abrasive or workpiece fragments. The eye protection must be capable of
- stopping flying debris generated by various applications. The dust mask or respirator must be capable of filtrating particles generated by the particular application. Prolonged exposure to high intensity noise may cause hearing loss.
- Keep bystanders a safe distance away from work area. Anyone entering the work area must wear personal protective equipment. Fragments of workpiece or of a broken accessory may fly away and cause injury beyond immediate area of operation.
- Hold the power tool by insulated gripping surfaces only, when performing an operation where the cutting tool may contact hidden wiring. Contact with a “live” wire will also make exposed metal parts of the power tool “live” and could give the operator an electric shock.
- Position the cord clear of the spinning accessory. If you lose control, the cord may be cut or snagged and your hand or arm may be pulled into the spinning accessory.
- Never lay the power tool down until the accessory has come to a complete stop. The spinning accessory may grab the surface and pull the power tool out of your control.
- Do not run the power tool while carrying it at your side. Accidental contact with the spinning accessory could snag your clothing, pulling the accessory into your body.
- Regularly clean the power tool’s air vents. The motor’s fan will draw the dust inside the housing and excessive accumulation of powdered metal may cause electrical hazards.
- Do not operate the power tool near flammable materials. Sparks could ignite these materials.
- Do not use accessories that require liquid coolants. Using water or other liquid coolants may result in electrocution or shock.
Kickback and related warnings
Kickback is a sudden reaction to a pinched or snagged rotating wheel, backing pad, brush or any other accessory. Pinching or snagging causes rapid stalling of the rotating accessory which in turn causes the uncontrolled power tool to be forced in the direction opposite of the accessory’s rotation at the point of the binding.
For example, if an abrasive wheel is snagged or pinched by the workpiece, the edge of the wheel that is entering into the pinch point can dig into the surface of the material causing the wheel to climb out or kick out. The wheel may either jump toward or away from the operator, depending on direction of the wheel’s movement at the point of pinching. Abrasive wheels may also break under these conditions.
Kickback is the result of power tool misuse and / or incorrect operating procedures or conditions and can be avoided by taking proper precautions as given below.
- Maintain a firm grip with both hands on the power tool and position your body and arms to allow you to resist kickback forces. Always use auxiliary handle, if provided, for maximum control over kickback or torque reaction during start-up. The operator can control torque reactions or kickback forces, if proper precautions are taken.
- Never place your hand near the rotating accessory. Accessory may kickback over your hand.
- Do not position your body in the area where power tool will move if kickback occurs. Kickback will propel the tool in direction opposite to the wheel’s movement at the point of snagging.
- Use special care when working corners, sharp edges etc. Avoid bouncing and snagging the accessory. Corners, sharp edges or bouncing have a tendency to snag the rotating accessory and cause loss of control or kickback.
- Do not attach a saw chain woodcarving blade, segmented diamond wheel with a peripheral gap greater than 10 mm or toothed saw blade. Such blades create frequent kickback and loss of control.
Safety warnings specific for grinding and cutting-off operations:
- Use only wheel types that are specified for your power tool and the specific guard designed for the selected wheel. Wheels for which the power tool was not designed cannot be adequately guarded and are unsafe.
- The grinding surface of center depressed wheels must be mounted below the plane of the guard lip. An improperly mounted wheel that projects through the plane of the guard lip cannot be adequately protected.
- The guard must be securely attached to the power tool and positioned for maximum safety, so the least amount of wheel is exposed towards the operator. The guard helps to protect the operator from broken wheel fragments, accidental contact with wheel and sparks that could ignite clothing.
- Wheels must be used only for specified applications. For example: do not grind with the side of cut-off wheel. Abrasive cut-off wheels are intended for peripheral grinding, side forces applied to these wheels may cause them to shatter.
- Always use undamaged wheel flanges that are of correct size and shape for your selected wheel. Proper wheel flanges support the wheel thus reducing the possibility of wheel breakage. Flanges for cut-off wheels may be different from grinding wheel flanges.
- Do not use worn down wheels from larger power tools. A wheel intended for larger power tool is not suitable for the higher speed of a smaller tool and may burst.
- When using dual purpose wheels always use the correct guard for the application being performed. Failure to use the correct guard may not provide the desired level of guarding, which could lead to serious injury.
Additional safety warnings specific for cutting-off operations:
- Do not “jam” the cut-off wheel or apply excessive pressure. Do not attempt to make an excessive
depth of cut. Overstressing the wheel increases the loading and susceptibility to twisting or binding of the wheel in the cut and the possibility of kickback or wheel breakage. - Do not position your body in line with and behind the rotating wheel. When the wheel, at the point of operation, is moving away from your body, the possible kickback may propel the spinning wheel and the power tool directly at you.
- When the wheel is binding or when interrupting a cut for any reason, switch off the power tool and hold it motionless until the wheel comes to a complete stop. Never attempt to remove the cut-off wheel from the cut while the wheel is in motion otherwise kickback may occur. Investigate and take corrective action to eliminate the cause of wheel binding.
- Do not restart the cutting operation in the workpiece. Let the wheel reach full speed and carefully re-enter the cut. The wheel may bind, walk up or kickback if the power tool is restarted in the workpiece.
- Support panels or any oversized workpiece to minimize the risk of wheel pinching and kickback. Large workpieces tend to sag under their own weight. Supports must be placed under the workpiece near the line of cut and near the edge of the workpiece on both sides of the wheel.
- Use extra caution when making a “pocket cut” into existing walls or other blind areas. The protruding wheel may cut gas or water pipes, electrical wiring or objects that can cause kickback.
- Do not attempt to do curved cutting. Overstressing the wheel increases the loading and susceptibility to twisting or binding of the wheel in the cut and the possibility of kickback or wheel breakage, which can lead to serious injury.
Safety warnings specific for sanding operations:
- Use proper sized sanding disc paper. Follow manufacturers recommendations, when selecting sanding paper. Larger sanding paper extending too far beyond the sanding pad presents a laceration hazard and may cause snagging, tearing of the disc or kickback.
Safety warnings specific for wire brushing operations:
- Be aware that wire bristles are thrown by the brush even during ordinary operation. Do not overstress the wires by applying excessive load to the brush. The wire bristles can easily penetrate light clothing and / or skin.
- If the use of a guard is specified for wire brushing, do not allow any interference of the wire wheel or brush with the guard. Wire wheel or brush may expand in diameter due to work load and centrifugal forces.
Additional safety instructions
Personal safety
- Use the product and accessories only when they are in perfect working order.
- Never tamper with or modify the product or accessories in any way.
- Wear ear protectors. Exposure to noise can cause hearing loss.
- Always hold the product with both hands on the grips provided.
- Keep the grips dry, clean and free from oil and grease.
- Respiratory protection must be worn if the product is used without a dust removal system for work that creates dust.
- Take frequent breaks and do physical exercises to improve the blood circulation in your fingers. High vibration during long periods of work can lead to disorders of the blood vessels and nervous system in the fingers, hands and wrists.
- Do not touch rotating parts. Switch the product on only after it is in position at the workpiece. Touching rotating parts, especially rotating accessory tools, can result in injury.
- Wait until the product stops completely before you lay it down.
- Keep the air vents clear at all times. Risk of burn injuries due to blocked air vents!
- The product is not intended for use by debilitated persons who have received no special training. Keep the product out of reach of children.
- Dust produced by grinding, sanding, cutting and drilling can contain dangerous chemicals. Some examples are: lead or lead-based paints; brick, concrete and other masonry products, natural stone and other products containing silicates; certain types of wood, such as oak, beech and chemically treated wood; asbestos or materials that contain asbestos. Determine the exposure of the operator and bystanders by means of the hazard classification of the materials to be worked. Implement the necessary measures to restrict exposure to a safe level, for example by the use of a dust collection system or by the wearing of suitable respiratory protection. The general measures for reducing exposure include:
- working in an area that is well ventilated,
- avoidance of prolonged contact with dust,
- directing dust away from the face and body,
- wearing protective clothing and washing exposed areas of the skin with water and soap.
- The user and the other persons in the vicinity must wear eye protection, a hard hat and ear protection while the product is in use.
- Wear protective gloves when changing the accessory tool. Touching the accessory tool can result in cuts and burns.
- Risk of injury by falling tools and/or accessories. Before starting work, check that the battery and installed accessories are secure.
- If the product detects operation beyond its limits or a discharged battery, there is a possibility that the tool will no longer be braked by the motor.
- Do not attach a belt hook to this product.
Power tool use and care
- Grinding discs must be stored and handled carefully in accordance with the manufacturer’s instructions.
- Never use the power tool without the guard (hood).
- Secure the workpiece. Use clamps or a bench vise to hold the workpiece in position. The workpiece is thus held more securely than by hand and both hands remain free to operate the product.
- Do not use cut-off wheels for grinding.
- Tighten the accessory tool and flange securely. If the accessory tool and flange are not tightened securely, the accessory tool may work loose from the arbor due to the braking effect of the motor after switching off.
Electrical safety
- Before beginning work, check the working area for concealed electric cables or gas and water pipes. External metal parts of the product could give you an electric shock or cause an explosion if you accidentally damage an electric cable or a gas or water pipe.
- Dirty or dusty products that have been used frequently for work on conductive materials should be checked at regular intervals by Hilti Service. Dust (especially dust from conductive materials) or dampness adhering to the surface of the power tool may, under unfavorable conditions, lead to electric shock.
Workplace
- Apply appropriate safety measures at the opposite side of the workpiece in work that involves breaking through. Pieces of debris could drop out and / or fall down and injure other persons.
- Slits cut in load-bearing walls of buildings or other structures may influence the statics of the structure, especially when steel reinforcing bars or load-bearing components are cut through. Consult the responsible structural engineer, architect or person in charge of the building project before beginning the work.
Battery use and care
- Comply with the following safety instructions for the safe handling and use of Li-ion batteries.
Failure to comply can lead to skin irritation, severe corrosive injury, chemical burns, fire and/or explosion. - Use only batteries that are in perfect working order. Treat batteries with care in order to avoid damage and prevent leakage of fluids that are extremely harmful to health!
- Do not under any circumstances modify or tamper with batteries! Do not disassemble, crush or incinerate batteries and do not subject them to temperatures over 80 °C
(176 °F). - Never use or charge a battery that has suffered an impact or been damaged in any other way. Check your batteries regularly for signs of damage.
- Never use recycled or repaired batteries. Never use the battery or a battery-operated power tool as a striking tool.
- Never expose batteries to the direct rays of the sun, elevated temperature, sparking, or open flame. This can lead to explosions.
- Do not touch the battery poles with your fingers, tools, jewelry, or other electrically conductive objects. This can damage the battery and also cause material damage and personal injury.
- Keep batteries away from rain, moisture and liquids. Penetrating moisture can cause short circuits, electric shock, burns, fire and explosions.
- Use only chargers and power tools approved for the specific battery type. Read and follow the relevant operating instructions.
- Do not use or store the battery in explosive environments.
- If the battery is too hot to touch, it may be defective. Put the battery in a place where it is clearly visible and where there is no risk of fire, at an adequate distance from flammable materials. Allow the battery to cool down. If it is still too hot to touch after an hour, the battery is faulty. Consult Hilti Service or read the document entitled “Instructions on safety and use for Hilti Li-ion batteries”.
Observe the special guidelines applicable to the transport, storage and use of lithium-ion batteries. page 17
Read the instructions on safety and use of Hilti Li-ion batteries that you can access by scanning the QR code at the end of these operating instructions.
Description
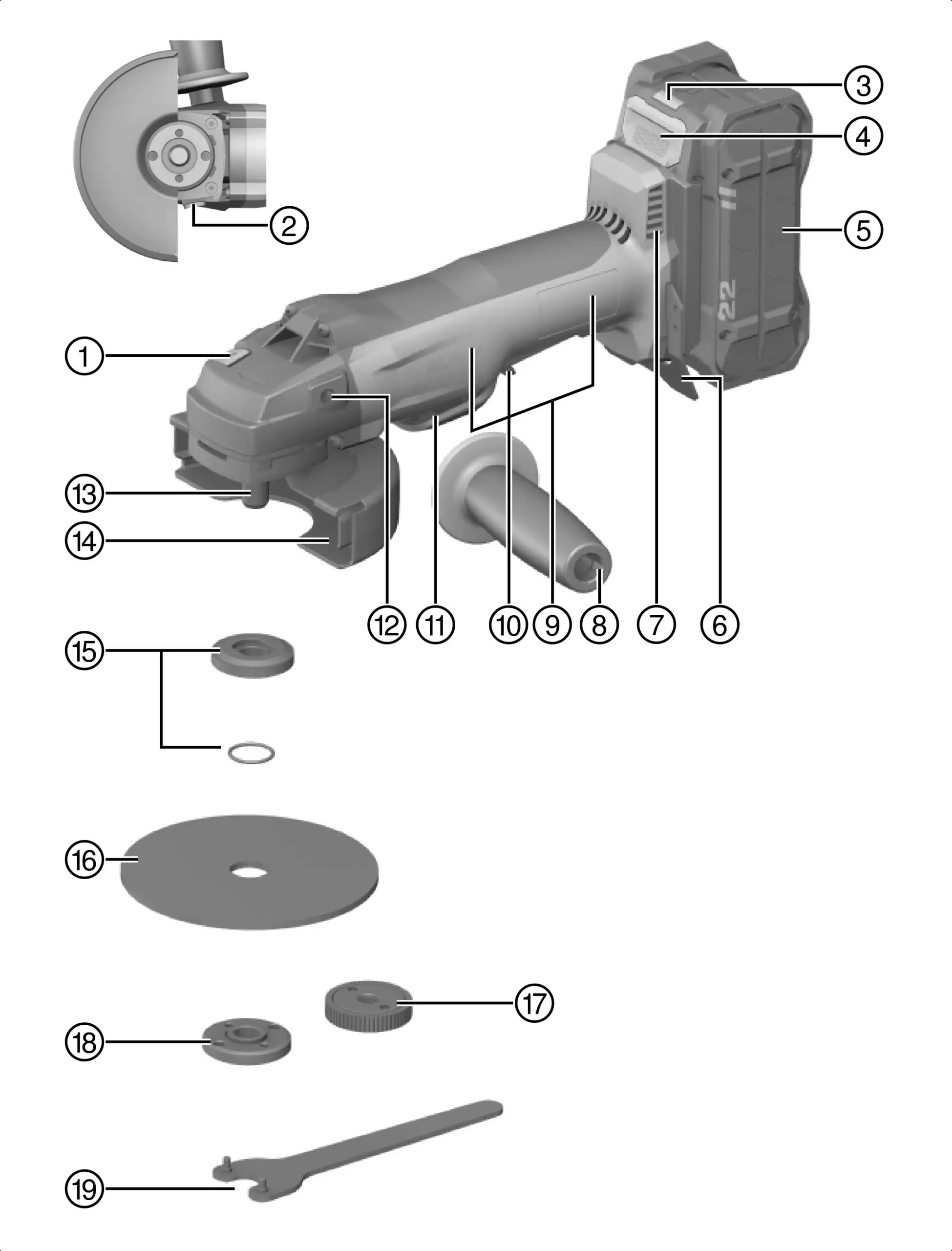
Product overview

- Guard release button
- Spindle lock button
- Battery status indicator
- Battery release button
- Battery
- ( Spark guard )
- Air vents
- Vibration-absorbing side handle
- Grip surface
- Switch-on interlock
- On/off switch
- Threaded bushing for the side handle
- Spindle
- Standard guard with front cover
- Clamping flange with O-ring
- Abrasive cut-off wheel / abrasive grinding wheel
- Kwik lock clamping nut (optional)
- Clamping nut
- Pin wrench
Intended use
The product described is a hand-held cordless angle grinder. It is designed for cutting and grinding metal and mineral materials, brushing, sanding and for hole cutting in tiles, all without use of water. The tool can be used for cutting, slitting and grinding mineral materials only in combination with the appropriate guard. A dust removal hood together with a suitable Hilti vacuum cleaner must be used for working on mineral materials such as concrete or stone.
- For this product, use only Hilti Nuron lithium-ion batteries of the B 22 series. For optimum performance, Hilti recommends the batteries stated in the table at the end of these operating instructions for this product.
- For these batteries, use only Hilti chargers of the type series stated in the table at the end of these operating instructions.
Items supplied
Angle grinder, side handle, standard guard, front cover, clamping flange, clamping nut, pin wrench, operating instructions. Other system products approved for use with this product can be found at your local Hilti Store or at: www.hilti.group
Motor protection function
The motor protection function monitors current consumption and motor temperature and prevents the product from overheating. If the motor is overloaded through application of excessive working pressure, the product’s performance drops noticeably or it might stall completely.
If the power tool stalls or slows significantly due to overloading, release the pressure applied to the product and then allow it to run under no load for approx. 30 seconds.
Integrated brake
The integrated brake reduces the time it takes until the accessory tool stops rotating after switching off.
This functions correctly only as long as the product is supplied with electric current. Braking time varies, depending on the selected accessory tool.
Front cover
When grinding with straight grinding wheels and cutting with cut-off wheels in metalworking applications, use the front cover with standard guard.
DC-EX 125/5″C compact dust hood for cutting (accessory)
When cutting mineral materials with diamond cut-off wheels, use the DC-EX 125/5″ C compact hood.
CAUTION Use of this hood for working on metal is prohibited.
DG-EX 125/5″ dust hood for grinding (accessory)
The grinding system is suitable only for occasional use with diamond cup wheels for grinding mineral materials. CAUTION Use of this hood for working on metal is prohibited.
Status indicators of the Liion battery
Hilti Nuron Li-ion batteries can indicate state of charge, fault messages and the battery’s state of health.
Indicators for state of charge and fault messages
WARNING Risk of injury by a falling battery!
- If the release button is pressed with a battery inserted in the product, subsequently check that the battery is correctly re-engaged and secure.
Short-press the release button of the battery to get whichever of the following status indications is applicable at the time.
State of charge and, if applicable, faults are indicated constantly as long as the connected product is switched on.
| Status | Meaning |
| Four (4) LEDs show constantly green | State of charge: 100 % to 71 % |
| Three (3) LEDs show constantly green | State of charge: 70 % to 51 % |
| Two (2) LEDs show constantly green | State of charge: 50 % to 26 % |
| One (1) LED shows constantly green | State of charge: 25 % to 10 % |
| One (1) LED slow-flashes green | State of charge: < 10 % |
| One (1) LED quick-flashes green | The Li-ion battery is completely discharged. Recharge the battery. If the LED again starts quick-flashing after the battery has been charged, consult Hilti Service. |
| One (1) LED quick-flashes yellow | The Li-ion battery or the product in which it is inserted is overloaded, too hot or too cold, or experiencing some other fault. Bring the product and the battery to the recommended working temperature and do not overload the product when it is in use. |
| One (1) LED shows yellow | The Li-ion battery and the product in which it is inserted are not compatible. Consult Hilti Service. |
| One (1) LED quick-flashes red | The Li-ion battery is locked and cannot be used. Consult Hilti Service. |
Indicators showing the battery’s state of health
To check the battery’s state of health, press the release button and hold it down for longer than three seconds. The system does not detect a potential malfunction of the battery due to misuse, for example battery dropped or pierced, external heat damage, etc.
| Status | Meaning |
| All LEDs show in sequence, followed by one (1) LED showing constantly green. | The battery can remain in use. |
| All LEDs show in sequence, followed by one (1) LED quick-flashing yellow. | The check to ascertain the battery’s state of health did not complete. Repeat the procedure, or consult Hilti Service. |
| All LEDs show in sequence, followed by one (1) LED showing constantly red. | If a connected product can still be used, the remaining battery capacity is below 50 %. If a connected product can no longer be used, the battery has reached the end of its useful life and has to be replaced. Consult Hilti Service. |
Consumables
Use only synthetic resin-bonded, fiber-reinforced wheels with a maximum Ø of 125 mm (5) approved for a rotational speed of at least 11000 rpm and a peripheral speed of 80 m/s.
The maximum permissible grinding wheel thickness is 6.4 mm and the maximum permissible cut-off wheel thickness is 3 mm.
ATTENTION! When cutting or slitting with abrasive cut-off wheels always use the standard guard with the additional front cover, or a fully enclosing dust hood.
| Type | Application | Designation | Material |
| Abrasive cut-off wheel | Cutting, slitting | ACD | Metal |
| Diamond cut-off wheel | Cutting, slitting | DC-TP, DCD (SPX, SP, P) | Mineral |
| Abrasive grinding wheel | Rough grinding | AGD, AFD, AND | Metal |
| Diamond grinding wheel | Rough grinding | DGCW (SPX, SP, P) | Mineral |
| Wire brush | Wire brushes | 3CS, 4CS, 3SS, 4SS | Metal |
| Diamond core bit | Drilling in tiles | DDM14 | Mineral |
| Abrasive resin-fiber wheel | Rough grinding | AP-D | Metal |
Suitability of wheels for the equipment used
| Item | Equipment | ACD | AGD, AFD, AND | DG-CW (SPX, SP, P) | DC-TP, DC-D (SPX, SP, P) | AP-D | 3CS, 4CS, 3SS, 4SS, DD-M14 |
| A | Guard | X | X | X | X | X | X |
| B | Front cover (in combination with A) | X | — | — | X | — | — |
| C | Dust hood (grinding) DGEX 125⁄5″ | — | — | X | — | — | — |
| D | Dust hood (cutting) DCEX 125⁄5″C (in combination with A) | — | — | — | X | — | — |
| E | Side handle | X | X | X | X | X | X |
| F | Clamping nut | X | X | X | X | — | — |
| G | Clamping flange | X | X | X | X | — | — |
| H | Kwik lock (optional instead of H) | X | X | — | X | — | — |
| I | Clamping nut for abrasive resin-fiber wheel | — | — | — | — | X | — |
| J | Support plate | — | — | — | — | X | — |
Technical data
| Rated voltage | 21.6 V |
| Rated speed | 9,000 /min |
| Maximum wheel diameter | 125 mm |
| Weight in accordance with EPTA Procedure 01, without battery | 2.1 kg |
| Thread diameter | M14 |
| Spindle length | 22 mm |
| Ambient temperature for operation | −17 ℃ … 60 ℃ |
| Storage temperature | −20 ℃ … 70 ℃ |
Battery
| Battery operating voltage | 21.6 V |
| Weight, battery | See the end of these operating instructions |
| Ambient temperature for operation | −17 ℃ … 60 ℃ |
| Storage temperature | −20 ℃ … 40 ℃ |
| Battery charging starting temperature | −10 ℃ … 45 ℃ |
Noise information and vibration values in accordance with EN 60745
The sound pressure and vibration values given in these instructions were measured in accordance with a standardized test and can be used to compare one power tool with another. They can also be used for a preliminary assessment of exposure. The data given represents the main applications of the power tool. However, if the power tool is used for different applications, with different accessory tools, or is poorly maintained, the data can vary. This can significantly increase exposure over the total working period. An accurate estimation of exposure should also take into account the times when the tool is switched off, or when it is running but not actually being used for a job. This can significantly reduce exposure over the total working period. Identify additional safety measures to protect the operator from the effects of noise and/or vibration, for example: Maintaining the power tool and accessory tools, keeping the hands warm, organization of work patterns.
Noise information
| Emission sound pressure level (LpA) | 85 dB(A) |
| Uncertainty for the sound pressure level (KpA) | 3 dB(A) |
| Sound power level (LWA) | 96 dB(A) |
| Uncertainty for the sound power level (KWA) | 3 dB(A) |
Vibration information
Other applications, such as cutting, may produce vibration values that deviate from the given values.
| AG 5D-22 | ||
| Surface grinding with the vibration-absorbing side handle (ah,AG) | B 2255 | 5.4 m/s² |
| B 22170 | 4.6 m/s² | |
| Sanding with sandpaper with the vibration-absorbing side handle (ah,DS) | B 2255 | 3.5 m/s² |
| B 22170 | 3.8 m/s² | |
| Uncertainty (K) | 1.5 m/s² | |
Preparations at the workplace
WARNING
Risk of injury by inadvertent starting!
- Before inserting the battery, make sure that the product is switched off.
- Remove the battery before making any adjustments to the power tool or before changing accessories.
Observe the safety instructions and warnings in this documentation and on the product.
Charging the battery
- Before charging the battery, read the operating instructions for the charger.
- Make sure that the contacts on the battery and the contacts on the charger are clean and dry.
- Use an approved charger to charge the battery. page 8
Inserting the battery
WARNING Risk of injury by short circuit or falling battery!
- Before inserting the battery, make sure that the contacts on the battery and the contacts on the product are free of foreign matter.
- Make sure that the battery always engages correctly.
- Charge the battery fully before using it for the first time.
- Push the battery into the product until it engages with an audible click.
- Check that the battery is seated securely.
Removing the battery
- Press the battery release button.
- Remove the battery from the product.
Installing the Hilti retaining strap (optional)
When working with the product, you must comply with national regulations for working at heights. Comply with the operating instructions of the retaining strap.
- Position the two tabs of the retaining strap accurately on the spark guard.
- Secure the retaining strap with the corresponding screws through the holes provided in the spark guard. 3. Insert the battery. page 12
Fall arrest
WARNING Risk of injury by falling tool and/or accessory!
- Use only the Hilti tool tether recommended for your product.
- Prior to each use, always check the attachment point of the tool tether for possible damage.
Comply with the national regulations for working at heights.
As drop arrester for this product, use only a combination of the Hilti retaining strap and the Hilti tool tether #2261970.
- Secure the retaining strap to the installation openings for accessories. Check that it holds securely.
- Secure one carabiner of the tool tether to the retaining strap and secure the second carabiner to a load-bearing structure. Check that both carabiners hold securely. Comply with the operating instructions of the Hilti retaining strap and those of the Hilti tool tether.
Fitting the side handle
- Screw the side handle into one of the threaded bushings provided.
Fitting or removing the guard
CAUTION Risk of injury. The accessory tool may be hot or have sharp edges.
- Wear protective gloves when fitting, removing or adjusting the accessory tool or other parts and when troubleshooting.
Observe the instructions for fitting the applicable guard.
Fitting the guard
The guard has coded locating lugs to ensure that only a guard suitable for use with the product can be installed. The coded locating lugs of the guard fit into the guard mount on the product.
- Fit the guard on to the arbor collar so that the two triangular marks on the guard and on the product are in alignment.
- Press the guard on to the drive spindle collar.
- Press the guard release button.
- Rotate the guard until it engages and the guard release button jumps back into its original position.
Adjusting the guard
Press the guard release button and then rotate the guard until it engages in the desired position.
Removing the hood
- Press the guard release button and turn the guard until the triangular marks on the guard and on the product are in alignment.
- Remove the guard.
Fitting or removing the front cover
The front cover, when used, is clipped onto the guard.
- Position the front cover with the closed side on the standard guard and push it on until it engage
- To remove it, release the catch for the front cover and then lift the front cover away from the standard guard.
Positioning the DC-EX 125/5″C dust hood (for cutting)
Position the compact guard so that the on/off switch remains easily accessible and operable at all times.
Fitting and removing accessory tools
WARNING Risk of injury. The accessory tool may work loose due to the braking effect of the motor.
- Wait until the accessory tool has come to a standstill before touching or gripping the accessory tool or the clamping nut.
- Secure the accessory tool by tightening the clamping flange and clamping nut firmly so that no parts work loose from the spindle due to the braking effect of the motor.
CAUTION Risk of injury. The accessory tool may be hot.
- Wear protective gloves when changing the accessory tool.
Diamond wheels must be replaced when their cutting or grinding performance drops significantly. This generally is the case when the segments reach a height of less than 2 mm. Other wheels must be replaced when their cutting performance drops significantly or other parts of the angle grinder (not the wheel) come into contact with the material you are working on. Abrasive wheels must be replaced when their expiry date has been reached.
Fitting an accessory tool
- Check that the O-ring is in place in the clamping flange and that it is undamaged. Replace the O-ring if it is missing or damaged.
- Fit the clamping flange onto the drive spindle (keyed fit to prevent slipping/rotation).
- Fit the accessory tool.
- Screw on the clamping nut corresponding to the type of accessory tool fitted.
- Press the spindle lock button and hold it in this position.
- Use the pin wrench to tighten the clamping nut securely, then release the spindle lock button and remove the wrench.
Removing the accessory tool
WARNING Risk of breakage and irreparable damage.
If the spindle lock button is pressed while the spindle is rotating, the accessory tool can detach from the power tool. Press the spindle lock button only when the spindle has stopped rotating.
- Press the spindle lock button and hold it in this position.
- Release the clamping nut by gripping it with the wrench and turning the nut counterclockwise.
- Release the spindle lock button and remove the accessory tool.
Fitting an accessory tool secured with a Kwik lock nut
WARNING Risk of breakage.
Heavy wear (abrasion) may cause the Kwik lock nut to break.
- When working with the power tool, make sure that the Kwik lock nut doesn’t come into contact with the working surface.
- Do not use a damaged Kwik lock nut.
The optional Kwik lock nut can be used instead of the standard clamping nut. Accessory tools (wheels etc.) can then be changed without need for additional tools (keyless system).
- Clean the clamping flange and the quick-release clamping nut.
- Check that the O-ring is in place in the clamping flange and that it is undamaged. Replace the O-ring if it is missing or damaged.
- Fit the clamping flange on to the spindle (keyed fit to prevent slipping and rotation).
- Fit the accessory tool.
- Screw on the Kwik lock nut until it is seated against the accessory tool. The name Kwik lock should be visible when the nut is screwed on.
- Press the spindle lock button and hold it in this position.
- Firmly turn the accessory tool clockwise by hand until the Kwik lock nut is tightened securely and then release the spindle lock button.
Removing an accessory tool secured with a Kwik lock nut
WARNING Risk of breakage and irreparable damage.
If the spindle lock button is pressed while the spindle is rotating, the accessory tool can detach from the power tool.
- Press the spindle lock button only when the spindle has stopped rotating.
- Press the spindle lock button and hold it in this position.
- Release the Kwik lock nut by turning it counterclockwise by hand.
- If the Kwik lock nut cannot be released by turning it by hand, use a pin wrench to turn the nut in a counterclockwise direction.
Never use a pipe wrench! A pipe wrench could damage the Kwik lock nut. - Release the spindle lock button and remove the accessory tool.
Installing core bit
- Fit the side handle. page 13
- Fit the guard. page 13
- Place the core bit in position and tighten it hand-tight.
- Press the spindle lock button and hold it in this position
- Tighten the core bit with a suitable open-end wrench.
Installing wire brush
- Fit the side handle. page 13
- Fit the guard. page 13
- Place the wire brush in position and tighten it hand-tight.
- Press and hold down the spindle lock button
- Tighten the wire brush with a suitable open-end wrench.
Fitting the abrasive resin-fiber wheel
- Fit the side handle. page 13 .
- Fit the guard. page 13
- Fit the support plate and the abrasive resin-fiber wheel, screw on the clamping nut and tighten it securely.
- Press and hold down the spindle lock button.
- Use the pin wrench to tighten the clamping nut.
Operation
Grinding
CAUTION Risk of injury. The accessory tool may suddenly stick or stall.
- Use the product with the side handle (or optional hoop handle) fitted and always hold the product securely with both hands.
Do not allow the accessory tool to jam and avoid excessive pressure on the product.
Cutting
- When cutting, keep the rate of advance moderate and do not tilt the product or the cut-off wheel to either side (working position is at approx. 90° to the cutting plane).
For best results when cutting profiles and small rectangular tube, start cutting with the cut-off wheel at the smallest cross-section.
Rough grinding
WARNING Risk of injury. The abrasive cut-off wheel could shatter and flying fragments may cause injury.
- Never use abrasive cut-off wheels for grinding.
- Move the product to and for while maintaining a 5° to 30° angle of attack and applying moderate pressure.
- This will avoid overheating and discoloration of the workpiece and help ensure an even surface finish.
Switching on (tool equipped with switch-on interlock)
The on / off switch with switch-on interlock gives you full control of the switch function and avoids unintentional starting of the product.
- Push the switch-on interlock forward. The on/off switch is unlocked.
- Press the on/off switch as far as it will go. The power tool’s motor runs at no-load speed.
Switching off, on/off switch with built-in switch-on interlock
Release the on/off switch. The switch-on interlock jumps automatically into the locked position.
Care and maintenance
WARNING Risk of injury with battery inserted ! Always remove the battery before carrying out care and maintenance tasks!
DANGER Electric shock due to breakdown of protective insulation. When working on metal under extreme conditions, conductive dust (e.g. metal, carbon fiber) may accumulate inside the power tool, thereby adversely affecting the protective insulation.
- Use a stationary dust extraction system when working under extreme conditions.
- Clean the air vents frequently.
Care of the product
- Carefully remove stubborn dirt
- Use only a slightly damp cloth to clean the housing. Do not use cleaning agents containing silicone as
these can attack the plastic parts. - Use a dry, clean cloth to clean the contacts of the product.
Care of the Liion batteries
- Never use a battery with clogged air vents. Clean the air vents carefully using a dry, soft brush
- Avoid unnecessary exposure of the battery to dust and dirt. Never expose the battery to high levels of
moisture (e.g. by being dipped in water or left in the rain). If a battery has been soaked by moisture, treat it as a damaged battery. Isolate it in a non-flammable container and consult Hilti Service. - Keep the battery free of extraneous oil and grease. Do not permit dust or dirt to accumulate unnecessarily on the battery. Clean the battery with a dry, soft brush or a clean, dry cloth. Do not use cleaning agents containing silicone as these can attack the plastic parts. Do not touch the contacts of the battery and do not remove the factory-applied grease from the contacts.
- Use only a slightly damp cloth to clean the housing. Do not use cleaning agents containing silicone as these can attack the plastic parts.
Maintenance
- Check all visible parts and controls for signs of damage at regular intervals and make sure that they all function correctly.
- Do not use the product if signs of damage are found or if parts malfunction. Immediately have the product repaired by Hilti Service.
- After cleaning and maintenance, install all guards and protective devices and check that they are in full working order.
To help ensure safe and reliable operation, use only genuine Hilti spare parts and consumables. Spare parts, consumables and accessories approved by Hilti for use with your product can be found at your Hilti Store or online at: www.hilti.group
Transport and storage of cordless tools and batteries
Transport
CAUTION Accidental starting during transport !
Always transport your products with the batteries removed!
- Remove the battery/batteries.
- Never transport batteries loose and unprotected. During transport, batteries should be protected from excessive shock and vibration and isolated from any conductive materials or other batteries that may come in contact with the terminals and cause a short circuit. Comply with the locally applicable regulations for transporting batteries.
- Do not send batteries through the mail. Consult your shipper for instructions on how to ship undamaged batteries.
- Prior to each use and before and after prolonged transport, check the product and the batteries for damage.
Storage
WARNING Accidental damage caused by defective or leaking batteries !
Always store your products with the batteries removed!
- Store the product and the batteries in a cool and dry place. Comply with the temperature limits stated in the technical data.
- Do not store batteries on the charger. Always remove the battery from the charger when the charging operation has completed.
- Never leave batteries in direct sunlight, on sources of heat, or behind glass.
- Store the product and batteries where they cannot be accessed by children or unauthorized persons.
- Prior to each use and before and after prolonged storage, check the product and the batteries for damage.
Troubleshooting
If a problem occurs, always observe the charge-status and fault indicator of the battery. See the section headed Status indicators of the Liion battery.
If the trouble you are experiencing is not listed in this table or you are unable to rectify the problem by yourself, contact Hilti Service.
| Trouble or fault | Possible cause | Action to be taken |
| The battery runs down more quickly than usual. | Very low ambient temperature. | Allow the battery to warm up slowly to room temperature. |
| The battery doesn’t engage with an audible click. | The retaining lug on the battery is dirty. | Clean the retaining lug and re-insert the battery. |
| The product or battery gets very hot. | Electrical fault | Switch the product off immediately, remove the battery, keep it under observation, allow it to cool down and contact Hilti Service. |
| Clogged air vents | Regularly clean the air vents. | |
| Product does not develop full power. | A battery with inadequate capacity was used. | Use a battery with adequate capacity. |
| The motor has no braking effect. | Battery is discharged. | Change the battery and charge the empty battery. |
| Product is momentarily overloaded. | Release the control switch and then press it again. |
Disposal
WARNING Risk of injury due to incorrect disposal! Health hazards due to escaping gases or liquids.
- DO NOT send batteries through the mail!
- Cover the terminals with a non-conductive material (such as electrical tape) to prevent short circuiting.
- Dispose of your battery out of the reach of children.
- Dispose of the battery at your Hilti Store, or consult your local governmental garbage disposal or public health and safety resources for disposal instructions.
Most of the materials from which Hilti products are manufactured can be recycled. The materials must be correctly separated before they can be recycled. In many countries, your old tools, machines or appliances can be returned to Hilti for recycling. Ask Hilti Service or your Hilti sales representative for further information.
- Do not dispose of power tools, electronic equipment or batteries as household waste!
Manufacturer’s warranty
Please contact your local Hilti representative if you have questions about the warranty conditions.
Further information
For more information on operation, technology, environment and recycling, follow this link: qr.hilti.com/manual?id=2272031&id=2272032 This link is also to be found at the end of the documentation, in the form of a QR code.


































