V I V O MOUNT-PS02V Power Strip-Surge Protector VESA Mount

Product Information
The Power Strip/Surge Protector VESA Mount, SKU: MOUNT-PS02V, is a mounting bracket designed to hold a power strip or surge protector. It can be mounted using VESA brackets or directly to the back of a TV. The mount comes with a clamp, screws, washers, and other hardware needed for assembly. The weight capacity of the mount is 2.2lbs (1kg).
For more information and helpful videos related to the product, visit https://vivo-us.com/products/mount-ps02v
If any parts are received damaged or defective, contact the support team at [email protected] for replacement parts.
Product Usage
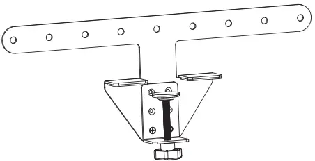
- Connect Clamp (B) to Mounting Bracket (A) using M4x5mm Screws (S-A) and a Phillips screwdriver. Mounting holes on Clamp (B) can be selected based on the desired spacing of the opening for the power strip.
- Choose from the following mounting options:
- VESA Brackets – Left or Right Side: Mount assembly under left or right TV mount’s VESA bracket using appropriate Screws (M-A thru M-B), Washers (M-E or M-F), and a Phillips screwdriver. Install TV mount’s second VESA bracket using appropriate Screws (M-A thru M-B), Washers (M-E or M-F), Small M8 Washer (M-G), and a Phillips screwdriver.
- VESA Brackets – Top: Mount assembly under top of TV mount’s VESA bracket using appropriate Screws (M-A thru M-B), Washers (M-E or M-F), and a Phillips screwdriver for top portion. Secure bottom of VESA brackets using appropriate Screws (M-A thru M-B), Washers (M-E or M-F), Small M8 Washer (M-G), and a Phillips screwdriver.
- Freestanding TV Mount: Mount assembly directly to VESA holes on back of TV using appropriate Screws (M-A thru M-D), Washers (M-E or M-F) and a Phillips screwdriver.
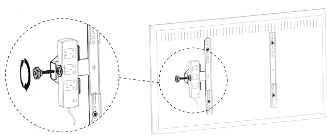
- Place power strip into assembled mount and tighten hand bolt on Clamp (B).
- Do not exceed weight capacity of 2.2lbs (1kg).
Scan the QR code with your mobile device or follow the link for helpful videos and specifications related to this product. https://vivo-us.com/products/mount-ps02v

GET IN TOUCH | Monday-Friday from 7:00am-7:00pm CST
- [email protected]
- www.vivo-us.com Chat live with an agent!
- 309-278-5303
WARNING!
If you do not understand these directions, or if you have any doubts about the safety of the installation, please call a qualified technician. Check carefully to make sure there are no missing or defective parts. Improper installation may cause damage or serious injury. Do not use this product for any purpose that is not explicitly specified in this manual. Do not exceed weight capacity. We cannot be liable for damage or injury caused by improper mounting, incorrect assembly or inappropriate use.
WARNING: CHOKING HAZARD
SMALL PARTS – NOT FOR CHILDREN UNDER 3 YEARS. ADULT SUPERVISION IS REQUIRED.
PACKAGE CONTENTS

NOTE: SOME HARDWARE INCLUDED MAY NOT BE USED
DO NOT EXCEED WEIGHT CAPACITY. Failure to do so may result in serious injury.
2.2lbs
(1kg)
TOOLS NEEDED

ASSEMBLY STEPS
- STEP 1
Connect Clamp (B) to Mounting Bracket (A) using M4x5mm Screws (S-A) and a Phillips screwdriver. Mounting holes on Clamp (B) can be select based on the desired spacing of opening for power strip.
- STEP 2 – MOUNTING OPTIONS
VESA Brackets – Left or Right Side:
Mount assembly under left or right TV mount’s VESA bracket using appropriate Screws (M-A thru M-B), Washers (M-E or M-F), and a Phillips screwdriver. Install TV mount’s second VESA bracket using appropriate Screws (M-A thru M-B), Washers (M-E or M-F), Small M8 Washer (M-G), and a Phillips screwdriver.

- VESA Brackets – Top:
Mount assembly under top of TV mount’s VESA bracket using appropriate Screws (M-A thru M-B), Washers (M-E or M-F), and a Phillips screwdriver for top portion. Secure bottom of VESA brackets using appropriate Screws (M-A thru M-B), Washers (M-E or M-F), Small M8 Washer (M-G), and a Phillips screwdriver.

- Freestanding TV Mount
Mount assembly directly to VESA holes on back of TV using appropriate Screws (M-A thru M-D), Washers (M-E or M-F) and a Phillips screwdriver.

- STEP 3
Place power strip into assembled mount and tighten hand bolt on Clamp (B).
Love your new VIVO setup and want to share? Tag us in your photo! @vivo_us

Open Monday – Friday 7:00am – 7:00pm CST,
our dedicated support team can offer immediate assistance with rapid response times. If any parts are received damaged or defective, please contact us. We are happy to replace parts to ensure you have a fully functioning product.
www.vivo-us.com
Chat live with an agent!
AVG. RESOLUTION TIME (within office hrs): < 15 M
309-278-5303
AVG. RESOLUTION TIME (within office hrs): 5M 4S
AVG. RESPONSE TIME (within office hrs): 1HR 8M
- 23% within < 15m
- 38% within < 30m
- 61% within < 1hr
- 83% within < 2hr
- 92% within < 3hr
FOR MORE VIVO PRODUCTS, CHECK OUT OUR WEBSITE AT: www.vivo-us.com




























