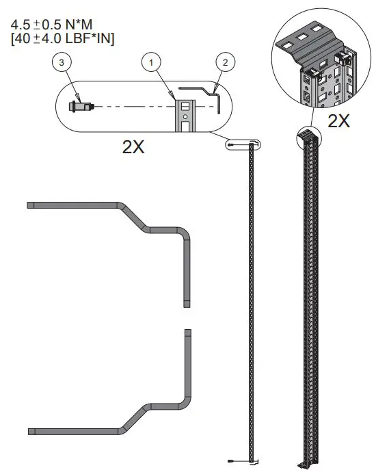
nVent HOFFMAN PROLINE G2 Plinth Base

Product Information
The product is called PROLINE G2 and it is the B revision, with the model number 89131098.
Product Usage Instructions
Please follow the steps below to properly use the PROLINE G2:
- Ensure that the product is connected to a power source.
- Refer to the user manual for any specific setup or configuration requirements.
- Use the provided controls or buttons to navigate through the product’s functions and settings.
- If applicable, insert any necessary media or accessories into the appropriate slots or ports.
- Follow any on-screen prompts or instructions displayed by the product.
- When finished using the product, properly disconnect it from the power source.
Note: For more detailed information on the product’s features and usage, please refer to the complete user manual provided with the PROLINE G2.
Parts

Installation Instructions



© 2018 Hoffman Enclosures Inc.
PH: 763 422 2211
nVent.com/HOFFMAN















