FOX Wi-TO2S2 Gate Controller

System capabilities
- Communication via home Wi-Fi network;
- Remote access to devices via the Polish F&F cloud;
- Integration with Google and Google Home voice assistant;
- Ability to work autonomously, without a Wi-Fi connection;
- Free mobile applications for Android and iOS.
Properties
- Designed for integration with any gate drive system;
- Ability to control gate, two gates or a gate and a wicket;
- Support for two local inputs enabling:
- opening/closing a gate or wicket;
- connection of gate or wicket opening/closing sensors;
- REST API support enabling integration of the controller also with other home automation systems;
- External antenna for extended operating range;
- Hermetic housing suitable for outdoor installation.
Configuration
For the initial configuration of the Fox module, it is necessary to download and run the free Fox application available for mobile devices running the system:
- Android, version 5.0 or higher;
- iOS, version 12 or higher.
You can download the app directly from the stores:

or via the website: www.fif.com.pl/fox

On the above page, you can also find detailed information on how to configure and operate the devices and the Fox mobile app.
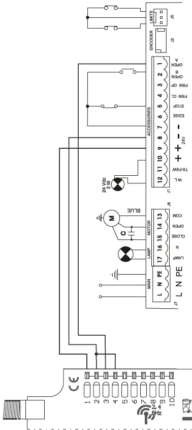
Wiring diagram

Description of terminals
1,2 power supply (polarization any)
3 (+) OUT 1, output 1 (OC)
4 (–) OUT 1, output 1 (OC)
5 (+) OUT 2, output 2 (OC)
6 (–) OUT 2, output 2 (OC)
7 (+) IN 1, input 1
8 (–) IN 1, input 1
9 (+) IN 2, input 2
10 (–) IN 2, input 2
The control outputs OUT 1 and OUT 2 are OC (open col-lector) type. It is necessary to keep the correct polarity of the output, the potential on the – line must be lower than the potential on the + line.
The inputs IN 1 and IN 2 are voltage inputs. The input will be active when voltage is applied between the + and –terminals.
Example connections

Example connection with Nice MC 424 controller (Note! COMMON has a positive potential)

Example connection with Beninca Core controller

Example connection with FAAC 741 controller
First launch
After connecting the device to the power supply, it is recommen-ded to personalize the device.
Personalization is the process of assigning passwords to access the device and setting up a connection to the home Wi-Fi network and (optionally) remote access to the device via the F&F cloud.
Do not leave the device switched on without performing the personalization. There is a risk that another user of the Fox application will gain access to your device. If you lose access to your Fox device, follow the procedure de-scribed in Restore factory settings section.
For a detailed description of how to use the Fox application, see the context-sensitive help for the application (available under the “i” key in the mobile application) or go to www.fif.com.pl/fox/gate
- Start the Fox application.
- Open the program menu ( symbol in the upper left corner of the screen) and select the Start command.
- In the system selection window, press the wireless system icon and follow the directions in the following screens:
Remote access
Remote access configuration is necessary when you need to be able to access and control your Fox devices from outside your home when your phone app and Fox modules are not connected to the same local network. If you do not have a remote access account, create one by pressing Create Account button and following the instructions displayed by the application. If you are adding an existing account to the application, you need to enter its parameters into the application: email address used to create an account in the cloud and a password to access the cloud and add more devices. In the first field (Name), enter the name under which the account will be displayed in the application. After entering the data, press the Add button.
Adding an account is a one-time action. The created ac-count is visible in the list at the bottom of the screen and can be used to personalize subsequent devices. In this case, you can skip the Remote Access screen by pressing the Next button.
Remote access can be set independently for each device in a further customization step. Lack of remote access does not block the functionality of the device, it can still be accessed within the local Wi-Fi network.
Password manager
Each Fox device allows you to enter two passwords: an administrator who has full configuration and device con-trol rights, and a user who can control devices but without access to configuration settings.
First, add passwords to the password manager. One or two predefined passwords are then substituted for the personalized controllers. To add a new password to the password manager, you must:
- In the Enter name field enter a description of the password under which it will be visible on the device manager list (such as Home administrator, living room user),
- In the Enter password field, enter the content of the password,
- Press the Add button.
The password is the key to access the device. Devices can be grouped using the same passwords, and permissions to these groups can be delegated in the form of an assigned access password. This way, by deciding which passwords go to which users, you can freely manage access to devices.
For more information on the role of passwords and their use in user management, go to: www.fif.com.pl/fox
To remove user rights to a selected device, change the access passwords on it.
Deleting a password from the Password Manager will lose access to all devices using the deleted password.
Calendar manager
Allows you to add links to online calendars that can be used to program the operating cycle of Fox controllers. More information can be found at: www.fif.com.pl/fox
The functionality of the calendars is not supported by the Gate controller.
Search
Based on the previously entered information (remote access and password list), the application will start searching for devices.
Before you start searching, you need to enable the Bluetooth function on your phone and agree to access the location. This will allow you to directly search for nearby Fox devices.
The app searches for:
- available devices nearby that are in factory mode;
- devices available on your local network or connected to cloud accounts for which passwords were previously entered into Password Manager.
The gray icon and gray device description indicate de-vices detected nearby via a Bluetooth connection. To add such a device click on the Bluetooth icon on the right side of the description and wait for the connection to be established. Once the connection is established, the icon and description turn white.
Pressing the “+” button adds device support to the application. For controllers in factory mode, the customization mechanism for the selected module is started here and the instructions in the Device Configuration window must be followed:
- Enter the name under which the device will be displayed;
- From the drop-down list of passwords, select the password for the administrator and user;
- Set the parameters of the Wi-Fi network (network name and password) to which the device will connect;
Fox controllers can only connect to Wi-Fi networks operating in the 2.4 GHz band.
- Set other configuration parameters as necessary: user password, remote access account, link to the programmers calendar, and the time zone and location of the device necessary for proper operation of the programmers;
- After entering all the data, press the OK button and wait for the configuration to be sent to the device. The application will continuously display messages about the progress of saving the configuration and inform about possible errors;
- When the configuration is saved correctly, the device disappears from the list of retrieved devices and is moved to the list of devices visible in the application.
If you personalize more devices, you can use the Set Defaults option at the top of the Device Configuration screen. Pressing this button will substitute all recently entered data (passwords, Wi-Fi settings, remote access, calendar, location and time zone) into the new device.
LED signaling
The status of the module can be directly assessed by the STATUS light located on the front of the device.
The grey color actually corresponds to the green LED and the black color to the red LED.


Restore factory settings
In case of lack of access to the controller, for example due to lost passwords, it is recommended that you reset the access passwords and then reconnect and configure the controller using the Fox application.
To reset passwords:
- While the controller is operating, press and hold the PROG button on the front of the controller. When the button is pres-sed, the green LED will start to flash rapidly.
- After about 5 seconds, the LED will turn off and you should release the PROG button.
- Press the PROG button briefly, the green LED will light up aga-in.
- Press and hold down the PROG button. After about 3 seconds, the previously switched on green LED control light will start to flash. After another 3 seconds, it will go out and the red LED light up.
- Release the button – after a few seconds the indicator LED will turn green and the controller will restart.
- After completing this procedure, the access passwords and parameters for remote access have been cleared. You can now search for your device again in the app and personalize it again.
Technical data
- power supply 9÷30 V DC
- control inputs 2
- control voltage 9÷30 V DC
- control pulse current <3 mA
- control outputs
- type open collector
- maximum load current (AC-1) <20 mA
- voltage 40 V
- power consumption
- standby <1.2 W
- operation (output ON) <1.5 W
- communication
- radio frequency 2.4 GHz
- transmission Wi-Fi
- radio power (IEEE 802.11n) <13 dBm
- receiver sensitivity -98 dBm
- terminal 0.14÷0.5 mm² spring terminals
- working temperature -20÷55°C
- dimensions
- without antennas 42×89×31 mm
- anntena length/working part 1 m/25 mm
- mounting surface
- ingress protection IP65
Warranty
F&F products are covered by a 24-month warranty from the date of purchase. The warranty is only valid with proof of purchase. Contact your dealer or contact us directly.
CE declaration
F&F Filipowski sp. j. declares that the device is in conformity with the essential requirements of Directive 2014/53/EU of the European Parliament and of the Council of 16 April 2014 on the harmonisation of the laws of the Member States relating to the making available on the market of radio equipment and repe-aling Directive 1999/5/EC.
The CE Declaration of Conformity, along with the references to the standards in relation to which conformity is declared, can be found on www.fif.com.pl on the product page.




















