Music Hall MMF-7.3 2-Speed Audiophile Turntable

CONGRATULATIONS ON YOUR PURCHASE
You have selected an exceptional turntable. Each component used in the construction of the MMF-7.3 was selected to provide you with superior performance and the highest level of sound reproduction available today. We know of no turntable that costs as much to produce yet sells for so little. The precise and elegant design of this turntable makes it easy to install and operate. Please take a few moments to read over the operating instructions to ensure that you get the best performance from your turntable and years of trouble-free service.
SAFETY GUIDELINES
This product is designed and manufactured to strict quality and safety standards.
However, you should be aware of the following installation and operation precautions:
- Take heed of warnings and instructions
Read all the instructions before connecting or operating the turntable.Keep this manual so you can refer to these safety instructions. Heed all warnings and safety information in these instructions and on the turntable. Follow all operating instructions. - Water and Moisture
To reduce the risk of fire or electric shock, do not expose the turntable to moisture or water. If the turntable is exposed to moisture, immediately disconnect the power cord from the wall. Take the deck to an authorized music hall service center for inspection. Do not touch the turntable, power cord, or plug with wet hands. - Object or liquid entry
Do not allow foreign objects or liquids into the unit. If this happens, immediately disconnect the power supply from the wall and take the unit to an authorized music hall service center for inspection. - Heat
Keep the turntable away from naked flames, radiators, heat registers, stoves, or any other heat-producing appliances (including amplifiers). - Climate
The turntable has been designed for use in moderate climates. Do not attempt to use below 41 degrees Fahrenheit (5 degrees Celsius) or above 95 degrees Fahrenheit (35 degrees Celsius). - Racks and Stands
Place the turntable on a fixed, level surface strong enough to support its weight. Do not place it on a moveable cart that could tip over. We recommend only using stands approved for use with audio equipment. See the SITING section for further suggestions. - Cleaning
Please refer to the MAINTENANCE section for detailed cleaning instructions. - Power Sources
Connect the turntable only to a power supply of the type and voltage described in the operating instructions or specified on the rear panel of the unit. - Power-cord protection
Connect the turntable to the power outlet only with the supplied power supply. Do not modify the supplied cable in any way. Do not attempt to defeat grounding and/or polarization provisions.
Do not use extension cords.
Do not route the power supply cord where it will be crushed, pinched, bent at severe angles, exposed to heat, or damaged in any way. - Non-use periods
If the deck is to be left unused for a long period of time, the power supply should be unplugged from the wall outlet and the belt removed. - Damage Requiring Service
Stop using the turntable immediately and have it inspected by an authorized music hall service center whenever:- The power supply cord or plug has been damaged.
- Liquid has been spilled onto the motor or into the bearing well.
- The turntable has been exposed to rain.
- The turntable does not operate properly.
- The turntable has been dropped or damaged.
- Smoke or any unusual smell is detected from the turntable.
PARTS INVENTORY AND OPERATION CONTROL DIAGRAM

- 3 x removable transport screws
- 1 x stepped motor pulley
- 1 x drive belt (packaged in parts bag)
- 1 x sub-platter
- 1 x platter with felt mat (packaged in bottom of box)
- 1 x tonearm counterweight (located in bottom packing foam)
- 1 x tonearm lift lever/cueing lever
- 1 x tonearm rest
- 1 x tonearm
- 1 x dust cover
- 2 x dust-cover hinges
- 4 x dust-cover hinge screws
- 1 x mains cable connected to power supply
- 1 x removable high quality interconnect cable (included in parts bag)
- 1 x anti-skating rod
- 1 x anti-skating weight (packaged in parts bag)
- 1 x anti-skating hanger
- 1 x removable tonearm-locking strap (red plastic)
- 1 x belt changing tool (packaged in parts bag)
- 1 x on/off switch
- 1 x head shell fitted with cartridge
- 1 x motor
- 3 x threaded screws
- bubble level
- adjustable spiked feet
- spike protectors
- audio output connectors
- motor packing material (not to be used with motor or turntable)
Parts bag includes
- 1pr. x white gloves
- 1 x 45 rpm adapter
- 1 x drive belt (3)
- 1 x anti-skate weight (16) (tiny weight attached to small piece of fishing line)
- 1 x belt changing tool (19)
- 1 x Allen key to adjust arm lift
- 1 x Allen key to adjust VTA (this one has a slight bend in it)
- 1 x record clamp
- 1 x high quality interconnect cable (14)
- 3 x adjustable spiked feet (25)
- 4 x spike protectors (26) (flat dime looking object that spike sits on)
- 1 x cartridge alignment guide
- 1 x instruction manual
GETTING STARTED
Thank you for purchasing the music hall mmf-7.3 turntable. The music hall mmf-7.3 turntable is 2-speed belt-driven, audiophile quality turntable with many unique features. It is constructed using a split-plinth design and features an external motor. The mmf-7.3 comes in a high gloss, black piano lacquer finish.
THE SPLIT-PLINTH.
The plinth has three adjustable spiked feet and comes with a set of small discs (cups). The discs prevent marking of the surface of the supporting shelf. A spirit level is incorporated on the top platform. The two platforms of the plinth are separated by four Sorbothane hemispheres, which act as a suspension and isolation system. Externalphono sockets are attached to the bottom platform. A high quality interconnect is supplied.
THE MOTOR
The motor is a 15 volt DC and comes with an external power supply. The motor rests in a cutout on the front, left quadrant of the turntable. It is completely isolated from the table and sports a blue LED. Placing the motor diagonally opposite the arm reduces any vibrations caused by the belt from entering into the cartridge. Any vibrations would be absorbed along the length of the arm thus bypassing the stylus (The stylus moves from left to right, not front to back).
THE PLATTER
The belt runs round the perimeter of the acrylic platter. Acrylic was chosen for its superior sound quality and isolation properties. A screw-on record clamp and felt mat are supplied as standard.
THE ARM
The tonearm is the ‘Project Carbon’. This is a carbon fiber version of the acclaimed Project 9.1 arm. The bearings are made from hardened stainless steel points set in sturdy ring cages. The counterweight’s center of gravity is level with the stylus tip. It is decoupled from the arm and acts as a resonance damper. The arm also has adjustable VTA, a damped arm lift and highly flexible internal wiring drawn from high purity copper.
THE CARTRIDGE
The mmf-7.3 comes standard with a moving-magnet cartridge that has been properly installed and aligned. The cartridge was chosen for its low mass, high rigidity body, high grade stylus. It is a perfect complement to the audiophile qualities of the mmf-7.3. These features combine to ensure that the mmf-7.3 delivers superior audio performance that will provide years of enjoyment.
FOR YOUR INFORMATION
This manual provides valuable information that will help you get optimum performance from your system. Please contact your authorized music hall dealer for any additional clarifications you may require. Save the music hall mmf-7.3 shipping carton and all enclosed packing material for future use. Shipping or moving the mmf-7.3 in anything other than the original packing material may result in severe damage that is not covered by the warranty. Be sure to keep the original sales receipt; it is your best record of the date of purchase, which you will need in the event warranty service is required.
SET-UP
The music hall mmf-7.3 is supplied partially disassembled and carefully packaged for safe transport. To assemble the turntable, please follow the instructions carefully.
- Clear a level (use a spirit level) and suitable workspace to assemble the turntable.
This may be the final playing location. - Remove and put on white cotton gloves (in large plastic bag)
- Remove the turntable and all parts from the carton. A short gray piece of plastic pipe will be found underneath the cutout portion of the turntable on top of the motor. This is part of the packing and is not used with the motor or turntable.
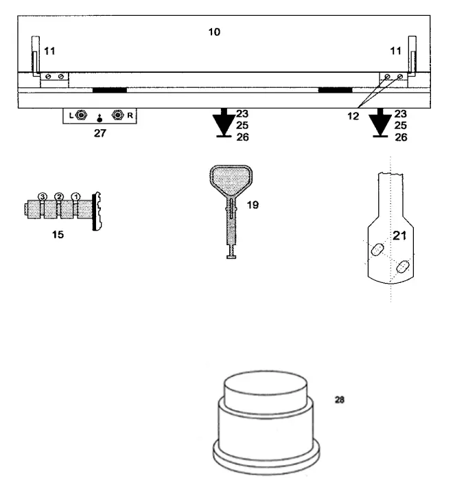
- Screw the three spiked feet (25) (included in parts bag) onto the threaded screws (23) on the bottom of the turntable. 4 x spike protectors (26) (flat dime looking objects that spike sits on) are included. Use them underneath the spikes.
- Level the turntable by adjusting the spiked feet (25). Use the bubble level (24) for this purpose.
- Remove the 3 transport screws (1) from the turntable and save for future use.
- Gather together the 3 motor components (round motor base – found in bottom of box under the Styrofoam, power supply – found in small white carton in bottom of box, and motor – found underneath the turntable motor cutout and piece of gray plastic pipe. The short plastic gray pipe is part of the packing material and is not used with the turntable or motor.
- Place the round motor base underneath the motor cutout on the left front of the turntable. Center the motor base in the cutout.
- Carefully, ease the motor into the cutout and onto the motor base. Orient the motor so that the socket for connection to the power supply is towards the back.
- Run wire from the power supply under the turntable and plug it into the socket on the lower back of the motor.
- Center the platter (5) over the spindle of the sub-platter (4) and lower it until it rests securely on the sub-platter.
- Install the drive belt (3). Loop the belt around the motor pulley (2) and around the rim of the platter (5). For 33 1/3 or 45rpm play, push the appropriate speed control button on the motor.
- Place the counterweight (6) onto the tonearm. To do this, position yourself in front of the turntable. Hold the counterweight so that the numbers are nearer you. Carefully, screw the counterweight counterclockwise onto the back of the tonearm.
- Remove the tonearm-locking strap (18). Place it in a safe position for possible future transport.
- Make sure the tonearm is in the tonearm rest (8). Carefully, remove the stylus guard (the piece of clear plastic on the bottom of the cartridge). Save it for future use.
- You will now set the tracking force. The mmf-7.3 comes complete with a factoryinstalled cartridge. We recommend a tracking force of 1.5g. Please note; the tracking force scale (6a) on the counterweight has no decimal point. 10 on the tracking force scale actually is 1.0 g. 15 is actually 1.5g. To set the tracking force you must first balance (zero) the tonearm (9).
The objective of balancing or zeroing the tonearm is to get the tonearm to float parallel to the platter. First, lower the cueing lever (7). Using your left hand, lift, position, and hold the tonearm (9) between the tonearm rest (8) and the platter (5).To avoid damage, be careful not to allow the cartridge to contact the plinth (the turntable base).
With your free hand turn the counterweight counterclockwise or clockwise until the tonearm floats freely, without the aid of your hand, in mid-air and parallel to the platter. Don’t worry about the number on the tracking force scale, you will soon calibrate and set it properly. Once you have balanced the tonearm, return it to the tonearm rest. You are now going to set the ring with numbers on the counterweight to zero. This is called the tracking force scale. The tracking force scale (6a) turns independently of the counterweight.
IMPORTANT
With your right hand hold the rear part of the counterweight to make sure that it does not move.
With your left hand, lightly grip and turn the tracking force scale until the number zero is in the twelve o’clock position (dead center on top of the counterweight). The tonearm is now zeroed. Check it, by once again floating the tonearm between the tonearm rest and the platter. If the tonearm doesn’t float parallel to the platter at zero, return to the previous steps and make the necessary adjustments.
Return the tonearm to the tonearm rest.
IMPORTANT
Do not touch the tracking force scale again.
Turn the counterweight counterclockwise with your right hand.
You will notice that the tracking force scale will also turn.
Turn it through numbers 5, 10, and to the number 15. This is equivalent to
1.5grams. The correct tracking force has now been set.
Every arm and cartridge combination has an optimum tracking force. This can easily be set by ear. Increments of 0.1g can produce significant differences. Once the cartridge has run in (usually about 24 -50 hours of playing time) feel free to experiment with a slightly higher or lower tracking force and pick the one you prefer. - Locate the anti-skating weight (16). You will notice a small fishing line attached to the anti-skating weight (16). Slip the looped end of the fishing line over the antiskating rod (15) and into notch number 2 (See diagram below). Lift the anti-skating weight (16) over the anti-skating hanger (17) and feed the fishing string through the looped end of the anti-skating hanger (17). The anti-skating weight (16) should now be dangling in free space to the left of the hanger. If it is not dangling, simply bend the anti-skating hanger (17) by pushing it away from the tonearm pillar with your finger.

- Slide the dust cover (10) onto the dust cover hinges (11) on the back of the plinth. If necessary, adjust the tightness of the hinges by turning the dust cover hinge screws (12).
NOTE
If you are substituting another cartridge for the supplied cartridge, you may need to make the following further adjustments to the tonearm (9) and cartridge:
If you are a novice, music hall recommends getting professional help.
All cartridges with half-inch mounting holes can be fitted. Leaving the stylus guard on, fit the cartridge to the headshell (21) using the screws supplied with the cartridge by passing one screw through each slot in the finger lift and the head shell (21). Snug the nuts.
Connect the tonearm (9) wires to the cartridge pins as follows:
- white left channel positive (L+)
- red right channel pos. (R+)
- green right channel return (R -)
- blue left channel return (L -)
To achieve the best sound reproduction, the cartridge must be positioned precisely in the head shell. To do this, fit the tangency guide (you’ll find this in the parts bag. It’s a white rectangular piece of cardboard with black lines) over the spindle at point ‘A’ and onto the platter, black lines side up (See diagram below). Remove the stylus guard. Move the tonearm (adjusted for the correct tracking force of your cartridge) to the pattern. When the stylus tip of the cartridge is at points 130mm and 240mm, the front of the cartridge should be parallel to the lines on the pattern. If necessary, slide the cartridge back and forth until the stylus tip is positioned correctly. Tighten the cartridge mounting screws.
VTA Adjustment: The VTA for the installed Supplied cartridge H cartridge has been properly set at the factory. To adjust the VTA for other cartridges, lay a record on the platter (5). Slacken the horizontal adjustment screws (two Allen screws located near the plinth on the back of the tonearm pillar) with the Allen Key provided.
IMPORTANT.
Do not loosen the vertical screws that hold the anti-skate arm to the base. Move the tonearm (9) up or down until it is parallel to the record surface when viewed from the side. Tighten the horizontal adjustment screws. VTA like Tracking Force can also be set by ear. Feel free to experiment with VTA positions slightly above or below parallel and choose the position you prefer. If you have any further questions regarding the adjustment of your turntable, please contact your music hall dealer.
Azimuth Adjustment: Azimuth is the angle of the stylus to the record groove. Viewed head-on, you want the stylus to be perpendicular to the record groove so as to not favor one channel over the other. Keep in mind that azimuth is properly set at the factory and rarely needs to be adjusted. You can check the azimuth by performing a visual inspection. Place the tonearm (9) in the middle of a non-spinning record and look to see that the stylus is perpendicular to the record groove. If it is off to one side or the other, you will need to adjust the azimuth. Start with the tonearm (9) in the tonearm rest (8). To adjust the azimuth, slightly loosen the setscrew located towards the rear of the tonearm (9). This will loosen the tonearm (9) and allow you to twist it from side to side. The top of the tonearm headshell should be flat and not tilted up to the right or left. Move the tonearm to the middle of the record once again and check that the stylus is perpendicular to the record groove. If it is, return the tonearm to the tonearm rest and tighten the setscrew. Listen to a record. You are listening for a balanced soundstage with the greatest area and depth. You may need to go back and forth a couple of times to achieve the best setting. Please note that small changes in azimuth make a big difference in the sound.
*Save all packing materials, parts, and screws for possible future transport*
SITING
- FLOOR MOUNTING – Place the deck on a small, light, rigid table, e.g., a coffee table.
Ensure that the table is level on the floor and not rocking. - WALL MOUNTING – Wall mounting may be preferable when the floor is springy or when there is risk of damage by children or pets. The shelf should be light and rigid, and fully supported by, but not firmly screwed or glued to its brackets. To allow the lid to open fully, a clearance of 3 inches (7.5 cm.) is required behind the plinth and at least 13 inches (33 cm.) above.
AUDIO CONNECTION
The supplied cartridge is a moving-magnet cartridge. To play this cartridge properly, you should plug the turntable into a MM (moving magnet) phono stage. Plug the interconnect cable (14) (found in parts bag) into the audio output connectors (27) matching black to black and red to red. Attach the small ground wire to the thumbscrew connection. Connect the other end of the interconnect cable to the MM (moving magnet) phono input on your receiver, integrated amplifier, or pre-amplifier in the same fashion.
MAINS CONNECTION
Locate the power supply. It’s in a small white box set into the underside of the packing foam. Plug the small male end of the power supply wire into the female receptacle on the power socket for the motor. The power socket for the motor is located near the bottom of the motor. Plug the transformer into the wall. Turn the motor ‘ON’ (20) and check that the platter (5) spins.
OPERATION
Place a record on the platter and screw on the record clamp (found in the parts bag). Simply snug the clamp. Do not over-tighten the clamp as damage to your record or turntable may result. Push the mains switch (20) to the ‘ON’ position. Lift up the tonearm (9) with the cueing lever (7). Position the cartridge stylus tip above the initial groove of the record. Gently lower the cueing lever (7) to lower the tonearm onto the record.
To stop play, lift the cueing lever (7) to raise the tonearm (9) and then move the arm back to the tonearm rest (8). Push the mains switch (20) to ‘OFF’. To play 45 rpm records, simply push the 45 rpm button. Please note, for singles (7-inch records with a large center hole), you will need to use the 45rpm adaptor. Simply, center the adaptor over the spindle and set it on top of the felt mat. Place the single on the platter and play. Do not use the record clamp with 7-inch records.
MAINTENANCE
The mmf-7.3 is designed for a long operational life. To preserve the appearance of your deck and maintain its performance, you should note the following points:
* Make sure the stylus guard is on before you begin cleaning *
- PLINTHS – The plinths are constructed from medium-density fiberboard, therefore they should not be subjected to extremes of temperature or direct sunlight. The finish may change slightly with age. A damp cloth or soft duster is ideal for cleaning the plinths: polish, particularly wax-based, can be hard to remove.
- PLATTER – The acrylic platter can be cleaned with a soft dry lint-free cloth.
- MAT – Clean the felt mat with masking tape.
- MOTOR – The motor is equipped with self-lubricating bearings. The motor pulley should be cleaned periodically to remove deposits of rubber shed by the belt. Remove the outer platter and belt. Gently clean with a cotton swab or lint-free cloth dampened with isopropyl alcohol.
- BELT – The belt should last for many years. The belt can be cleaned at the same time as the pulley. The best way to clean the belt is to pull it gently through a damp cloth. If the turntable is not going to be used for a long period of time, it is advisable to remove the belt from the platter rim to prevent stretching.
- OIL – The oil supplied for the main bearing provides life-long protection. If oil is lost from the bearing housing, replace it with a few drops of Mobil 1 or other 10w/40 synthetic oil containing Teflon.
- DUST COVER – This can be cleaned using any commercial acrylic or plastic cleaners.
The simplest approach is to remove any dust with a damp, lint-free cloth without rubbing and then use a soft duster. Dust covers are more often damaged in cleaning than in use. - STYLUS – Remove the stylus guard. We recommend a dry, vibrating-pad cleaner. Wet cleaners or soft stylus brushes are not recommended.
TECHNICAL SPECIFICATIONS
- Power Supply: 15V / 0-0.8mA DC, universal power supply
- Power Consumption: 4W / OW in stand-by
- Speeds: 331/3 rpm (manual change to 45 rpm)
- Speed deviation: ± 0.1%
- Wow and flutter: ±0.01 %
- Rumble Max: > -72 db
- Effective tonearm length:9.0 in (22.86cm)
- Overhang: .71in (18mm)
- Platter diameter: 11.81 in (30cm)
- Platter weight: 6 lbs (2.7kg)
- Dimensions: (W x D x Hw/dust cover closed) 18.25 x 13.25 x 5.5 in (46.4 x 33.7 x 14 cm)
- Weight (including pkg.): 24lbs (10.9 kg)
CARTRIDGE SPECIFICATIONS: Ortofon 2M Bronze
- Output voltage: 1000 Hz, 5cm/sec. 5 mV
- Channel balance: 1 kHz 1 dB
- Channel separation: 1 kHz 26 dB
- Channel separation: 15 kHz 15 dB
- Frequency range: – 3dB 20-29.000 Hz
- Frequency response: 20-20.000 + 2 / – 0 dB
- Tracking ability at 315Hz at recommended tracking force 80 μm
- Compliance, dynamic: lateral 22 μm/mN
- Stylus type: Nude Fine Line
- Stylus tip radius: r/R 8/40 μm
- Tracking force range: 1.4-1.7g (14-17 mN)
- Tracking force, recommended: 1.5 g (15 mN)
- Tracking angle: 20°
- Internal impedance: DC resistance 1,2 kOhm
- Internal inductance: 630 mH
- Recommended load resistance: 47 kOhm
- Recommended load capacitance: 150-300 pF
- Cartridge colour: body/stylus Black/Bronze
- Cartridge weight: 7.2 g
- Replacement stylus unit: 2M Bronze
Music Hall reserves the right to make technical modifications. Check our website for the latest updates.
TROUBLESHOOTING
Music hall turntables are manufactured to the highest standards and undergo strict quality controls before leaving the factory. If, for some reason your turntable is not working properly, please take a few moments to review this list of potential causes.
THE PLATTER DOESN’T TURN, ALTHOUGH THE DECK IS SWITCHED ON:
- The turntable is not connected to the mains power supply.
- No mains at the socket.
- The belt is not fitted or has slipped off.
- NO SIGNAL IN ONE OR BOTH CHANNELS:
- No connection between the turntable and the amplifier.
- Phono input not selected at amplifier.
- Poor contact or broken connection.
- Amplifier not switched on.
- Amplifier or speakers defective or muted.
- Cartridge not wired into the headshell
- Loudspeakers not connected.
LOUD HUM ON PHONO INPUT:
- No earth connection from the cartridge, tonearm, or audio cable to amplifier.
- Ground loop.
- Turntable too close to one or both speakers.
DISTORTED SOUND FROM ONE OR BOTH CHANNELS:
- Record player connected to wrong input of amplifier.
- MM/MC switch on pre-amp incorrectly set.
- Dust on the stylus.
- Needle or cantilever damaged.
- Wrong speed
- Dirty or over-stretched belt.
- Platter bearing dry, dirty, or damaged.
SERVICE
Should you encounter a problem that you cannot solve, please contact your music hall dealer. Never return a record player without authorization and without safely disassembling it and correctly packing it in the original packaging. Repairs will only be made under warranty if the unit is returned correctly packaged.
PACKING INSTRUCTIONS
Please remove and store the following parts: dust cover (10), anti-skating weight (16), counterweight (6), platter (5), sub-platter (4), and belt (3).Fit the stylus guard on the cartridge and attach the tonearm locking strap (18) to the tonearm (9). Insert and tighten the transport screws (1). Package the turntable carefully and correctly in its original box.
WARRANTY
This entitles you to have the music hall mmf-7.3 repaired free of charge, at our discretion, for one year after the date of purchase, at any authorized music hall Service Center, provided the unit was purchased from an authorized dealer. Your original sales receipt is proof of purchase date. Music hall takes no responsibility for defects arising from accident, misuse, abuse, wear and tear, neglect or unauthorized repair and/or adjustment. Music hall cannot accept responsibility for damage or loss that occurs during transit.
The warranty does not cover transportation costs.
CLAIMS UNDER WARRANTY
The mmf-7.3 should be packed in the original packing and returned to the dealer from whom it was purchased, or, upon authorization, to a music hall Service Center. It should be sent by a reputable carrier, carriage prepaid. Do not send the turntable via USPS (United States Postal Service). Since no responsibility will be accepted for a unit in transit to the dealer, customer, or authorized service agent, customers are advised to insure against loss, damage, or theft.
FOR FURTHER INFORMATION CONTACT:
music hall
108 Station Road
Great Neck, NY 11023
Tel: 516-487-3663
Fax: 516-773-3891
http://www.musichallaudio.com
FAQS
My Pioneer receiver does not have phono input, do I need a pre-amp?
Yes, you need a phono input pre-amp. You can use any input in your receiver. We sell a pre-amp manufactured by Music Hall.
is the out put rca?
Yes. RCA output
I just got this fab turntable yesterday. But I wonder, does that green light switch stay on all the time?
yes i keep mine unplugged when not in use also i don’t use a mat always use the clamp love it’s great tt for price
Is this cartrige has moving magnets or mooving coils ?
The 2M series are Moving Magnet cartridges.
Does this turntable include the Ortofon Bronze cartridge as stated. I dont see any description of it
They sell it with and without. It says in the title if it is included, it is included. I think it is about $250 cheaper without it, but the cartridge over $400 separately.
does it come with the connecting cables? rca and grounding wire?
Yes come with rca cable with ground
My pioneer elite sc27 does have a phono input. do i still need a pre-amp? why does the price say $1799 instead of $1599 with the or ofon bronze?
Yes you need a phono preamp.
1599 cost with out cartridge
Does this come with a dust cover?
Yes it does. Though it looks much better without it.






















