makita PLM Series Petrol Lawn Mower Instruction Manual
Explanation of general view
- Brake control handle
- Upper handle
- Self-drive control handle
- Choke lever
- Starter handle
- Rope guide
- Locking lever
- Lower handle
- Grass catcher
- Height adjustment lever
- Side discharge channel
- Sideward flap
- Deck
- Spark plug
- Oil cap
- Fuel cap
- Cable clamp
- Cable fixing ring
- Speed adjustment lever
- Mulching wedge
- Level indicator
- Bolt
- Washer
- Locking knob
- Lock nut
- The angle adjusting gear
- Button
- Oil cap/dipstick
- Max: upper limit
- Min: lower limit
- Screw
WARNING:
For your own safety please read this manual before attempting to operate your new unit. Failure to follow instructions can result in serious personal injury. Spend a few moments to familiarize yourself with your mower before each use.
SYMBOLS MARKED ON THE PRODUCT
Read operator’s manual.
Keep bystanders away.
Pay more attention to the operator’s hands and feet to avoid injury.
Fuel is flammable, keep fire away. Do not add fuel with running machine.
Toxic fumes; don’t operate inside house.
When mowing, please wear the glasses and ear plugs to defend the operator himself.
When repairing, please pick up the spark plug, and then repair it according to the operational manual.
Caution: Engine hot.
GENERAL SAFETY RULES
WARNING: When using petrol tools, basic safety precautions, including the following, should always be followed to reduce the risk of serious personal injury and/ or damage to the unit. Read all these instructions before operating this product and retain these instructions for future reference.
WARNING: This machine produces an electromagnetic field during operation. This field may under some circumstances interfere with active or passive medical implants. To reduce the risk of serious or fatal injury, we recommend persons with medical implants to consult their physician and the medical implant manufacturer before operating this machine.
Training
- Read the instructions carefully. Be familiar with the controls and the proper use of the equipment.
- Never allow children or people unfamiliar with these instructions to use the lawn mower. Local regulations can restrict the age of the operator.
- Never mow while people, especially children, or pets are nearby.
- Keep in mind that the operator or user is responsible for accidents or hazards occurring to other people or their property.
Preparation
- While mowing, always wear substantial footwear and long trousers. Do not operate the equipment when barefoot or wearing open sandals.
- Thoroughly inspect the area where the equipment is to be used and remove all objects which can be thrown by the machine.
- WARNING- Petrol is highly flammable.
- store fuel in containers specifically designed for this purpose;
- refuel outdoors only and do not smoke while refueling;
- add fuel before starting the engine. Never remove the cap of the fuel tank or add petrol while the engine is running or when the engine is hot;
- if petrol is spilled, do not attempt to start the engine but move the machine away from the area of spillage and avoid creating any source of ignition until petrol vapors have dissipated;
- replace all fuel tank and container caps securely.
- Replace faulty silencers.
- Before using, always visually inspect to see that the blades, blade bolts and cutter assembly are not worn or damaged. Replace worn or damaged blades and bolts in sets to preserve balance.
Operation
- Do not operate the engine in a confined space where dangerous carbon monoxide fumes can collect.
- Mow only in daylight or in good artificial light.
- Avoid operating the equipment in wet grass, where feasible.
- Always be sure of your footing on slopes.
- Walk, never run.
- For wheeled rotary machines, mow across the face of slopes, never up and down.
- Exercise extreme caution when changing direction on slopes.
- Do not mow excessively on steep slopes.
- Use extreme caution when reversing or pulling the lawn mower towards you.
- Stop the blade(s) if the lawn mower has to be tilted for transportation when crossing surfaces other than grass, and when transporting the lawn mower to and from the area to be mowed.
- Never operate the lawn mower with defective guards, or without safety devices, for example deflectors and/or grass catchers, in place.
- Do not change the engine governor settings or overspeed the engine.
- Disengage all blades and drive clutches before starting the engine.
- Start the engine carefully according to instructions and with feet well away from the blade(s).
- Do not tilt the lawn mower when starting the engine.
- Do not start the engine when standing in front of the discharge chute.
- Do not put hands or feet near or under rotating parts.
Keep clear of the discharge opening at all times. - Never pick up or carry a lawn mower while the engine is running.
- Stop the engine and disconnect the spark plug wire, make sure that all moving parts have come to a complete stop and, where a key is fitted remove the key:
- before clearing blockages or unclogging chute;
- before checking, cleaning or working on the lawn mower;
- after striking a foreign object. Inspect the lawn mower for damage and make repairs before restarting and operating the lawn mower;
- if lawn mower starts to vibrate abnormally (check immediately).
- Stop the engine and disconnect the spark plug wire, make sure that all moving parts have come to a complete stop and, where a key is fitted remove the key:
- whenever you leave the lawn mower;
- before refueling.
- Reduce the throttle setting during engine shut down and, if the engine is provided with a shut-off valve, turn the fuel off at the conclusion of mowing.
Maintenance and storage
- Keep all nuts, bolts and screws tight to be sure the equipment are in safe working condition.
- Never store the equipment with petrol in the tank inside a building where fumes can reach an open flame or spark.
- Allow the engine to cool before storing in any enclosure.
- To reduce the fire hazard, keep the engine, silencer, battery compartment and petrol storage area free of grass, leaves, or excessive grease.
- Check the grass catcher frequently for wear or deterioration.
- Replace worn or damaged parts for safety.
- If the fuel tank has to be drained, this should be done outdoors.
WARNING: Do not touch rotating blade.
WARNING: Refuel in a well ventilated area with the engine stopped.
PARTS DESCRIPTION (Fig. 1, Fig. 2, Fig. 3, Fig. 4)
Including
A: Spark plug wrench




TECHNICAL DATA
| Model | PLM4630 | PLM4631 | PLM4632 | PLM5130 |
| Engine type | B&S 675EX Series, ReadyStart | B&S 675EX Series, ReadyStart | B&S 750EX Series, ReadyStart | B&S 750EX Series, ReadyStart |
| Self-propelled | No | Yes | Yes | Yes |
| Engine displacement | 190 cm3 | 190 cm3 | 161 cm3 | 161 cm3 |
| Blade width | 460 mm | 460 mm | 460 mm | 510 mm |
| Rated speed | 2,800/min | 2,800/min | 2,800/min | 2,800/min |
| Fuel tank capacity | 1.0 L | 1.0 L | 1.0 L | 1.0 L |
| Oil tank capacity | 0.6 L | 0.6 L | 0.6 L | 0.6 L |
| Grass catcher capacity | 60 L | 60 L | 60 L | 65 L |
| Net weight | 31.5 kg | 34 kg | 35 kg | 38 kg |
| Height adjustment | 20-75 mm, 8 adjustment | 20-75 mm, 8 adjustment | 20-75 mm, 8 adjustment | 20-75 mm, 8 adjustment |
| PLM4630 | PLM4631 | PLM4632 | PLM5130 | |
| Guaranteed Sound Pressure level at operator’s position (According to EN ISO 3744, EN ISO 4871) | 83.5 dB (A) (K=3 dB (A)) | 83.5 dB (A) (K=3 dB (A)) | 83.9 dB (A) (K=3 dB (A)) | 85.7 dB (A) (K=3 dB (A)) |
| Measured Sound Power level Guaranteed Sound Power level (According to 2000/14/EC) | 94.2 dB (A) K=1.95 dB (A) 96 dB (A) | 94.2 dB (A) K=1.95 dB (A) 96 dB (A) | 94.3 dB (A) K=1.80 dB (A) 96 dB (A) | 95.9 dB (A) K=2.16 dB (A) 98 dB (A) |
| Vibration (According to EN ISO 20643) | 6.58 m/s2 K=1.5 m/s2 | 6.58 m/s2 K=1.5 m/s2 | 7.12 m/s2 K=1.5 m/s2 | 6.53 m/s2 K=1.5 m/s2 |
ASSEMBLY
ASSEMBLE THE FOLDING HANDLE
- Fix the lower handlebar onto the handle bracket with bolt, washer and locking knob. (Fig. 5)
- Lift the two locking levers to connect the upper and lower handle. (Fig. 6)
- Push the locking lever closed to lock the handlebars in the operating position. (Fig. 7)
- Adjust the tension by turning the lock nut with a suitable spanner. (Fig. 8)
- Position the cable over the handle shaft. Clamp it around the middle of lower handle by the cable clamp and make sure the cable is fixed around the outside of the handle. (Fig. 9, Fig. 10) Otherwise the cable may be pinched by opening/closing the rear cover.






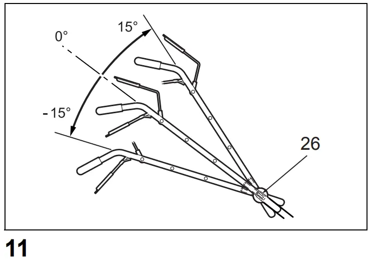
ADJUSTMENT FOR AN APPROPRIATE ANGLE
- Pull the locking lever opening.
- Rotating the upper handle centered of the angle adjusting gear for adjusting an appropriate angle into the scope -15º to 15º (3 position: -15º/0º/15º) as the Fig. 11 shown.
- Push the locking lever closed to connect the lower handle and the upper handle.

MOUNTING AND DISMOUNTING THE GRASS CATCHER
- To fit: Raise the rear cover and hitch the grass catcher on rear of mower. (Fig. 12, Fig. 13, Fig. 14)
- To remove: Grasp and lift rear cover, remove grass catcher.



STARTER HANDLE
Move the starter handle from the engine to the rope guide.
(Fig. 15)
HEIGHT OF CUT
Apply outward pressure to disengage lever from rack.
Move lever forward or back to adjust height. (Fig. 16 and see clause 7-9)
FUNCTION
These lawn mowers can be retrofitted from its normal function, based on the application purpose:
From lawn mower with rear collection to:
- Mulching mower or as
- Side-discharge mower.
What is mulching?
When mulching, the grass is cut in one working step, then finely chopped and returned to the grass strip as natural fertilizer.
Hints for mulch-mowing:
- Regular cut-back by max. 2 cm from 6 cm to 4 cm grass height.
- Use a sharp cutting knife.
- Do not mow wet grass.
- Set max. motor speed.
- Only move at working pace.
- Regularly clean mulching wedge, housing inner side and mowing blade.
Starting Operation
Retrofitting for mulching mower
WARNING: Only with a stopped motor and standstill cutter.
- Raise the rear cover and remove the grass catcher.
- Push the mulching wedge into the deck. Lock the mulching wedge with the button into the opening on the deck. (Fig. 17, Fig. 18)
- Lower the rear cover again. (Fig. 19)
- Lift sideward flap and remove the side discharge channel.



Resetting for side-discharge mowing
Only when motor and cutting are at standstill!
- Lift the rear cover and remove the grass catcher.
- Mount the mulching wedge.
- Lift sideward flap for side discharge. (Fig. 20)
- Mount the side discharge channel for side discharge on the support pin of the sideward flap. (Fig. 21)
- Lower the sideward flap- the flap lies on the side discharge channel. (Fig. 22)



Mowing with the grass catcher
Only with a stopped engine and standstill cutter.
For mowing with the grass catcher, remove the mulching wedge and discharge channel for side discharge and mount the grass catcher.
- Removing the mulching wedge.
- Lift rear cover and remove the mulching wedge.
- Removing the side discharge channel for side discharge.
- Lift sideward flap and remove the side discharge channel.
- The sideward flap automatically closes the discharge opening on the housing by mean of spring force.
- Regularly clean the sideward flap and discharge opening forms of grass rest and stuck dirt.
- Mount the grass catcher.
- To fit: Raise the rear cover and hitch the grass catcher on rear of mower.
- To remove: Grasp and lift the rear cover, remove grass catcher.
OPERATING INSTRUCTIONS
BEFORE STARTING
Service the engine with gasoline and oil as instructed in the separate engine manual packed in your mower. Read instructions carefully. (Fig. 23, Fig. 24, Fig. 25, Fig. 26)



WARNING: Petrol is highly flammable.
Store fuel in containers specifically designed for this purpose.
Refuel outdoors only, before starting the engine and do not smoke while refueling or handling fuel.
Never remove the cap of the fuel tank or add petrol while the engine is running or when the engine is hot.
If petrol is spilled, do not attempt to start the engine but move the machine away from the area of spillage and avoid creating any source of ignition until petrol vapors have dissipated.
Replace all fuel tanks and container caps securely.
Before tipping the lawn mower to maintain the blade or drain oil, remove fuel from tank.
WARNING: Never fill fuel tank indoors, with engine running or until the engine has been allowed to cool for at least 15 minutes after running.
TO START ENGINE AND ENGAGE BLADE
- The unit is equipped with a rubber boot over the end of the spark plug, make certain the metal loop on the end of the spark plug wire (inside the rubber boot) is fastened securely over the metal tip on the spark plug.
- When starting cool engine turn choke lever to “ ” position.
When starting warm engine and operating, turn throttle choke lever to “ ” position. (Fig. 27) - Standing behind the unit, grasp the brake control handle and hold it against the upper handle as shown in Fig. 28.
- Grasp the starter handle as shown in Fig. 28 and pull up rapidly. Return it slowly to the rope guide bolt after engine starts.


Release the brake control handle to stop the engine and blade.
Start the engine carefully according to instructions and with feet well away from the blade.
Do not tilt the lawn mower when starting the engine. Start the mower on a level surface, free of high grass or obstacles.
Keep hands and feet away from the rotating parts. Do not start the engine when standing in front of the discharge opening.
OPERATION PROCEDURES
During operation, tightly hold the brake handle with both hands.
Note: During operation, when the brake handle is released, the engine will stop and thus stopping the lawn mower from operating.
TO STOP ENGINE
CAUTION: The blade continues to rotate for a few seconds after the engine is shut off.
- Release the brake control handle to stop the engine and blade. (Fig. 29)
- Disconnect and ground the spark plug wire as instructed in the separate engine manual to prevent accidental starting while equipment is unattended.

CONNECTION FOR AUTO MOVE
For PLM4631
Grip the self-drive control handle, the lawn mower will move forward automatically with about 3.6 km/h (Fig. 30), release the self-drive handle, the lawn mower will stop move.
For PLM4632, PLM5130
The mower is equipped with a speed adjusting system which can adjust 3 speeds from 3.0 km/h to 4.5 km/h.
Position “
”: the slowest position; Position “
”: the fastest position. (Fig. 31)
The step as below:
- Release the self-drive control handle until the lawn mower does not go forward.
- Adjust the appropriate speed which you want. (Fig. 31)
- Grasp the self-drive control handle to go on mowing. (Fig. 30)


CAUTION: Your mower is designed to cut normal residential grass of a height no more than 250 mm.
Do not attempt to mow through unusually tall dry or wet grass (e.g., pasture) or piles of dry leaves. Debris may build up on the mower deck or contact the engine exhaust presenting a potential fire hazard.
FOR THE BEST RESULTS WHEN MOWING
Clear lawn of debris. Be sure that the lawn is clear of stones, sticks, wire or other foreign objects which could be accidentally thrown out by the mower in any direction and cause serious personal injury to the operator and others as well as damage to property and surrounding objects.
Do not cut wet grass. For effective mowing do not cut wet grass because it tends to stick to the underside of the deck preventing proper mowing of the grass clippings. Cut no more than 1/3 the length of the grass. The recommended cut for mowing is 1/3 the length of the grass. Ground speed will need to be adjusted so the clippings can be dispersed evenly into the lawn. For especially heavy cutting in thick grass it may be necessary to use one of the slowest speeds in order to get a clean well mowed cut. When mowing long grass you may have to cut the lawn in two passes, lowering the blade another 1/3 of the length for the second cut and perhaps cutting in a different pattern than was used the first time. Overlapping the cut a little on each pass will also help to clean up any stray clippings left on the lawn.
The mower should always be operated at full throttle to get the best cut and allow it to do the most effective job of mowing. Clean underside of deck. Be certain to clean the underside of the cutting deck after each use to avoid a build-up of grass, which would prevent proper mulching.
Mowing leaves. The mowing of leaves can also be beneficial to your lawn. When mowing leaves make sure they are dry and are not laying too thick on the lawn. Do not wait for all the leaves to be off the trees before you mow.
WARNING: If you strike a foreign object, stop the engine. Remove wire from spark plug, thoroughly inspect the mower for any damage and repair the damage before restarting and operating the mower. Extensive vibration of the mower during operation is an indication of damage.
The unit should be promptly inspected and repaired.
GRASS CATCHER
There is a level indicator on the top of the grass catcher that shows whether the catcher is empty or full (Fig. 32, Fig. 33):

- The level indicator inflates if the catcher is not full during the moving. (Fig. 33)
- If the catcher is full, the indicator collapses; once this happens, stop moving immediately and empty the catcher, make sure it is clean and ensure its meshwork is ventilated. (Fig. 32)
IMPORTANT
If the position of indicator opening is very dirty, the indicator will not inflate-in this case, clean the position of indicator opening immediately.
DECK
The underside of the mower deck should be cleaned after each use to prevent a buildup of grass clippings, leaves, dirt or other matter. If this debris is allowed to accumulate, it will invite rust and corrosion, and may prevent proper mulching. The deck may be cleaned by tilting the mower and scraping clean with a suitable tool (make certain the spark plug wire is disconnected).
HEIGHT ADJUSTMENT INSTRUCTIONS
CAUTION: Do not at any time make any adjustment to lawn mower without first stopping the engine and disconnecting the spark plug wire.
CAUTION: Before changing mowing height, stop mower and disconnect spark plug cable.
Your mower is equipped with a central height adjustment lever offering 8 height positions.
The height (the blade to the ground) can be adjusted from 20 mm to 75 mm (8 height positions). (Fig. 34)
The lowest adjustment: 20 mm (position 1), the highest adjustment: 75 mm (position 8).
- Stop mower and disconnect spark plug cable before changing mower cutting height.
- The central height adjustment lever offers you 8 different height positions. (Fig. 34)
To change the height of cut, squeeze adjustment lever toward the wheel, moving up or down to selected height.
MAINTENANCE INSTRUCTIONS
SPARK PLUG
Use only original replacement spark plug. For best results, replace the spark plug every 100 hours of use.
LUBRICATION INSTRUCTIONS
CAUTION: DISCONNECT SPARK PLUG BEFORE SERVICING.
- WHEELS-Lubricate the ball bearings in each wheel at least once a season with a light oil.
- ENGINE-Follow engine manual for lubrication instructions.
CLEANING
CAUTION: Do not hose engine. Water can damage engine or contaminate the fuel system.
- Wipe deck with dry cloth.
- Hose under deck by tilting the mower so that the spark plug is up.
ENGINE AIR CLEANER
CAUTION: Do not allow dirt or dust to clog the air filter foam element. The engine air cleaner element must be serviced (cleaned) after 25 hours normal mowing. The foam element must be serviced regularly if the mower is used in dry dusty conditions.
TO CLEAN AIR FILTER
- Remove the screw. (Fig. 35 for PLM4632 and PLM5130)
- Remove the locking knob. (Fig. 36 for PLM4630 and PLM4631)
- Remove the filter cover.
- Wash filter element in soap water. DO NOT USE GASOLINE!
- Air dry filter element.
- Place a few drops of SAE30 oil on the foam filter and squeeze tightly to remove any excess oil.
- Reinstall filter.


NOTE: Replace filter if frayed, torn, damaged or unable to be cleaned.
CUTTING BLADE
CAUTION: Be sure to disconnect and ground the spark plug wire before working on the cutting blade to prevent accidental engine starting. Protect hands by using heavy gloves or a rag to grasp the cutting blades. Tip mower as specified in separate engine manual. Remove the hex bolt and washer which hold the blade and blade adapter to the engine crankshaft. Remove the blade and adapter from the crankshaft.
WARNING: Periodically inspect the blade adapter for cracks, especially if you strike a foreign object.
Replace when necessary.
For best results your blade should be sharp. The blade may be resharpened by removing it and either grinding or filing the cutting edge keeping as close to the original bevel as possible. It is extremely important that each cutting edge receives an equal amount of grinding to prevent an unbalanced blade. Improper blade balance will result in excessive vibration causing eventual damage to the engine and mower. Be sure to carefully balance blade after sharpening. The blade can be tested for balance by balancing it on a round shaft screwdriver. Remove metal from the heavy side until it balances evenly. (Fig. 37)
Before reassembling the blade and the blade adapter to the unit, lubricate the engine crankshaft and the inner surface of the blade adapter with light oil. Install the blade adapter on the crankshaft. Refer to Fig. 37. Place the blade with the part number facing away from the adapter.
Align the washer over the blade and insert the hex bolt.
Tighten the hex bolt to the torque listed below.
BLADE MOUNTING TORQUE
Center bolt 40 Nm – 50 Nm, to insure safe operation of your unit. All nuts and bolts must be checked periodically for correct tightness.
After prolonged use, especially in sandy soil conditions, the blade will become worn and lose some of the original shape. Cutting efficiency will be reduced and the blade should be replaced. Replace with an approved factory replacement blade only. Possible damage resulting from blade unbalance condition is not the responsibility of the manufacturer.
When you change the blade, must use the original type marked on the blade (MAKITA 263001451 for PLM4630/ PLM4631/PLM4632, MAKITA 263002552 for PLM5130) (for order the blade, pls. contact your local dealer or call our company, see cover page).
ENGINE
Refer to the separate engine manual for engine maintenance instructions.
Maintain engine oil as instructed in the separate engine manual packed with your unit. Read and follow instructions carefully.
Service air cleaner as per separate engine manual under normal conditions.
Clean every few hours under extremely dusty conditions.
Poor engine performance and flooding usually indicates that the air cleaner should be serviced.
To service the air cleaner, refer to the separate engine manual packed with your unit.
The spark plug should be cleaned and the gap reset once a season. Spark plug replacement is recommended at the start of each mowing season; check engine manual for correct plug type and gap specifications.
Clean the engine regularly with a cloth or brush. Keep the cooling system (blower housing area) clean to permit proper air circulation which is essential to engine performance and life. Be certain to remove all grass, dirt and combustible debris from muffler area.
STORAGE INSTRUCTIONS (OFF SEASON)
The following steps should be taken to prepare lawn mower for storage.
- Empty the tank after the last mowing of the season.
- Empty the petrol tank with a suction pump.
CAUTION: Do not drain the petrol in closed rooms, in close proximity of open fire, etc. Do not smoke!
Petrol fumes can cause explosion or fire. - Start the engine and let it run until it has used up all remaining petrol and stalls.
- Remove the spark plug. Use an oilcan to fill approx.
20 ml oil into the combustion chamber. Operate the starter to evenly distribute the oil in the combustion chamber. Replace the spark plug.
- Empty the petrol tank with a suction pump.
- Clean and grease the lawn mower carefully as described above under “LUBRICATION INSTRUCTIONS”.
- Slightly grease the cutter to avoid corrosion.
- Store the lawn mower in a dry, clean and frostprotected place, out of reach of unauthorized persons.
CAUTION: The engine must have completely cooled down before storing the lawn mower.
NOTE:
- When storing any type of power equipment in an unventilated or material storage shed.
- Care should be taken to rust-proof the equipment.
Using a light oil or silicone, coat the equipment, especially cables and all moving parts. - Be careful not to bend or kink cables.
- If the starter rope becomes disconnected from rope guide on handle, disconnect and ground the spark plug wire, depress the blade control handle and pull the starter rope out from engine slowly. Slip the starter rope into the rope guide bolt on handle.
Transport
Turn the engine off. Ensure not to bend or damage the cutter when pushing the lawn mower over obstacles.
TROUBLESHOOTING
| PROBLEM | PROBABLE CAUSE | CORRECTIVE ACTION |
| Engine does not start. | Throttle choke not in the correct position for the prevailing conditions. | Move throttle choke to correct position. |
| Fuel tank is empty. | Fill tank with fuel: refer to ENGINE OWNERS MANUAL. | |
| Air cleaner element is dirty. | Clean air cleaner element: refer to ENGINE OWNERS MANUAL. | |
| Spark plug loose. | Tighten spark plug to 25-30 Nm. | |
| Spark plug wire loose or disconnected from plug. | Install spark plug wire on spark plug. | |
| Spark plug gap is incorrect. | Set gap between electrodes at 0.7 to 0.8 mm. | |
| Spark plug is defective. | Install new, correctly gapped plug: refer to ENGINE OWNERS MANUAL. | |
| Carburetor is flooded with fuel. | Remove air cleaner element and pull starter rope continuously until carburetor clears itself and install air cleaner element. | |
| Faulty ignition module. | Contact the service agent. | |
| Engine difficult to start or loses power. | Dirt, water, or stale fuel tank. | Drain fuel and clean tank. Fill tank with clean, fresh fuel. |
| Vent hole in fuel tank cap is plugged. | Clean or replace fuel tank cap. | |
| Air cleaner element is dirty. | Clean air cleaner element. | |
| Engine operates erratically. | Spark plug is defective. | Install new, correctly gapped plug: refer to ENGINE OWNERS MANUAL. |
| Spark plug gap is incorrect. | Set gap between electrodes at 0.7 to 0.8 mm. | |
| Air cleaner element is dirty. | Clean air cleaner element: refer to ENGINE OWNERS MANUAL. | |
| Engine idles poorly. | Air cleaner element is dirty. | Clean air cleaner element: refer to ENGINE OWNERS MANUAL. |
| Air slots in engine shroud are blocked. | Remove debris from slots. | |
| Cooling fins and air passages under engine blower housing are blocked. | Remove debris from cooling fins and air passages. | |
| Engine skips at high speed. | Gap between electrodes of spark plug is too close. | Set gap between electrodes at 0.7 to 0.8 mm. |
| Engine overheats. | Cooling air flow is restricted. | Remove any debris from slots in shroud, blower housing, air passages. |
| Incorrect spark plug. | For PLM4630/PLM4631: Install RJ19LMC spark plug and cooling fins on engine. For PLM4632/PLM5130: Install QC12YC spark plug and cooling fins on engine. | |
| Mower vibrates abnormally. | Cutting assembly is loose. | Tighten blade. |
| Cutting assembly is unbalanced. | Balance blade. |
ENVIRONMENT
Should your machine need replacement after extended use, do not put it in the domestic waste but dispose of it in an environmentally safe way.
For European countries only
EC Declaration of Conformity
We Makita Corporation as the responsible manufacturer declare that the following Makita machine(s):
Designation of Machine: Petrol Lawn Mower
Model No. /Type: PLM4630, PLM4631, PLM4632, PLM5130
Specifications: See “4. TECHNICAL DATA” are of series production and conforms to the following European Directives:
2004/108/EC, 2006/42/EC,
2000/14/EC & 2005/88/EC
And are manufactured in accordance with following standards or standardized documents:
EN 836, EN ISO 14982
The technical documentation is kept by:
Makita International Europe Ltd.,
Technical Department,
Michigan Drive, Tongwell,
Milton Keynes, Bucks MK15 8JD, England
The conformity assessment procedure required by Directive 2000/14/EC was in Accordance with Annex VI.
Notified Body:
TÜV SÜD Industrie Service GmbH
Westendstraße 199, D-80686 München
Identification Number: 0036
Model: PLM4630, PLM4631
Measured Sound Power Level: 94.2 dB (A)
Guaranteed Sound Power Level: 96 dB (A)
Model: PLM4632
Measured Sound Power Level: 94.3 dB (A)
Guaranteed Sound Power Level: 96 dB (A)
Model: PLM5130
Measured Sound Power Level: 95.9 dB (A)
Guaranteed Sound Power Level: 98 dB (A)
30. 11. 2012
Tomoyasu Kato
Director
Makita Corporation
3-11-8, Sumiyoshi-cho,
Anjo, Aichi, 446-8502, JAPAN
Makita Corporation
Anjo, Aichi, Japan
www.makita.com








































