Standard Cleaning Gas Range
User Guide
Standard Cleaning Gas Range
THANK YOU for purchasing this high-quality product. Register your new range at www.whirlpool.com. In Canada, register your range at www.whirlpool.ca.
For future reference, please make a note of your product model and serial numbers. These can be located on the oven frame behind the top right side of the oven door.
Model Number______________
Serial Number_____________
RANGE SAFETY
Your safety and the safety of others are very important. We have provided many important safety messages in this manual and on your appliance. Always read and obey all safety messages.
This is the safety alert symbol.
This symbol alerts you to potential hazards that can kill or hurt you and others.
All safety messages will follow the safety alert symbol and either the word “DANGER” or “WARNING.” These words mean:
DANGER You can be killed or seriously injured if you don’t immediately follow instructions.
WARNING You can be killed or seriously injured if you don’t follow instructions.
All safety messages will tell you what the potential hazard is, tell you how to reduce the chance of injury, and tell you what can happen if the instructions are not followed.
WARNING: If the information in these instructions is not followed exactly, a fire or explosion may result causing property damage, personal injury or death.
- Do not store or use gasoline or other flammable vapors and liquids in the vicinity of this or any other appliance.
- WHAT TO DO IF YOU SMELL GAS:
• Do not try to light any appliance.
• Do not touch any electrical switch.
• Do not use any phone in your building.
• Immediately call your gas supplier from a neighbor’s phone. Follow the gas supplier’s instructions.
• If you cannot reach your gas supplier, call the fire department. - Installation and service must be performed by a qualified installer, service agency or gas supplier.
WARNING: Gas leaks cannot always be detected by smell.
Gas suppliers recommend that you use a gas detector approved by UL or CSA.
For more information, contact your gas supplier.
If a gas leak is detected, follow the “What to do if you smell gas” instructions.
The Anti-Tip Bracket
The range will not tip during normal use. However, the range can tip if you apply too much force or weight to the open door without the anti-tip bracket fastened down properly.
WARNING![]()
Tip Over Hazard
A child or adult can tip the range and be killed.
Verify the anti-tip bracket has been properly installed and engaged per installation instructions.
Re-engage the anti-tip bracket if the range is moved.
Do not operate the range without an anti-tip bracket installed and engaged.
Failure to follow these instructions can result in death or serious burns to children and adults.
To verify the anti-tip bracket is installed and engaged:
- Slide range forward.
- Look for the anti-tip bracket securely attached to the floor or wall.
- Slide the range back so the rear range foot is under the anti-tip bracket.
- See installation instructions for details.
IMPORTANT SAFETY INSTRUCTIONS
WARNING: To reduce the risk of fire, electrical shock, injury to persons, or damage when using the range, follow basic precautions, including the following:
- WARNING: TO REDUCE THE RISK OF TIPPING OF THE RANGE, THE RANGE MUST BE SECURED BY PROPERLY INSTALLED ANTI-TIP DEVICES. TO CHECK IF THE DEVICES ARE INSTALLED PROPERLY, SLIDE THE RANGE FORWARD, LOOK FOR AN ANTI-TIP BRACKET SECURELY ATTACHED TO THE FLOOR OR WALL, AND SLIDE THE RANGE BACK SO THE REAR RANGE FOOT IS UNDER THE ANTI-TIP BRACKET.
- WARNING: NEVER use this appliance as a space heater to heat or warm the room. Doing so may result in carbon monoxide poisoning and overheating of the oven.
- WARNING: NEVER cover any slots, holes, or passages in the oven bottom or cover an entire rack with materials such as aluminum foil. Doing so blocks airflow through the oven and may cause carbon monoxide poisoning.
Aluminum foil linings may also trap heat, causing a fire hazard. - CAUTION: Do not store items of interest to children in cabinets above a range or in the backyard of a range – children climbing on the range to reach items could be seriously injured.
- Proper Installation – The range, when installed, must be electrically grounded in accordance with local codes or, in the absence of local codes, with the National Electrical
Code, ANSI/NFPA 70. In Canada, the range must be electrically grounded in accordance with Canadian Electrical Code. Be sure the range is properly installed and grounded by a qualified technician. - This range is equipped with a three-prong grounding plug for your protection against shock hazards and should be plugged directly into a properly grounded receptacle. Do not cut or remove the grounding prong from this plug.
- Disconnect power before servicing.
- Injuries may result from the misuse of appliance doors or drawers such as stepping, leaning, or sitting on the doors or drawers.
- Maintenance – Keep the range area clear and free from combustible materials, gasoline, and other flammable vapors and liquids.
- Storage in or on the Range – Flammable materials should not be stored in an oven or near surface units.
- The top burner flame size should be adjusted so it does not extend beyond the edge of the cooking utensil. For self-cleaning ranges –
- Before Self-Cleaning the Oven – Remove the broiler pan and other utensils. Wipe off all excessive spillage before initiating the cleaning cycle.
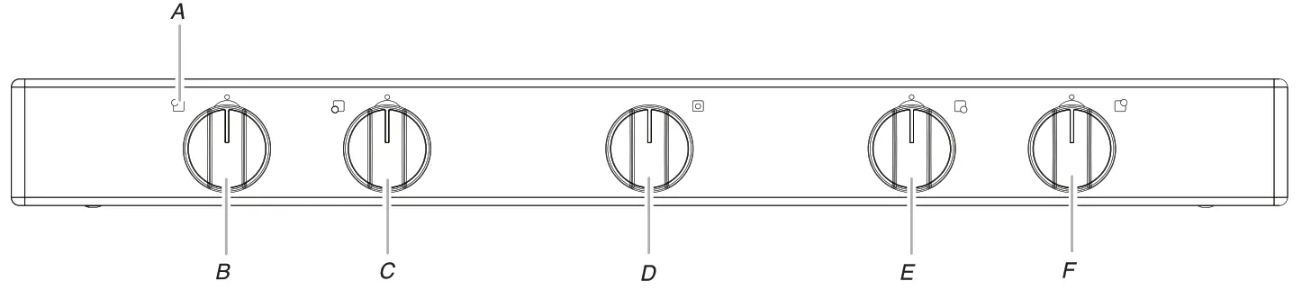
COOKTOP USE
Cooktop Controls

| A. Surface burner locator | D. Center burner control knob |
| B. Left rear burner control knob | E. Right front burner control knob |
| C. Left front burner control knob | F. Right rear burner control knob |
WARNING![]()
Fire Hazard
Do not let the burner flame extend beyond the edge of the pan.
Turn off all controls when not cooking.
Failure to follow these instructions can result in death or fire.
Electric igniters automatically light the surface burners when control knobs are turned to LITE.
Before setting a control knob, place filled cookware on the grate. Do not operate a burner using empty cookware or without cookware on the grate.
IMPORTANT: Do not lift the cooktop on sealed burner models.
Lifting the cooktop can lead to damage and improper operation of the range.
To Set Burner Temperature:
- Push in and turn the knob counterclockwise to LITE.
All surface burners will click. Only the burner with the control knob turned to LITE will produce a flame. - Turn the knob to anywhere between High and Low. The clicking will stop. Use the following chart as a guide when setting heat levels.
| SETTING | RECOMMENDED USE |
| LITE | • Light the burner. |
| High | • Start food cooking. • Bring liquid to a boil. |
| Med (medium) | • Hold a rapid boil. • Quickly brown or sear food. • Fry or sauté foods. • Cook soups, sauces, and gravies. • Stew or steamed foods. |
| Low | • Keep food warm. • Simmer (use smallest burners). |
Power failure
In case of prolonged power failure, the surface burners can be lit manually. Hold a lit match near a burner and turn the knob counterclockwise to LITE. After the burner lights, turn the knob to set.
Surface Burners

| A. Burner cap B. Burner base C. Alignment pins | D. Igniter electrode E. Gas tube opening |
IMPORTANT: Do not obstruct the flow of combustion and ventilation air around the burner grate edges.
Burner cap: Always keep the burner cap in place when using a surface burner. A clean burner cap will help avoid poor ignition and uneven flames. Always clean the burner cap after a spillover and routinely remove and clean the caps according to the “General Cleaning” section.
Gas tube opening: Gas must flow freely throughout the gas tube opening for the burner to light properly. Keep this area free of soil and do not allow spills, food, cleaning agents, or any other material to enter the gas tube opening. Keep spillovers out of the gas tube by always using a burner cap.
Burner ports: Check burner flames occasionally for proper size and shape as shown above. A good flame is blue in color, not yellow. Keep this area free of soil and do not allow spills, food, cleaning agents, or any other material to enter the burner ports.
To Clean:
IMPORTANT: Before cleaning, make sure all controls are off and the oven and cooktop are cool. Do not use oven cleaners, bleach, or rust removers.
- Remove the surface grates.
- Remove the burner cap from the burner base and clean it according to the “General Cleaning” section.
- Clean the gas tube opening with a damp cloth.
- Clean clogged burner ports with a straight pin as shown. Do not enlarge or distort the port. Do not use a wooden toothpick. If the burner needs to be adjusted, contact a trained repair specialist.

- Replace the burner cap, making sure the alignment pins are properly aligned with the burner cap.

- Replace the surface grates.
- Turn on the burner. If the burner does not light, check the cap alignment. If the burner still does not light, do not service the burner yourself. Contact a trained repair specialist.
Griddle
IMPORTANT: To avoid damage to the griddle, the griddle is to be used on the side burners only and with low flame. Before First Use:
Wash the griddle with warm soapy water. Rinse and dry thoroughly. To avoid sticking, rub the surface with vegetable oil, and wipe the excess off with a paper towel.
- Do not leave an empty griddle on a hot surface cooking area or surface burner.
- Do not overheat the griddle. The nonstick coating could be damaged.
- The griddle should not be used to bake, broil or microwave.
- To reduce spattering or grease spillover while cooking, avoid cooking food with excess fat.
- To preserve durability, do not cut food on the griddle.
- Avoid the use of metal utensils.
Home Canning
When canning for long periods, alternate the use of surface burners between batches. This allows time for the most recently used areas to cool.
- Center the canner on the grate above the burner.
- Do not place the canner on 2 surface burners at the same time.
- For more information, contact your local agricultural department. Companies that manufacture home canning products can also offer assistance.
Cookware
IMPORTANT: Do not leave empty cookware on a hot surface cooking area, element, or surface burner.
Ideal cookware should have a flat bottom, straight sides, and a well-fitting lid, and the material should be of medium-to-heavy thickness.
Rough finishes may scratch the cooktop or grates. Aluminum and copper may be used as a core or base in cookware. However, when used as a base they can leave permanent marks on the cooktop or grates.
Cookware material is a factor in how quickly and evenly heat is transferred, which affects cooking results. A nonstick finish has the same characteristics as its base material. For example, aluminum cookware with a nonstick finish will take on the properties of aluminum.
Cookware with nonstick surfaces should not be used under the broiler.
Use the following chart as a guide for cookware material characteristics.
| COOKWARE | CHARACTERISTICS |
| Aluminum | • Heats quickly and evenly. • Suitable for all types of cooking. • Medium or heavy thickness is best for most cooking tasks. |
| Cast iron | • Heats slowly and evenly. • Good for browning and frying. • Maintains heat for slow cooking. |
| Ceramic or Ceramic glass | • Follow the manufacturer’s instructions. • Heats slowly, but unevenly. • Ideal results on low to medium heat settings. |
| Copper | • Heats very quickly and evenly. |
| Earthenware | • Follow the manufacturer’s instructions. • Use low heat settings. |
| Porcelain enamel-on-steel or cast iron | • See stainless steel or cast iron. |
| Stainless steel | • Heats quickly, but unevenly. • A core or base of aluminum or copper on stainless steel provides even heating. |
ELECTRONIC OVEN CONTROL

| A. Oven Light | G. Cancel |
| B. Clock | H. Temp/Time |
| C. Bake indicator light | I. Broil |
| D. Display | J. Bake |
| E. Timer indicator light | K. Broil indicator light |
| F. Start (control lock) | L. Timer Set/Off |
Display
When power is first supplied to the appliance, a flashing time will appear on the display. Press OFF/CANCEL to clear the flashing time from the display.
If flashing time appears, a power failure has occurred. Press OFF/CANCEL and reset the clock if needed.
When the oven is not in use, the display shows the time of day.
When performing a cook or timer function, the display will show either hours and minutes or minutes and seconds.
Oven Indicator Lights
The indicator lights are located on both sides of the display. The indicator lights light up or flash when the oven is in one of the following modes: Bake, Broil, or Timer.
Start
Start begins any oven function. If Start is not pressed within 5 seconds after pressing a function pad, the Push to Start (“PSH”) indicator light will flash and the push to start tone will sound as a reminder.
If Start is not pressed within 1 minute after pressing a function pad, the oven display will return to the time of day mode and the programmed function will be canceled.
Off/Cancel
Off/Cancel stops any function except the Clock, Timer, and Control Lock.
Clock
This is a 12-hour clock and does not show a.m. or p.m.
To Set:
Before setting, make sure the oven and Timer are off. Press OFF/CANCEL to cancel the oven, and press TIMER SET/OFF twice to cancel the timer.
- Press CLOCK.
- Press the TEMP/TIME “up” or “down” arrow pads to set the time of day.
- Press CLOCK or START.
Tones
Tones are audible signals, indicating the following:
One tone
- Valid pad press
- The oven is preheated (long tone)
- The function has been entered
Three tones
- Invalid pad press
- Push to start reminder
Cycling tones
- End of cycle
Fahrenheit and Celsius
The temperature is preset at Fahrenheit but can be changed to Celsius.
To Change: Press and hold BROIL for 5 seconds. A tone will sound, and “C” will appear on the display. Repeat to change back to Fahrenheit. To exit mode, press OFF/CANCEL or wait 3 seconds.
Timer
The timer can be set in hours or minutes up to 12 hours and 59 minutes and counts down the set time either in hours and minutes or in minutes and seconds. The timer does not start or stop the oven.
To Set:
- Press TIMER SET/OFF. The timer indicator light will light up.
- Press the TEMP/TIME “up” or “down” arrow pads to set the length of time.
- Press START. When the set time ends, end-of-cycle tones will sound.
- Press the TIMER SET/OFF pad twice anytime to cancel the timer and reminder tones.
If Off/Cancel is pressed, the oven will turn off and the cook function will be disabled.
To display the time of day for 5 seconds when the timer is counting down, press CLOCK.
If Start is not pressed within 5 seconds after pressing the Timer Set/ Off or Temp/Time arrow pads, the “PSH” indicator light will flash and the push to start tone will sound as a reminder. If no action is taken after 1 minute, the display will return to the time of day or bake or broil mode.
The timer can be reprogrammed to change the time while it is running.
To Reprogram:
- Press TIMER SET/OFF.
- Press the TEMP/TIME “up” or “down” arrow pads to adjust the time.
- Press START.
Control Lock
The Control Lock function blocks the control panel pads to avoid unintended use of cook functions.
When the control is locked, only Clock, Oven Light, and Timer Set/Off will function.
To Lock/Unlock Control: Before locking, make sure the cook functions are off. Press and hold START for 3 seconds, and “Loc” will appear on the display. Repeat to unlock. “Loc” will disappear from the display.
Oven Temperature Control
IMPORTANT: Do not use a thermometer to measure oven temperature. Elements will cycle on and off as needed to provide consistent temperature but may run slightly hot or cool at any point in time due to this cycling. Most thermometers are slow to react to temperature change and will not provide an accurate reading due to this cycling.
The oven provides accurate temperatures; however, it may cook faster or slower than your previous oven, so the temperature calibration can be adjusted. It can be changed in Fahrenheit or Celsius.
A minus sign means the oven will be cooler by the displayed amount. The absence of a minus sign means the oven will be warmer by the displayed amount. Use the following chart as a guide.
| ADJUSTMENT °F (ADJUSTMENT °C) | COOKS FOOD |
| 10°F (6°C) | …a little more |
| 20°F (11°C) | …moderately more |
| 30°F (17°C) | …much more |
| -10°F (-6°C) | …a little less |
| -20°F (-11°C) | …moderately less |
| -30°F (-17°C) | …much less |
To Adjust Oven Temperature Calibration:
- Press and hold BAKE for 5 seconds until the oven display shows the current calibration, for example, “00.”
- Press the TEMP/TIME “up” or “down” arrow pad(s) to increase or decrease the temperature in 10°F (6°C) amounts. The adjustment can be set between 30°F (17°C) and -30°F (-17°C).
- Press START to save the adjustment, or press OFF/CANCEL to exit without change.
OVEN USE
Odors and smoke are normal when the oven is used the first few times, or when it is heavily soiled.
IMPORTANT: The health of some birds is extremely sensitive to the fumes given off. Exposure to the fumes may result in the death of certain birds. Always move birds to another closed and well-ventilated room.
Aluminum Foil
IMPORTANT: To avoid permanent damage to the oven bottom finish and the broiler door handle, do not line the oven bottom with any type of foil or liner.
- On those models with bottom vents, do not block or cover the oven bottom vents.
- For best cooking results, do not cover the entire rack with foil because air must be able to move freely.
- To catch spills, place foil on the rack below the dish. Make sure the foil is at least 1/2″ (1.3 cm) larger than the dish and that it is turned up at the edges.
Positioning Racks and Bakeware
IMPORTANT: To avoid permanent damage to the porcelain finish, do not place food or bakeware directly on the oven door or bottom.
RACKS
- Position racks before turning on the oven.
- Do not move racks with bakeware on them.
- Make sure the racks are level.
For best performance, cook on one rack. Place the rack so the top of the food will be centered in the oven. To move a rack, pull it out to the stop position, raise the front edge, then lift it out.

| FOOD | PREHEAT TIME | RACK POSITION |
| Cookies, layer cakes, biscuits | 8-9 minutes | 4-Feb |
| Quick bread, angel food, bundt cakes, pies, pizza | 7 minutes | 3 |
| Muffins, cupcakes, brownies | 6 minutes | 4 |
| Large roasts or poultry | N/A | 2 |
| Casseroles | 8-9 minutes | 3 |
BAKEWARE
To cook food evenly, hot air must be able to circulate. Allow 2″ (5 cm) of space around bakeware and oven walls. Use the following chart as a guide.
NUMBER OF PANS (S)
POSITION ON RACK
| 1 | Center of the rack. |
| 2 | Side by side or slightly staggered. |
| 3 or 4 | Use racks 2 and 4. Position bakeware on racks as shown. |

Bakeware
The bakeware material affects cooking results. Follow the manufacturer’s recommendations and use the bakeware size recommended in the recipe. Use the following chart as a guide.
| BAKEWARE/RESULTS | RECOMMENDATIONS |
| Light-colored aluminum • Light golden crusts • Even browning | • Use the temperature and time recommended in the recipe. |
| Dark aluminum and other bakeware with dark, dull, and/or nonstick finish • Brown, crisp crusts | • May need to reduce baking temperatures slightly. • Use suggested baking time. • For pies, bread and casseroles, use the temperature recommended in the recipe. • Place rack in center of oven. |
| Insulated cookie sheets or baking pans • Little or no bottom browning | • Place in the bottom third of the oven. • May need to increase the baking time. |
| Stainless steel • Light, golden crusts • Uneven browning | • May need to increase the baking time. |
| Stoneware/Baking stone • Crisp crusts | • Follow the manufacturer’s instructions. |
| Ovenproof glassware, ceramic glass, or ceramic • Brown, crisp crusts | • May need to reduce baking temperatures slightly. |
Oven Vent

The oven vent releases hot air and moisture from the oven, and should not be blocked or covered. Blocking or covering the oven vent will cause poor air circulation, affecting cooking and cleaning results. Do not set plastics, paper, or other items that could melt or burn near the oven vent.
Baking and Roasting
IMPORTANT: To avoid damage to the interior finish, do not place food or cookware on the oven door or oven bottom.
Before baking and roasting, position racks according to the “Positioning Racks and Bakeware” section.
To Bake or Roast:
- Press BAKE.
Press TEMP/TIME or TEMP/HOUR “up” or “down” arrow pads to set a temperature other than 350°F (175°C) in 5°amounts. The bake range can be set between 170°F and 500°F (75°C and 260°C). - Press START or START/ENTER.
The temperature can be changed at any time after this step by pressing the Temp/Time or Temp/Hour “up” or “down” arrow pads. The start does not need to be pressed again. If baking/roasting while the Timer is counting down, the set baking/roasting temperature can be displayed for 5 seconds by pressing Bake. - Press OFF/CANCEL or CANCEL/OFF when finished.
Preheating
After Start is pressed, the oven will enter a timed preheat cycle.
The bake indicator light will light up. The Electronic Oven Control automatically selects the preheat cycle time based on the oven temperature selected. The cycle time will not change if the temperature is reset before the cycle countdown ends. Preheat is complete and the oven is ready to use when a 1-second tone sounds, the cycle countdown ends, and the set temperature is displayed.
Preheat temperatures are affected by varying factors such as room temperature and peak energy usage times. It is normal for the temperature showing on the display and the actual oven temperature to differ.
Waiting an additional 10 minutes after the preheat time ends to put food in the oven is suggested when baking foods with leavening ingredients, such as yeast, baking powder, baking soda and eggs.
IMPORTANT: When the oven is baking, the burner in the broiler drawer will be on. Do not store anything in the broiler drawer.
Broiling
BROILER
The broiler is located below the oven door. Use an oven rack for broiling. To remove a rack, pull it out to the stop position, raise the front edge, then lift out. Reverse the steps to replace a rack.
Always broil with both the broiler and the oven doors closed.
- To avoid damage to the broiler, do not step on or apply weight to the broiler door while it is open.
- Preheat the broiler before use. Recommended preheat times can be found in the Broiling Chart. Completely close the broiler door during broiling.
- Do not use a broiler cavity for storage.
- Broiling uses direct radiant heat to cook food. Changing the temperature when broiling allows more precise control when cooking. The lower the temperature, the slower the cooking.
Thicker cuts and unevenly shaped pieces of meat, fish, and poultry may cook better at lower broiling temperatures. - For best results, use a broiler pan and grid. It is designed to drain juices and help avoid spatter and smoke.
If you would like to purchase a broiler pan, one may be ordered. Please refer to the cover for contact information. Ask for Part Number 4396923. - Pull out the rack to the stop position before turning or removing food. Use tongs to turn food to avoid the loss of juices. Very thin cuts of fish, poultry or meat may not need to be turned.
To Broil:
- Open the broiler door and pull the rack out to the stop position.
- Place food on a grid in a broiler pan, then place it in the center of the oven rack.
- Push the oven rack back to its original position. Close the door to ensure proper broiling temperature.
- Press BROIL.
The BROIL indicator light will light up. - Press START.
The indicator light will light up. The temperature setting can be changed at any time during broiling. If broiling while the Timer is counting down, the set broiling temperature can be displayed for 5 seconds by touching BROIL. - Press OFF/CANCEL or CANCEL/OFF when finished broiling.
BROILING CHART
For best results, place food 3″ (7.0 cm) or more from the broil element. Times are guidelines only and may need to be adjusted for individual foods and tastes. Broiling may be affected by the size, weight, and thickness of the food.
| FOOD | PREHEATNEEDED? | RACK POSITION | COOK TIME Minutes SIDE 1 SIDE 2 |
| Ground meat patties 3/4″ (1.8 cm) thick, well-done | 5 minutes | 2 | 6 |
| Fish fillets 1 ½” (3.8 cm) thick | 11 minutes | 1 |
| FOOD | PREHEATNEEDED? | RACK POSITION | COOK TIME Minutes SIDE 1 SIDE 2 | |
| Chicken breasts, boneless bone-in | No No | 2 2 | 12 20 | 18 16 |
| Frankfurters, well-done | 5 minutes | 1,2 | 5 | 4-Mar |
| Pork chops 1″ (2.5 cm) thick, well-done | No | 2 | 11-Oct | 9-Aug |
| Steak 1″ (2.5 cm) thick, medium rare, medium well-done | No No No | 1 1 1 | 7 11 12-13 | 5 6 8 |
| Ham slice, precooked 1/2″ (1.3 cm) thick | No | 2 | 6 | 8 |
| Toast, 9 slices | No | 2 | 4-Mar | 2-Jan |
| French fries, 18 oz (510 g) | No | 2 | 15-17 | |
| Nuggets, 12 oz(340 g) | No | 2 | 7 | 5 |
RANGE CARE
General Cleaning
IMPORTANT: Before cleaning, make sure all controls are off and the oven and cooktop are cool. Always follow label instructions on cleaning products. Do not wipe down any of the inside surfaces until the oven has completely cooled down. To avoid breaking the glass, do not apply a cool damp cloth to the inner door glass before it has completely cooled.
Soap, water, and a soft cloth or sponge are suggested first unless otherwise noted.
EXTERIOR PORCELAIN ENAMEL SURFACES (on some models)
Food spills containing acids, such as vinegar and tomato, should be cleaned as soon as the entire appliance is cool. These spills may affect the finish.
Cleaning Method:
- Glass cleaner, mild liquid cleaner, or nonabrasive scrubbing pad:
Gently clean around the model and serial number plate because scrubbing may remove numbers. - Affresh ® Kitchen and Appliance Cleaner Part Number W10355010 (not included):
See the “Assistance or Service” section to order.
COOKTOP CONTROLS
To avoid damage to the cooktop controls, do not use steel wool, abrasive cleansers or oven cleaner.
To avoid damage, do not soak knobs.
When replacing knobs, make sure knobs are in the Off position.
On some models, do not remove seals under knobs.
Cleaning Method:
- Warm, soapy water:
Pull knobs straight away from the control panel to remove them. Gently clean cooktop controls because scrubbing may remove graphics or text.
CONTROL PANEL
To avoid damage to the control panel, do not use abrasive cleaners, steel-wool pads, gritty washcloths, or abrasive paper towels.
Cleaning Method:
- Glass cleaner and soft cloth or sponge:
Apply glass cleaner to a soft cloth or sponge, not directly on the panel. Gently clean the control panel because scrubbing may remove graphics or text. - Affresh ® Kitchen and Appliance Cleaner Part Number W10355010 (not included):
See the “Assistance or Service” section to order.
PORCELAIN-COATED GRATES AND CAPS
Food spills containing acids, such as vinegar and tomato, should be cleaned as soon as the cooktop, grates, and caps are cool.
These spills may affect the finish.
To avoid chipping, do not bang grates and caps against each other or hard surfaces such as cast iron cookware.
Do not reassemble caps on burners while they are wet.
Cleaning Method:
- Nonabrasive plastic scrubbing pad and mildly abrasive cleanser:
Clean as soon as the cooktop, grates, and caps are cool. - Dishwasher (grates only, not caps):
Use the most aggressive cycle. Cooked-on soils should be soaked or scrubbed before going into a dishwasher. - Gas Grate and Drip Pan Cleaner Part Number 31617:
See the “Assistance or Service” section to order.
GRIDDLE (on some models)
Oil or food residue should be cleaned as soon as the cooktop and the griddle are cool. Do not allow grease to accumulate under the griddle.
Cleaning the griddle in the dishwasher can damage the nonstick coating.
The use of abrasive cleaners, steel-wood pads, or other abrasive scrubbing pads can damage the nonstick coating.
Cleaning Method:
- Wipe with a dry soft cloth or soft paper towels to remove food particles.
- Warm, soapy water or another cleaner safe for nonstick pans.
- Soft cloth or sponge.
If the griddle is washed, it will need to be coated again with vegetable oil to preserve the nonstick finish as well as the durability of the griddle.
SURFACE BURNERS
See the “Surface Burners” section.
OVEN DOOR EXTERIOR
Cleaning Method:
- Glass cleaner and a soft cloth or sponge: Apply glass cleaner to a soft cloth or sponge, not directly on the panel. Do not soak soft cloth or sponge. Gently clean the door because scrubbing may remove the nameplate.
- Affresh ® Kitchen and Appliance Cleaner Part Number W10355010 (not included): See the “Assistance or Service” section to order.
OVEN CAVITY
Food spills should be cleaned when the oven cools. At high temperatures, foods react with porcelain, and staining, etching, pitting or faint white spots can result.
On some models, the oven door can be removed. See the “Oven Door” section first.
Cleaning Method:
- Steel-wool pad
- Oven cleaner: Follow product label instructions.
OVEN RACKS AND ROASTING RACKS
Cleaning Method:
- Steel-wool pad
Oven Light
The oven light is a standard 40 W appliance bulb. When the oven door is closed, press OVEN LIGHT to turn on the light.
Before replacing, make sure the oven and cooktop are cool and the control knobs are off.
To Replace:
- Unplug the range or disconnect the power.
- Turn the bulb counterclockwise to remove it from the socket.
- Replace the bulb.
- Plug in the range or reconnect the power.
Oven Door
For normal range use, it is not suggested to remove the oven door. However, if removal is necessary, make sure the oven is off and cool. Then, follow these instructions. The oven door is heavy.
To Remove:
- Open the oven door. Insert the hinge locks into both hinge hangers. See the following illustration. Do not unlock hinges while the door is removed from the range.

- Grasp the door on the sides with your fingers on the front of the door and your thumbs on the inside surface.

- Pull the door straight up, then toward you. Do not unlock the hinges until the door is replaced on the range.
To Replace:
- Grasp the door on the sides with your fingers on the front of the door and your thumbs on the inside surface.

- Hold the oven door so that the top edge of each door slot is horizontal. Insert the door hinge into the hinge slots.
- Tilt the top of the door toward the range. Insert the bottom door hinge notch down onto the front frame edge.

- Open the door completely and unlock the hinges.

- Close the door slowly to assure door-side panel clearance and proper hinge engagement.
Removing the Oven Bottom
The oven bottom can be removed for standard cleaning of the oven.
Before cleaning, make sure the oven is completely cool.
To Remove:
- Remove the oven racks.
- Place fingers in the slots in the bottom panel.

- Lift the rear of the panel up and back.
The lip at the front of the panel should clear the front frame of the oven cavity. - Lift the bottom up and out.
To Replace:
Reverse the previous steps 1-4.
TROUBLESHOOTING
Try the solutions suggested here first in order to avoid the cost of an unnecessary service call.
WARNING![]()
Electrical Shock Hazard
Plug into a grounded 3-prong outlet.
Do not remove the ground prong.
Do not use an adapter.
Do not use an extension cord.
Failure to follow these instructions can result in death, fire, or electrical shock.
- Is the power outlet properly wired and polarized?
Try another outlet to check for proper wiring and polarity. - Is the power supply cord unplugged?
Plug into a properly grounded 3 prong outlet. - Has a household fuse been blown, or has a circuit breaker tripped?
Replace the fuse or reset the circuit breaker. If the problem continues, call an electrician. - Is the main or regulator gas shutoff valve in the off position?
See the Installation Instructions. - Is the range properly connected to the gas supply?
Contact a trained repair specialist or see the Installation Instructions.
Surface burners will not operate
- Is this the first time the surface burners have been used?
Turn on any one of the surface burner knobs to release air from the gas lines. - Is the control knob set correctly?
Push in the knob before turning to a setting. - Are the burner ports clogged?
See the “Surface Burners” section.
Surface burner flames are uneven, yellow, and/or noisy
- Are the burner ports clogged?
See the “Surface Burners” section. - Are the burner caps positioned properly?
See the “Surface Burners” section. - Is the air/gas mixture correct?
Contact a designated service technician to check the air/gas
the mixture, or see the Installation Instructions. - Is propane gas being used?
The appliance may have been converted improperly. Contact a trained repair specialist.
The surface burner makes popping noises
- Is the burner wet?
Let it dry.
Gas range noises during Bake and Broil operations
Noises that may be heard during the Bake and Broil operations: Whooshing, Poof, Clicking, Snaps, Pop.
These sounds are normal operational noises that can be heard each time the Bake or Broil burners ignite during the cycle.
- Pop can be heard when the gas valve is opening or cycling on and will make a single pop when it snaps open from the solenoid. It sounds similar to a suction cup being pulled off of a piece of glass.
- The igniters will click several times until the flame is detected. These are short clicking sounds like tapping a nail onto a piece of glass.
- A whooshing or poof sound is heard when the Bake or Broil burner ignites.
- On some models, a clicking sound can be heard when the convection fan relay cycles on and off.
The cookware does not level on the cooktop
- Is the range level?
Level the range. See the Installation Instructions. - Is the proper cookware being used?
Use cookware with a flat bottom. See the “Cookware” section.
Excessive heat around cookware on the cooktop
- Is the cookware the proper size?
Use cookware about the same size as the surface cooking area, element or surface burner. Cookware should not extend more than 1/2″ (1.3 cm) outside the cooking area.
Oven will not operate
- Is the power outlet properly wired and polarized?
Try another outlet to check for proper wiring and polarity. - Is this the first time the oven has been used?
Turn any one of the surface burner knobs on to release air from the gas lines. - Is the electronic oven control set correctly?
See the “Electronic Oven Control” section. - On some models, is the Control Lock set?
See the “Control Lock” section. - Is the main or regulator gas shutoff in the off position?
Contact a designated service technician or see the Installation Instructions.
The oven makes muffled ticking noise when in use
- This is normal and occurs when the oven burner cycles on and off to hold the set oven temperature.
Oven burner flames are uneven, yellow, and/or noisy
- Is propane gas being used?
The appliance may have been converted improperly. Contact a trained repair specialist. - Is the air/gas mixture correct?
Contact a designated service technician to check the air/gas mixture or see the Installation Instructions.
Oven temperature too high or too low
- Does the oven temperature calibration need adjustment?
See the “Oven Temperature Control” section.
Display shows messages
- Is the display showing a flashing time?
There has been a power failure. Press OFF/CANCEL or CANCEL/OFF to clear the display. Reset the clock, if needed.
See the “Clock” section. - Is the display showing “F” followed by a number?
Press OFF/CANCEL or CANCEL/OFF to clear the display. If an “F” code appears again, contact a trained repair specialist.
Cooktop cooking results are not what expected
- Is the proper cookware being used?
See the “Cookware” section. - Is the control knob set to the proper heat level?
See the “Cooktop Controls” section.
Baking results are not what expected
- Is the range level?
Level the range. See the Installation Instructions. - Does the oven temperature calibration need adjustment?
See the “Oven Temperature Control” section. - Was the oven preheated?
Wait for the oven to preheat before placing food in the oven. - Is the proper oven temperature calibration set?
See the “Oven Temperature Control” section. - Is the proper bakeware being used?
See the “Bakeware” section. - Are the racks positioned properly?
See the “Positioning Racks and Bakeware” section. - Is there proper air circulation around the bakeware?
See the “Positioning Racks and Bakeware” section. - Is the batter evenly distributed in the pan?
Make sure the batter is level in the pan. - Are baked items too brown on the bottom?
Decrease oven temperature from 10° F to 30°F (5°C to 15°C). - Are crust edges browning early?
Use aluminum foil to cover the edge of the crust and/or reduce the baking temperature.
Slow baking or roasting
- Was the oven preheated?
Wait for the oven to preheat before placing food in the oven. - Is there proper air circulation around the bakeware?
See the “Positioning Racks and Bakeware” section. - Does the oven temperature calibration need adjustment?
See the “Oven Temperature Control” section. - Is the proper length of time being used?
Increase baking or roasting time. - Is the proper temperature set?
Increase temperature by 25°F (15°C). - Has the oven door been opened while cooking?
Oven peeking releases oven heat and can result in longer cooking times.
The broiler burner fails to light
- Is the ignition system broken?
Contact a designated service technician to replace it. - Has a household fuse been blown, or has a circuit breaker tripped?
Replace the fuse or reset the circuit breaker. If the problem continues, call an electrician.
ASSISTANCE OR SERVICE
Before calling for assistance or service, please check “Troubleshooting.” It may save you the cost of a service call. If you still need help, follow the instructions below.
When calling, please know the purchase date and the complete model, and the serial number of your appliance. This information will help us to better respond to your request.
If you need replacement parts If you need to order replacement parts, we recommend that you use only FSP ® replacement parts. FSP ® replacement parts will fit right and work right because they are made with the same precision used to build every new WHIRLPOOL ® appliance.
To locate FSP ® replacement parts in your area, call us or your nearest Whirlpool designated service center.
In the U.S.A.
Call the Whirlpool Customer eXperience Center toll-free: 1-800-253-1301 or visit www.whirlpool.com.
Our consultants provide assistance with:
- Features and specifications on our full line of appliances.
- Installation information.
- Use and maintenance procedures.
- Accessory and repair parts sales.
- Specialized customer assistance (Spanish speaking, hearing impaired, limited vision, etc.).
- Referrals to local dealers, repair parts distributors, and service companies. Whirlpool designated service technicians are trained to fulfill the product warranty and provide after-warranty service, anywhere in the United States.
To locate the Whirlpool designated service company in your area, you can also look in your telephone directory Yellow Pages.
For further assistance
If you need further assistance, you can write to Whirlpool A corporation with any questions or concerns at:
Whirlpool Brand Home Appliances
Customer Experience Center
553 Benson Road
Benton Harbor, MI 49022-2692
Please include a daytime phone number in your correspondence.
In Canada
Call the Whirlpool Canada LP Customer eXperience Centre toll-free: 1-800-807-6777, or visit our website at www.whirlpool.ca.
Our consultants provide assistance with:
- Features and specifications on our full line of appliances.
- Use and maintenance procedures.
- Accessory and repair parts sales.
- Referrals to local dealers, repair parts distributors, and service companies. Whirlpool Canada LP designated service technicians are trained to fulfill the product warranty and provide after-warranty service, anywhere in Canada.
For further assistance
If you need further assistance, you can write to Whirlpool Canada LP with any questions or concerns at:
Customer Experience Centre
Whirlpool Canada LP
200 – 6750 Century Ave.
Mississauga, Ontario L5N 0B7
Please include a daytime phone number in your correspondence.
Accessories
Affresh ® Stainless Steel Cleaner (stainless steel models)
Order Part Number W10355016
Affresh ® Kitchen and Appliance Cleaner
Order Part Number W10355010
Gas Grate and Drip Pan Cleaner
Order Part Number 31617
Broiler Pan
Order Part Number 4396923
W11508873A
® /™ ©2021 Whirlpool. All rights reserved.
Tous droits réservés.


























