XVB ZT-0251-49 Ani Friends Remote Control Panda

Product Overview
Package Contents
- Remote Control Panda x 1
- Remote Control x 1
- Instruction Manual x1
Specifications
- Remote Control Panda: Requires Two (2) AAA 1.5V Alkaline Batteries (Not Included)
- Remote Control: Requires Two (2) AAA 1.5V Batteries (Not Included)
- Frequency: 49.86MHz
Remote
Standard Control
Note: To avoid losing control, always pay attention when controlling the Remote Control Panda.
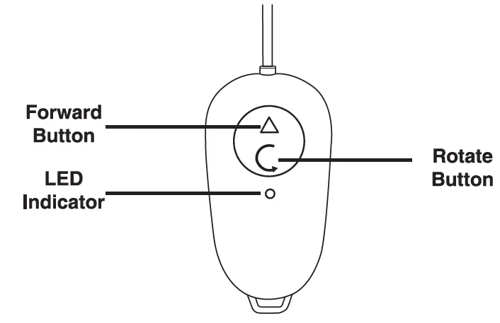
Control RC Panda to move forward 
Control RC Panda to rotate
Power On/Off
Power On/Off
- Slide the ON/OFF Switch to ON to turn on the RC Panda.
- Slide the ON/OFF Switch to OFF to turn off the RC Panda.
Batteries Installation
To install batteries into the RC Panda, unscrew the screw on the battery box cover to open the cover. Insert 2 x “AAA” 1.5V batteries (Not Included) into the battery box. Batteries should be placed as shown on the diagram. Put back in place the battery box cover and tighten the screw.
Notice:
When inserting the batteries, you must insert according to the correct polarity, the RC Unicon won’t function if batteries are reversed. 
To install batteries into the Remote Control, unscrew the screw on the battery box cover to open the cover. Insert 2 x”AAA” 1.5V batteries (Not Included) into the battery box. Batteries should be placed as shown on the diagram.
Put back in place the battery box cover and tighten the screw.
Notice:
When inserting the batteries, you must insert according to the correct polarity, the RC Remote won’t function if batteries are reversed.
Performance Tips
- Do not drive the RC toy on grass, sand or go through water
- Do not drive the RC toy in windy or rainy weather.
- Do not drive the RC toy into any sharp object.
- Keep fingers, hair and loose clothing away from RC Toy.
Care and Maintenance
- Always use dry and soft cloth to clean this product.
- Avoid this product from being exposed to sunlight or heat.
- Avoid immersing these toys in water, otherwise, the electronic parts may be damaged.
- Check the product regularly. If any damages are discovered, please stop using it immediately, until it is completely repaired in good working condition.
IMPORTANT BATTERY INFORMATION
WARNING: TO AVOID BATTERY LEAKAGE:
- The batteries used with this product are small parts and should be kept away from small children who still put things in their mouths. If they are swallowed, promptly see a doctor and have the doctor phone the American Association of Poison Control Centers (1-800-222-1222).
- Always purchase the correct size and grade of battery most suitable for the intended use.
- Do not mix old and new batteries, alkaline, standard (Carbon Zinc) or rechargeable (Nickel-cadmium) batteries.
- Clean the battery contacts and those of the device prior to battery installation.
- Ensure the batteries are installed correctly with the regard to polarity (+ and -).
- Always remove batteries if consumed or if the product is to be left unused for long time.
Warning
- This product is suitable to be used by people who have operating experience in a remote toy or aged no less than 8 years old.
- Please do not put the product in your mouth to prevent the choking hazard of small parts.
- Except for the screw on the battery cover. Never try to open the product by unscrewing the other screws of the product. Nothing inside for service.
- Please do not put your finger into available interspaces.
- Please do not play the product in a brutal way such as throwing, crashing, or twisting it.
- Please store the smaller-sized product accessories in places that are out of reach of children, in order to avoid the occurrence of accidents.
- Avoid placing the batteries in places in high temperatures and avoid exposure to heat.
- When young children are operating the product, it shall be ensured that the adults are guiding and making sure the product control is within the viewing range of the controller (or instructor) so that it makes the control of the toy more convenient.
- When the product is not in use, please switch off the power supplies of the toy, and remove the batteries from the product.
- Please note that we won’t take any responsibility for any wrong operation as this may result in severe injury or loss of property, and we cannot control the operating process during the time when the user assembles or uses this product.
- Once this product is sold, we won’t be responsible for any safety responsibility during the time the user operates or uses or controls this product.
FCC Statement
This device complies with part 15 of the FCC rules. Operation is subject to the following two conditions:(1) this device may not cause harmful interference, and (2) this device must accept any interference received, including interference that may cause undesired operation.
Caution: Changes or modifications not expressly approved by the party responsible for compliance could void the user’s authority to operate the equipment.
NOTE: This equipment has been tested and found to comply with the limits for a Class B digital device, pursuant to Part 15 of the FCC Rules. These limits are designed to provide reasonable protection against harmful interference in a residential installation. This equipment generates, uses and can radiate radio frequency energy and, if not installed and used in accordance with instructions may cause harmful interference to radio or television reception, which can be determined
by turning the equipment off and on. The user is encouraged to try to correct the interference by one or more of the following measures:
- Reorient or relocate the receiving antenna.
- Increase the separation between the equipment and receiver.
- Connect the equipment into an outlet on a circuit different from that to which the receiver is connected.
- Consult the dealer or experienced radio/ TV technician for help.
RF warning statement:
The device has been evaluated to meet general RF exposure requirements. The device can be used in portable exposure conditions without restriction.
FCC ID: 2ADM5-ZT-0251-49 
Keep All Relevant Information for Future Reference
























