TB 27 Analog Testboy

Information
Safety information
WARNING
Sources of danger include for example, mechanical parts, which may cause serious personal injury. Objects are also at risk (e.g. damage to the instrument).
WARNING
An electric shock can result in death or serious personal injury and endanger the function of objects (e.g. damage to the instrument).
WARNING
Never point the laser beam towards a person’s eyes, either directly or indirectly via a reflective surface. Laser radiation can cause irreparable damage to the eyes. The laser beam must be deactivated when conducting measurements close to people.
General safety information
WARNING
Unauthorised modification and / or changes to the instrument are not permitted, for reasons of safety and approval (CE). In order to ensure safe and reliable operation using the instrument, you must always comply with the safety information, warnings and the information contained in the section “Intended use”.
WARNING
Comply with the following specifications before using the instrument:
- Avoid operating the instrument near to electric welding equipment, induction
heaters or other electromagnetic fields. - The instrument must be allowed to adjust to the new ambient temperature for ap- prox. 30 minutes before use after abrupt temperature fluctuations, in order to sta-bilise the IR sensor.
- Do not expose the instrument to high temperatures for a long period of time.
- Avoid dusty and humid environments.
- Measuring instruments and their accessories are not toys, and must be kept out of the reach of children!
- When working in commercial facilities, comply at all times with the specifications of the accident prevention regulations for electrical systems and equipment as established by the employer’s liability insurance association.
- The parts or accessories of the device must only be changed or replaced in agreement with the manufacturer or their representative.
- A continuity test is not possible because the sound signal can be conducted via the break point of the line.
Comply with the five safety rules:
- Disconnect
- Secure the instrument against reactivation
- Ensure isolation from the power supply (check that there is no voltage on both poles)
- Earth and short-circuit
- Cover adjacent live parts
Intended use
The instrument is only intended for use in the applications described in the operating manual. Any other usage is forbidden, and may result in accidents or destruction of the instrument. Any such usage will result in the immediate voiding of all guarantee and warranty claims on the part of the operator against the manufacturer.
Remove the batteries if the instrument is not in use for a long period of time, in or-der to protect the instrument from damage. We assume no liability for damage to property or personal injury resulting from im-proper handling or non-compliance with the safety information. Any warranty claim expires in such cases. An exclamation mark in a triangle indicates safety infor-mation in the operating manual. Read the manual before commissioning. This in-strument is CE-approved and thus fulfils the required directives.
All rights reserved to alter specifications without prior notice. © 2018 Testboy GmbH, Germany.
Disclaimer
The warranty claim will be voided in cases of damage caused by failure to comply with the specifications of the manual! We assume no liability for any resulting dam-age!
Testboy is not responsible for damage resulting from
- Failure to comply with the specifications of the operating manual
- Changes to the product that have not been approved by Testboy
- The use of spare parts that have not been manufactured or approved by Testboy
- The use of alcohol, drugs or medication.
Accuracy of the operating manual
This operating manual has been compiled with considerable care and attention. No guarantee is given that the data, illustrations and drawings are complete or correct. Changes, printing mistakes and errors reserved.
Disposal
Dear Testboy customer: purchasing our product gives you the option of returning the instrument to suitable collection points for waste electrical equipment at the end of its lifespan. The WEEE directive regulates the return and recycling of electrical appliances. Manufacturers of electrical appliances are obliged to take back and recycle all electrical appliances free of charge. Electrical devices may then no longer be dis-posed of through conventional waste disposal channels. Electrical appliances must be recycled and disposed of separately. All equipment subject to this di-rective is marked with this logo.
Disposal of used batteries
As an end user, you are legally obliged (battery law) to return all used batteries; disposal in the normal domestic waste is prohibited. Batteries containing contaminant material are marked with this symbol indicating that they may not be disposed of in normal domestic waste. The abbreviations used for the crucial heavy metals are: Cd = cadmium, Hg = mercury, Pb = lead. You can return your used batteries free of charge to municipal collection points or anywhere where batteries are sold.
Certificate of quality
All quality-relevant activities and processes carried out within Testboy GmbH are subject to ongo-ing monitoring within the framework of a Quality Management System. Furthermore, Testboy GmbH confirms that the testing equipment and instruments used during the calibration process are subject to an ongoing inspection process.
Declaration of conformity
The product conforms to the most recent directives. For further information, go to www.testboy.de
Operation
Thank you for purchasing the Testboy® TB 27 Analog . The cable detector has been developed to find or trace telecommunications cables, individual wires and pairs of wires without damaging the insulation.
- The instrument operates using a sound generator for safe identification of lines
- Volume control for adjusting the sensitivity and the tone to ambient conditions.
- Transmitter and receiver
Read this manual before using the instrument. Failure to use the instrument as in-tended by the manufacturer can affect the protection which it provides.
Operation
Connect the cables of the transmitter (1) with a wire of the line which you are seeking and the other line on the shielding. Activate the transmitter (1) and select the test sound (3) (continuous or alternating tone). Switch on the receiver (2). The device is only active for the period in which the button (5) is pressed. The sensitivity can be adjusted to the ambient condi-tions. Touch the instrument tip (6) to all lines which come into question. The loudest sound is received from the cable searched for.

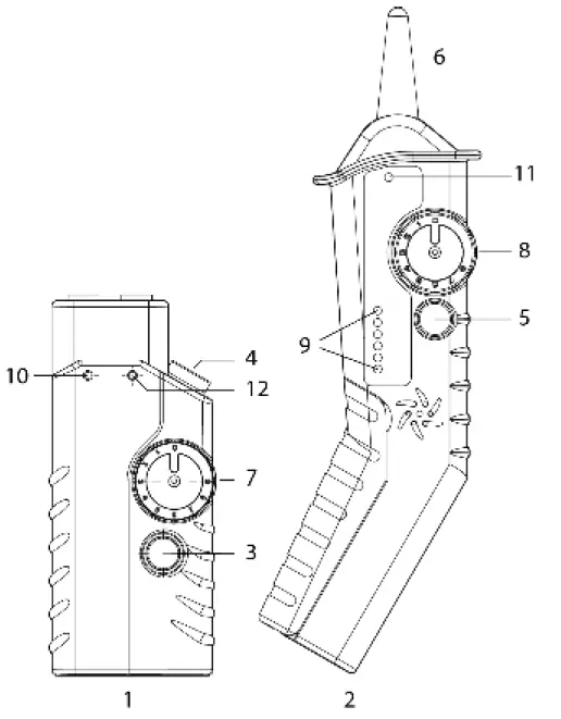
- Transmitter
- Receiver
- Selector switch (continuous or alternating tone)
- On / off switch of the transmitter
- On / off button of the receiver
- Tip of the receiver
- Rotary switch for transmitter signal strength
- Rotary switch for sensitivity of the receiver
- Signal strength display
- Power display (transmitter)
- Power display (receiver)
- Display test sound
When searching for a line using the cable detector, the various field strengths of the tone signal could result in the incorrect or multiple lines being found. The cable detector may receive the tone signal of a different line not connected to the TRANSMITTER. A weak field strength could result in the cable detector not detecting the correct line. Tone detection can be influenced by different factors, including:
- Screened lines/wires
- The thickness and type of insulation
- Distance from the source of sound
- Fully-isolated consumers that prevent effective earthing
- The routing of the cable network
- The condition of the test instrument and its batteries
Checking coaxial cables
In order to check coaxial cables, connect the red cable to the screening of the cable and the black cable to the internal conductor.
Modular test (adapter)
All the necessary checks can be performed using the adapter (e.g. RJ11 or RJ45 plug to check a telephone line or a twisted cable).
Maintenance
With the exception of the battery, the Testboy® TB 27 Analog is maintenance-free. To replace the battery, disconnect all the test leads, remove the screw on the battery compart-ment and insert a new battery of the same type. Ensure the correct polarity. Batteries may not be disposed in the domestic waste. There will be a collection point near you!
Replacing the Battery

Cleaning
Clean every-day soiling using a moist cloth and a mild household cleaning agent. Do not use an aggressive cleaning agent or solvent to clean the instrument.
Definition of the over-voltage categories Measurement category II: Measurements on the power circuits fitted with a direct plug connection to the low voltage system. Normal short circuit current < 10 kA. Measurement category III: Measurements within the building installation (stationary consumers with non-plug-in connection, distributor connection, permanently installed equipment in the distrib-utor). Normal short circuit current < 50 kA. Measurement category IV: Measurements at the source of the low voltage installation (meters, mains connection, primary over-current protection). Normal short circuit current >> 50 kA. When establishing the measurement category for a combination of test probe assembly and measuring instrument, the lowest category, either of the test probe assembly or the measuring instrument, always applies.
Technical data
- Display Optical and acoustic
- Power supply for the transmitter 2 x 1.5V type AA
- Power supply for the receiver 3 x 1.5V type AA
- Dimensions 245 x 60 x 29 mm (receiver) 135 x 60 x 33 mm (transmitter)
- Weight 318 g (inc. batteries)
- Operating temperature 5 °C to 40 °C
- External voltage protection to 400 V
- Degree of protection IP 31
Testboy GmbH Elektrotechnische Spezialfabrik Beim Alten Flugplatz 3 D-49377 Vechta Germany
- Tel: 0049 (0)4441/ 89112-10
- Fax: 0049 (0)4441/84536
- www.testboy.de
- [email protected]




















