Dual Fuel Downdraft Range Control Guide
FEATURE GUIDE
WARNING: To reduce the risk of fire, electric shock, or injury to persons, read the IMPORTANT SAFETY INSTRUCTIONS, located in your appliance’s Owner’s Manual, before operating this appliance.
This manual covers several models. Your model may have some or all of the items listed. Refer to this manual or the Product Help section of our website at www.kitchenaid.com for more detailed instructions. In Canada, refer to the Product Help Section at www.kitchenaid.ca.
WARNING
Food Poisoning Hazard
Do not let food sit for more than one hour before or after cooking.
Doing so can result in food poisoning or sickness.
| KEYPAD | FEATURE | INSTRUCTIONS |
| CLOCK/TOOLS | Clock | This clock can use a 12- or 24-hour cycle. See the “Electronic Oven Controls” section. 1. Press OPTIONS/CLOCK until “CLOCK” is displayed. 2. Use the number keypads to set the time of day. 3. Press START to change the time. 4. Press “3” for AM or “6” for PM. |
| CLOCK/TOOLS | Settings | Enables you to personalize the audible tones and oven operation to suit your needs. See the “Electronic Oven Controls” section. |
| OVEN LIGHT | Oven cavity light | The oven light is controlled by a keypad on the oven control panel. While the oven door is closed, press OVEN LIGHT to turn the light on and off. When the oven door is opened, the oven light will automatically come on. |
| TIMER SET/OFF | Oven timer | The Timer can be set in hours or minutes up to 9 hours and 59 minutes. 1. Press TIMER SET/OFF. 2. Press the number keypads to set the length of time in hr-hr-min-min. Leading zeroes do not have to be entered. For example, for 2 minutes, enter “2.” 3. Press TIMER SET/OFF to begin the countdown. If enabled, one tone will sound at end of the countdown. 4. Press TIMER SET/OFF again to cancel the Timer and return to the time of day. Do not press CANCEL because the oven will turn off. 5. If the Timer is running but not in the display, press TIMER SET/OFF to display the countdown for 5 seconds. |
| START | Cooking start | The Start pad begins any oven function. If Start is not pressed within 2 minutes after pressing a keypad, the function is canceled and the time of day is displayed. |
| CANCEL | Range function | The Cancel keypad stops any function for the oven except the Clock and Timer. |
| BAKE | Baking and roasting | 1. Press BAKE. 2. Press the number of keypads to set the desired temperature. If the temperature entered is not in the range of the temperatures allowed, the minimum or maximum allowed temperature will be displayed. Enter a temperature in the allowable range. 3. Press START. 4. To change the temperature, repeat steps 1 and 2. Press START for the change to take effect. 5. Press CANCEL when finished. |
| KEYPAD | FEATURE | INSTRUCTIONS |
| STEAM BAKE | Steam bake | 1. Insert the steam rack with water reservoir in the oven. 2. Pour 1/2 cups (350 mL) of warm water into the water reservoir. NOTE: Do not fill past the MAX mark. 3. Press STEAM BAKE. 4. Press the number keypad to select the desired food option. 5. Press the number of keypads to set the desired temperature. If the temperature entered is not in the range of the temperatures allowed, the minimum or maximum allowed temperature will be displayed. Enter a temperature in the allowable range. 6. Press START. 7. (Optional) Press COOK TIME. Press the number keypads to set the cooking time. 8. Press START. 9. Insert food when preheating finishes. 10. Press CANCEL when finished. NOTE: Let the oven cool before removing and emptying the water reservoir. |
| BROIL | Broiling | 1. Press BROIL. 2. Press the number of keypads to set the desired temperature. If the temperature entered is not in the range of the temperatures allowed, the minimum or maximum allowed temperature will be displayed. Enter a temperature in the allowable range. 3. Press START and allow the oven to preheat for 2 minutes. 4. To change the temperature, repeat steps 2 and 3. 5. Position the cookware in the oven and close the door. 6. Press CANCEL when finished. |
| PROOF | Proofing bread | 1. Place prepared dough in the oven. Press PROOF. 2. Press START Let the dough rise until nearly doubled in size. Proofing time may vary depending on dough type and quantity. 3. Press CANCEL when finished proofing. Refer to the “Proofing Bread” section for more information. |
| KEEP WARM | Convection cooking | Food must be at serving temperature before placing it in the warmed oven. 1. Press KEEP WARM. 2. Press the number of keypads to set the desired temperature. If the temperature entered is not in the range of the temperatures allowed, the minimum or maximum allowed temperature will be displayed. Enter a temperature in the allowable range. 3. Press START. 4. Press CANCEL when finished. |
| EASY CONVECT BAKE | Hold warm | 1. Press EASY CONVECT BAKE. 2. Press “1” to have the oven automatically convert the temperature and time for convection baking. Press “2” to manually convert the temperature and time. 3. Press the number keypads to set the desired temperature. If the temperature entered is not in the range of the temperatures allowed, the minimum or maximum allowed temperature will be displayed. Enter a temperature in the allowable range. 4. Press START. 5. (Optional) Press the number keypads to set a cook time. 6. Press START. 7. To change the temperature, repeat steps 2 and 3. 8. Press CANCEL when finished. |
| EASY CONVECT | Convection | 1. Press EASY CONVECT BROIL. |
| BROIL | cooking | 2. Press “1” to have the oven automatically convert the temperature and time for convection baking. Press “2” to manually convert the temperature and time. 3. Press the number of keypads to set the desired temperature. If the temperature entered is not in the range of the temperatures allowed, the minimum or maximum allowed temperature will be displayed. Enter a temperature in the allowable range. 4. Press START. 5. (Optional) Press the number keypads to set a cook time. 6. Press START. 7. To change the temperature, repeat steps 2 and 3. 8. Press CANCEL when finished. |
| KEYPAD | FEATURE | INSTRUCTIONS |
| EASY CONVECT ROAST | Convection cooking | 1. Press EASY CONVECT ROAST. 2. Press “1” to have the oven automatically convert the temperature and time for convection baking. Press “2” to manually convert the temperature and time. 3. Press the number of keypads to set the desired temperature. If the temperature entered is not in the range of the temperatures allowed. the minimum or maximum allowed temperature will be displayed. Enter a temperature in the allowable range. 4. Press START. 5.(Optional) Press the number keypads to set a cook time. 6. Press START. 7. To change the temperature, repeat steps 2 and 3. 8. Press CANCEL when finished. |
| Timed cooking | Timed Cooking allows the oven to be set to tum on at a certain time of day. cook for a set length of time. and/or shut off automatically. Delay start should not be used for foods such as bread and cakes because they may not bake properly. To set a limed Cook or a Delayed Timed Cook, see the ‘Cook lime” section. | |
| COOK TIME | ||
| DELAY START | Delayed start | The Delay Start keypad is used to enter the starting time for an oven function with a delayed start. Delay Start should not be used for foods such as bread and cakes because they may not bake properly, To set a limed Cook or a Delayed Timed Cook, see the “Cook Time” section, |
| AQUALIFT SELF CLEAN | Clean cycle | See the ‘Clean Cycle” section in the Owners Manual. |
| DOWNDRAFT FAN HIGH/LOW/OFF | Downdraft fan | Press DOWNDRAFT FAN HIGH or DOWNDRAFT FAN LOW to turn on the Downdraft Fan at the desired speed. Press DOWNDRAFT FAN OFF to turn off the Downdraft Fan immediately. |
| START (Hold 3 Sec) | Oven control lockout | 1. Check that the oven is OFF. 2. Press and hold START (Hold 3 Sec) for 3 seconds. 3. A tone will sound, and ‘Control Locked” will scroll, and then ‘Locked” will be displayed. 4. Repeat to unlock. No keypads will function with the controls locked. The cooktop functions are not affected by the oven control lockout. |
| CLOCK/TOOLS | Energy save | Press and hold CLOCK/TOOLS for 3 seconds to change the status. The display will scroll “Energy saver on.” or Energy saver off.” If Energy Save is on, the range will go into sleep mode after 5 minutes of inactivity. Any keypad press will activate the display. If Energy Save is off, the display will be on at all times. |
AquaLift®Self-Cleaning Technology

AquaLift ® Self-Cleaning Technology is a first-of-its-kind cleaning solution designed to minimize the time, temperature, and odorsthat ordinarily come with traditional self-cleaning methods. With AquaLift ® Self-Cleaning Technology, an innovative coating on the interior of the oven is activated with heat and water to release baked-on soil. To use AquaLift ® Self-Cleaning Technology, simply wipe out loose debris, pour water into the oven bottom, and run the AquaLift ® Self-Cleaning cycle. When the cycle finishes in under 1 hour at a lower temperature than in traditional selfcleaning methods, just wipe out the remaining water and loose debris. See the “Clean Cycle” section for more detailed instructions. For additional information, frequently asked questions, and videos on using AquaLift ® Self-Cleaning Technology,
visit our website at http://whirlpoolcorp.com/qualify.
Surface Temperature
When the range is in use, all range surfaces may become hot, such as the knobs and oven door.
Warming Drawer, Storage Drawer, or Baking Drawer (On Some Models)
When the oven is in use, the drawer may become hot. Do not store plastics, cloth, or other items that could melt or burn in the drawer.
Oven Vent
The oven vent releases hot air and moisture from the oven, and should not be blocked or covered. Do not set plastics, paper, or other items that could melt or burn near the oven vent.
Surface Burners
IMPORTANT: Do not obstruct the flow of combustion and ventilation air around the burner grate edges.
Burner cap: Always keep the burner cap in place when using a surface burner. A clean burner cap will help avoid poor ignition and uneven flames. Always clean the burner cap after a spillover and routinely remove and clean the caps according to the “General Cleaning” section in the Owner’s Manual.
Alignment: Be sure to align the gas tube opening in the burner base with the orifice holder on the cooktop and the igniter electrode with the notch in the burner base.
A. Burner cap
B. Gas tube opening
C. Burner base
D. Orifice holder
E. Igniter electrode
Gas tube opening: Gas must flow freely throughout the gas tube opening for the burner to light properly. Keep this area free of soil and do not allow spills, food, cleaning agents, or any other material to enter the gas tube opening. Keep spillovers out of the gas tube opening by always using a burner cap.
A. 1-1 1/2″ (2.5-3.8 cm)
B. Burner ports
Burner Ports: Check burner flames occasionally for proper size and shape as shown in the previous illustration. A good flame is blue in color, not yellow. Keep this area free of soil and do not allow spills, food, cleaning agents, or any other material to enter the burner ports.
To Clean:
IMPORTANT: Before cleaning, make sure all controls are off and the cooktop is cool. Do not use oven cleaners, bleach, or rust removers. Do not wash in the dishwasher.
- Remove the burner cap from the burner base and clean according to the “General Cleaning” section in the Owner’s Manual.
- Clean the gas tube opening with a damp cloth.
- Clean clogged burner ports with a straight pin as shown. Do not enlarge or distort the port. Do not use a wooden toothpick.
If the burner needs to be adjusted, contact a trained repair specialist.
A. Small (Auxiliary)
B. Large (Ultra Rapid)
C. Medium (Semi rapid)
D. Large (Ultra Rapid) - Replace the burner base. The burner bases and caps must be properly positioned before cooking. Each round burner base is marked with a letter indicating the burner size. See the following illustration for burner positions:
- Replace the burner cap, making sure it is properly aligned with the burner base. Burner caps should be level when properly positioned. If burner caps are not properly positioned, surface burners will not light. The burner cap should not rock or wobble when properly aligned.
IMPORTANT: The bottoms of the small and medium caps are different. Do not put the wrong size burner cap on the burner base. - Turn on the burner. If the burner does not light, check cap alignment. If the burner still does not light, turn it off the burner. Do not service the burner yourself. Contact a trained repair specialist.
Surface Grates
The grates must be properly positioned before cooking. In the proper position, the grates should be flush and level. Improper installation of the grates may result in chipping or scratching of the cooktop.
To ensure proper positioning, align bumpers on the grate bottom with the indentations in the cooktop.
A. Bumpers
B. Alignment indentations
The surface grates interlock using the hook on one end of the grate and the indent on the other. To remove the grates, lift the rear of the left grate off the hook, and then lift the front of the right grate off the hook and pull it apart. To replace the grates, replace the left grate first. Place the front indent of the right grate over the hook of the left grate, and then lift the rear of the left grate and place the indent over the hook on the right grate.
A. Hook
B. Indent
Although the burner grates are durable, they will gradually lose their shine and/or discolor due to the high temperatures of the gas flame.
Electronic Oven Controls
Control Display
The display will flash when powered up or after a power loss.
Press CANCEL to clear. When the oven is not in use, the time of day is displayed. If the range is in Energy Save mode, the display will be blank when not in use.
Tones
Tones are audible signals, indicating the following:
One Tone
- Valid keypad press
- An oven is preheated (long tone).
- A function has been entered
- Reminder, repeating each minute after the end-of-cycle tones Three Tones
- Invalid keypad press
Four Tones - End of cycle
Use the Clock/Tools keypad to change the tone settings.
Energy Save
The Energy Save mode puts the range into sleep mode and reduces energy consumption.
To Activate the Energy Save Mode:
- Press CLOCK/TOOLS until “ENERGY SAVE” is displayed
- The current setting will be displayed.
- Press the “1” keypad to adjust the setting.
- Press CANCEL to exit and display the time of day.
- The setting will be activated after 5 minutes.
To Deactivate the Energy Save Mode
- Press CLOCK/TOOLS until “ENERGY SAVE” is displayed
- The current setting will be displayed.
- Press the “1” keypad to adjust the setting.
- Press CANCEL to exit and display the time of day.
- The clock will reappear in the display and the range can be operated as usual.
Settings
Many features of the oven control can be adjusted to meet your personal needs. These changes are made using the Clock/Tools keypad.
Use the Clock/Tools keypad to scroll through the features that can be changed. Each press of the Clock/Tools keypad will advance the display to the next setting. After selecting the feature to be changed, the control will prompt you for the required input. Then press START or CANCEL to exit and display the time of day.
Details of all of the feature changes are explained in the following sections. Press CANCEL to exit Settings.
Clock
The Clock can use a 12- or 24-hour cycle.
- Press CLOCK/TOOLS until “CLOCK” is displayed.
- Use the number keypads to set the time of day.
- Press START to change the time.
- Press “3” for AM or “6” for PM.
Fahrenheit and Celsius
The temperature is preset to Fahrenheit but can be changed to Celsius.
- Press CLOCK/TOOLS until “TEMP UNIT” is displayed.
- The current setting will be displayed.
- Press the “1” keypad to adjust the setting.
- Press START or CANCEL to exit and display the time of day.
Audible Tones Disable
Turns off all tones, including the end-of-cycle tone and keypress tones. Reminder tones are still active when all tones are disabled.
- Press CLOCK/TOOLS until “SOUND” is displayed.
- The current setting will be displayed.
- Press the “1” keypad to adjust the setting.
- Press START or CANCEL to exit and display the time of day.
Sound Volume
Sets the volume of the tone to either high or low.
- Press CLOCK/TOOLS until “SOUND VOLUME” is displayed.
- The current setting will be displayed.
- Press the “1” keypad to adjust the setting.
- Press START or CANCEL to exit and display the time of day.
End of Cycle Tone
Activates or turns off the tones that sound at the end of a cycle.
- Press CLOCK/TOOLS until “END TONE” is displayed.
- The current setting will be displayed.
- Press the “1” keypad to adjust the setting.
- Press START or CANCEL to exit and display the time of day.
Reminder Tones Disable
Turns off the short repeating tone that sounds every 1 minute after the end-of-cycle tones.
- Press CLOCK/TOOLS until “REMINDER TONE” is displayed.
- The current setting will be displayed.
- Press the “1” keypad to adjust the setting.
- Press START or CANCEL to exit and display the time of day.
Keypress Tones
Activates or turns off the tones when a keypad is pressed.
- Press CLOCK/TOOLS until “KEYPRESS TONE” is displayed.
- The current setting will be displayed.
- Press the “1” keypad to adjust the setting.
- Press START or CANCEL to exit and display the time of day.
Demo Mode
IMPORTANT: This feature is intended for use on the sales floor with a 120 V power connection and permits the control features to be demonstrated without heating elements turning on. If this feature is activated, the oven will not work.
- Press CLOCK/TOOLS until “DEMO MODE” is displayed.
- The current setting will be displayed.
- Press the “1” keypad to adjust the setting.
- Press START or CANCEL to exit and display the time of day.
12-Hour Shutoff
The oven control is set to automatically shut off the oven 12 hours after the oven initiates a cook or clean function. This will not interfere with any timed or delayed cook functions.
- Press CLOCK/TOOLS until “12Hr AUTO_OFF” is displayed.
- The current setting will be displayed.
- Press the “1” keypad to adjust the setting.
- Press START or CANCEL to exit and display the time of day.
12/24 Hour Clock
- Press CLOCK/TOOLS until “12/24 HOUR” is displayed.
- The current setting will be displayed.
- Press the “1” keypad to adjust the setting.
- Press START or CANCEL to exit and display the time of day.
Sabbath Mode
The Sabbath mode sets the oven to remain ON in a bake setting until turned off.
When the Sabbath mode is set, only the Bake cycle will operate.
All other cooking and cleaning cycles are disabled. No tones will sound and the displays will not indicate temperature changes.
When the oven door is opened or closed, the oven light will not turn on or off and the heating elements will not turn on or off immediately.
To Enable Sabbath Mode Capability (One Time Only):
- Press CLOCK/TOOLS until “SABBATH” is displayed
- The current setting will be displayed.
- Press the “1” keypad to adjust the setting.
- Press START or CANCEL to exit and display the time of day.
Languages – Scrolling Display Text
Language options are English, Spanish and French.
- Press CLOCK/TOOLS until “LANGUAGE” is displayed.
- The current setting will be displayed.
- Press the “1” or “2” keypad to select the desired language.
- Press START or CANCEL to exit and display the time of day.
Oven Temperature Offset Control
IMPORTANT: Do not use a thermometer to measure oven temperature. Elements will cycle on and off as needed to provide consistent temperature but may run slightly hot or cool at any point in time due to this cycling. Most thermometers are slow to react to temperature change and will not provide an accurate reading due to this cycling.
The oven provides accurate temperatures; however, it may cook faster or slower than your previous oven, so the temperature can be adjusted to personalize it for your cooking needs. It can be changed to Fahrenheit or Celsius.
To Adjust Oven Temperature:
- Press CLOCK/TOOLS until “TEMP CALIB” is displayed.
- On some models, press “1” to adjust the drawer temperature calibration. Press START, wait 10 seconds for the display to change, and then continue with Step 3.
OR Press START to adjust the oven temperature calibration. Wait 10 seconds for the display to change, and then continue with Step 3. - Press the “3” keypad to increase the temperature in 5°F (3°C) increments or press the “6” keypad to decrease the temperature in 5°F (3°C) increments. The offset range is from -30°F to +30°F (-18°C to +18°C).
- Press START or CANCEL to exit and display the time of day.
Griddle
To Use the Griddle:
- Locate the griddle on the right side grate, as shown. The locating feet on the bottom of the griddle will engage the grate tines to keep the griddle from sliding.
- Before each use, brush on a thin layer of cooking oil to keep food from sticking. Cooking sprays may leave a sticky residue on the griddle that is hard to remove.
- Preheat the griddle for 5 minutes. Preheating the griddle slowly will ensure even heat distribution and will avoid warping the griddle.
- For preheating and cooking, set the front burner to the lowest heat setting and the rear burner to medium-high heat for best performance.
NOTE: The griddle may also be used on the left side grate. For best results, the rear burner setting should be set to Medium-Low or Medium, and the front burner setting should be set to Low.
To Clean the Griddle:
- Let the griddle cool, and then empty the drip tray
- See the “General Cleaning” section of your Owner’s Manual for cleaning instructions.
- Store the griddle in a cool dry place.
Downdraft Ventilation System
The built-in downdraft ventilation system removes cooking vapors, odors, and smoke from foods prepared on the cooktop.
IMPORTANT: For optimal performance, operate the downdraft ventilation system with the filter properly installed.
To avoid the buildup of grease, the filter should be cleaned often.
For more information on proper filter placement and cleaning, see
“Downdraft Ventilation System” in the “General Cleaning” section in the Owner’s Manual.
Burner Size
Select a burner that best fits your cookware. See the following illustration and chart.
| Burner Size | Recommended Use |
| Small (Auxiliary) | Low-heat cooking Melting chocolate or butter |
| Medium (Semi Rapid) | Multipurpose burner |
| Large (Ultra Rapid) | For large cookware |
| Large (Ultra Rapid) (Most Powerful) | For large cookware Most powerful burner |
Cookware
IMPORTANT: Do not leave empty cookware on a hot surface cooking area, element or surface burner.
Ideal cookware should have a flat bottom, straight sides, and a well-fitting lid, and the material should be of medium-to-heavy thickness.
Rough finishes may scratch the cooktop. Aluminum and copper may be used as a core or base in cookware. However, when used as a base, they can leave permanent marks on the surfaces. Cookware material is a factor in how quickly and evenly heat is transferred, which affects cooking results. A nonstick finish has the same characteristics as its base material. For example, aluminum cookware with a nonstick finish will take on the properties of aluminum. Cookware with nonstick surfaces should not be used under the broiler.
Check for flatness by placing the straight edge of a ruler across the bottom of the cookware. While you rotate the ruler, no space or light should be visible between it and the cookware.
Use the following chart as a guide for cookware material characteristics.
| COOKWARE | CHARACTERISTICS Heats quickly and evenly. Suitable for all types of cooking. Medium or heavy thickness is best for most cooking tasks. May leave aluminum residues, which may be diminished if cleaned immediately after cooking. |
| Aluminum | Heats slowly and evenly. Good for browning and frying. Maintains heat for slow cooking. Rough edges or burrs may scratch the cooktop. |
| Ceramic or Ceramic glass | Follow the manufacturer’s instructions. Heats slowly, but unevenly. Ideal results on low to medium heat settings. May scratch the cooktop. |
| Copper | Heats very quickly and evenly. It May leave copper residues, which may be diminished if cleaned immediately after cooking Can leave a permanent stain or bond to the cooktop if overheated. |
| Earthenware | Follow the manufacturer’s instructions. Use on low heat settings. May scratch the cooktop. |
| Porcelain enamel-on-steel or cast Iron | See stainless steel or cast iron. Porcelain enamel bakeware without the metal base may bond to the cooktop if overheated. |
| Stainless steel | Heats quickly, but unevenly. A core or base of aluminum or copper on stainless steel provides even heating. |
Use flat-bottomed cookware for best cooking results and energy efficiency. The cookware should be about the same size as the cooking area outlined on the cooktop. Cookware should not extend more than 1/2″ (1.3 cm) outside the area.
Home Canning
When canning for long periods, alternate the use of surface cooking areas or elements between batches. This allows time for the most recently used areas to cool.
- Center the canner on the grate above the burner.
- Do not place the canner on 2 surface cooking areas or elements at the same time.
- For more information, contact your local agricultural extension office, or refer to published home canning guides. Companies that manufacture home canning products can also offer assistance.
OVEN USE
Odors and smoke are normal when the oven is used the first few times or when it is heavily soiled.
IMPORTANT: The health of some birds is extremely sensitive to the fumes given off. Exposure to the fumes may result in death to certain birds. Always move birds to another closed and well-ventilated room.
Positioning Racks and Bakeware
To position a rack, pull it out to the stop position, raise the front edge, and then lift it out. Use the following illustration and charts as a guide.
The oven has 7 positions for a flat rack, as shown in the previous illustration and the following table.
| Flat Rack Position | Type of Food |
| 7 | Broiling/searing meats, hamburgers, steaks |
| 6 | Broiled meats, poultry, fish |
| 3 or 4 | Most baked goods, casseroles, frozen foods |
| 2 1 | Roasted meats Large roasts or poultry |
If your model has a Max Capacity Oven Rack, the recessed ends must be placed in the rack position above the desired position of the food. See the following illustration.
A. Ends of the rack in position 3
B. Food in position 2
IMPORTANT: These rack positions are for flat racks. If a Max Capacity Oven Rack is used, the rack position must be adjusted as shown in the previous figure.
Multiple Rack Cooking
2-rack (non-convection): Use rack positions 2 and 5 or 3 and 6.
2-rack (convection): Use rack positions 2 and 5 or 3 and 6.
3-rack (convection): Use rack positions 2 and 7 and a Max
Capacity Oven Rack in rack position 5.
Bakeware
To cook food evenly, hot air must be able to circulate. Allow 2″ (5
cm) of space around bakeware and oven walls. Make sure that no
bakeware piece is directly over another.
Roll-Out Rack
The roll-out rack allows easy access to position and removes food in the oven. It is not recommended to use the roll-out rack in the top rack, position 7, or the bottom rack, position 1.
Open Position
A. Rack frame
B. Sliding rack
Closed and Engaged Position
To Insert Roll-Out Rack
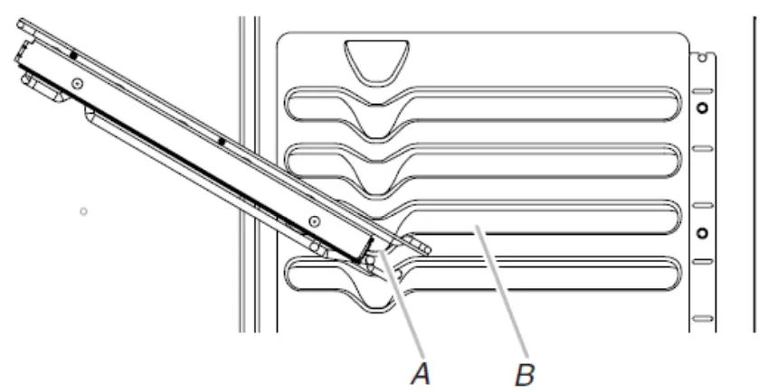
- Angle the front of the rack assembly up, and then insert the rack frame into the “V” cutout in the rack guides of the oven cavity.
A. “V” cutout
B. Rack guides - Keep rack assembly lifted up at an angle, and then push in to bypass the lower “V” cutout.
- Lower the front of the rack assembly, and then gently slide the rack assembly into the oven, bypassing the “V” cutouts. Push the rack assembly into the oven until it stops at the ladder in the back of the oven.
A. “V” cutout
B. Rack guides
C. Ladder hook
D. Ladder - Reach through the rack to hold the sliding rack and the front crossbar. Lift the front of the rack assembly, and then push the rack assembly to the back of the oven. Lower the front of the rack assembly so the ladder hook engages with the ladder on both sides of the oven.

A. Sliding rack
B. Front crossbar
To Remove Roll-Out Rack
- Push the sliding rack in completely so that it is in the closed and engaged position.
- Reach through the rack to hold the sliding rack and the front crossbar. Lift the front of the rack assembly to disengage the ladder hook from the ladders at the rear of the oven, and then pull the rack assembly forward.
- Using 2 hands, gently pull the sliding rack and the rack frame at the same time to the “V” cutout. Angle the rack so that the front is higher than the back, and then gently pull the rack past the “V” cutout and then out of the oven. To avoid damage to the sliding rack, do not place more than 25 lbs (11.4 kg) on the rack. Do not clean the roll-out rack in a dishwasher. It may remove the rack’s lubricant and affect its ability to slide. See the “General Cleaning” section in the Owner’s Manual for more information.
Sabbath Mode
The Sabbath mode sets the oven to remain on in a bake setting until turned off. When the Sabbath mode is set, only the Bake cycle will operate. All other cooking and cleaning cycles are disabled. No tones will sound and the displays will not indicate temperature changes. When the oven door is opened or closed, the oven light will not turn on or off and the heating elements will not turn on or off immediately.
To Enable Sabbath Mode Capability (One Time Only):
- Press CLOCK/TOOLS until “SABBATH” is displayed. “OFF. Press (1) for On” will scroll in the display
- Press the “1” keypad. “ON. Press (1) for Off” will scroll in the display. Sabbath mode can be activated for baking.
- Press START or CANCEL to exit and display the time of day.
NOTE: To disable the Sabbath mode, repeat steps 1 through 3 and change the status from “SABBATH ON” to “SABBATH OFF.”
To Activate Sabbath Mode:
- Press BAKE for the desired oven.
- Press the number keypad to set a temperature other than 350°F (177°C).
- Press START.
For timed cooking in Sabbath mode, press COOK TIME and then the number keypads to set the desired cook time. - Press CLOCK/TOOLS. Three tones will sound. Then press “7.” “SAb” will appear in the display
To Adjust Temperature (When Sabbath Mode Is Running):
- Press the number keypad as instructed by the scrolling text to select the new temperature.
NOTE: The temperature adjustment will not appear on the display. The scrolling text will be shown on the display as it was before the keypad was pressed. - Press START.
To Deactivate Sabbath Mode:
Press CLOCK/TOOLS, and then press “7” to return to regular baking, or press CANCEL for the desired oven to turn off the range.
NOTE: No tones will sound while deactivating Sabbath mode.
Baking and Roasting
Preheating
When beginning a Bake, Convect Bake, or Convect Roast cycle, the oven will begin preheating after Start is pressed. The oven will take approximately 12 to 15 minutes to reach 350°F (177°C) with all of the oven racks provided with your oven inside the oven cavity. Higher temperatures will take longer to preheat. The preheat cycle rapidly increases the oven temperature. The actual oven temperature will go above your set temperature to offset the heat lost when your oven door is opened to insert food. This ensures that when you place your food in the oven, the oven will begin at the proper temperature. Insert your food when the preheat tone sounds. Do not open the door during preheat before
the tone sounds.
Oven Temperature
While in use, the oven elements will cycle on and off as needed to maintain a consistent temperature, but they may run slightly hot or cool at any point in time due to this cycling. Opening the oven door while in use will release the hot air and cool the oven which could impact the cooking time and performance. It is recommended to use the oven light to monitor the cooking progress.
NOTE: On models with convection, the convection fan may run in the non-convection bake mode to improve oven performance.
Temperature Management System
The Temperature Management System electronically regulates the oven heat levels during preheating and baking to maintain a precise temperature range for optimal cooking results. The baked and broil elements or burners cycle on and off in intervals. On convection range models, the fan will run while preheating and may be cycled on and off for short intervals during the bake to provide the best results. This feature is automatically activated when the oven is in use. Before baking and roasting, position racks according to the “Positioning Racks and Bakeware” section. When roasting, it is not necessary to wait for the oven preheat cycle to end before putting food in unless it is recommended in the recipe.
Steam Bake
The Steam Bake function works in conjunction with the steam rack to provide additional moisture during baking. The steam rack contains a water reservoir which heats up and releases steam into the oven cavity during the Steam Bake cycle. There are 3 preprogrammed food options to choose from Bread, Desserts, and Fish as well as a Refresh/Reheat option. For best performance, place the steam rack in the lowest available rack position in the cavity and pour 1½ cups (350 mL) of water into the reservoir. Do not fill past the MAX level indicated on the reservoir. After the Steam Bake cycle is complete, some water may remain in the reservoir. This is normal. Wait for the oven to cool and discard the water.
A. Steam rack
B. Water reservoir
Broiling
When broiling, preheat the oven for 2 minutes before putting food in, unless recommended otherwise in the recipe. Position food on the grid in a broiler pan, and then place it in the center of the oven rack.
IMPORTANT: Close the door to ensure proper broiling temperature.
Changing the temperature when broiling allows more precise control when cooking. The lower the broil setting is, the slower the cooking. Thicker cuts and unevenly shaped pieces of meat, fish, and poultry may cook better at lower broil settings. Use rack 6 or 7 for broiling. Refer to the “Positioning Racks and Bakeware” section for more information. On lower settings, the broil element will cycle on and off to maintain the proper temperature.
For best results, use a broiler pan and grid. It is designed to drain juices and help avoid spatter and smoke. If you would like to purchase a broiler pan, one may be ordered. Please refer to the Quick Start Guide for contact information.
Convection Cooking
In a convection oven, the fan-circulated hot air continually distributes heat more evenly than the natural movement of air in a standard thermal oven. This movement of hot air helps maintain a consistent temperature throughout the oven, cooking foods more evenly, and crisping surfaces while sealing in moisture and yielding crustier bread.
During convection baking or roasting, the bake, broil, and convection elements cycle on and off in intervals while the fan circulates the hot air. During convection broiling, the broil and convection elements cycle on and off. If the oven door is opened during convection cooking, the fan will turn off immediately. It will come back on when the oven door is closed.
With convection cooking, most foods can be cooked at a lower temperature and/or a shorter cooking time than in a standard thermal oven. Depending upon the selected cooking mode, EasyConvect™ conversion can automatically reduce the standard recipe temperature and/or time you input for convection cooking. If you choose not to use the EasyConvect™ conversion, use the following table as a guide.
| Convection Mode | Time/Temperature Guidelines |
| Convection Bake | 25°F (15°C) lower temperature, |
| Convection Roast | Cooking time shortened by up to 30% |
| Convection Broil | Shortened cooking time |
Convect Options
Convect Bake – multiple-rack baking or cookies, biscuits, breads, casseroles, tarts, tortes, cakes
Convect Roast – whole chicken or turkey, vegetables, pork roasts, beef roasts
Convect Broil – thicker cuts or unevenly shaped pieces of meat, fish, or poultry
Proofing Bread
Proofing bread prepares the dough for baking by activating the yeast. Follow the recipe directions as a guide. Proof should be used for the fresh dough, thawed dough, and for the first and second rises.
To Proof:
Before first proofing, place the dough in a lightly greased bowl and cover loosely with wax paper, coated with shortening. Place on rack guide 2 and close the oven door.
NOTE: If the temperature of the oven is greater than 120°F (49° C), “Oven Cooling” will be displayed until the temperature is less than 120°F (49°C).
- Press PROOF.
- Press START.
Let the dough rise until nearly doubled in size. Proofing time may vary depending on dough type and quantity. - Press CANCEL when finished proofing.
Before second proofing, shape the dough, place it in baking pan (s), and cover loosely. Follow the same placement and control steps above. Before baking, remove the cover.
NOTE: If the oven temperature is greater than 120°F (49°C), the display will indicate “Oven Cooling” until the temperature is below 120°F (49°C).
Cook Time
To Set a Timed Cook:
- Press BAKE or BROIL or press an Easy Convect function.
- Press the number keypads to enter a temperature other than the one displayed.
- Press COOK TIME. The cook time oven indicator light will light up.
- Press the number keypads to enter the length of time to cook.
- Press START. The display will count down the time. When the time ends, the oven will shut off automatically.
- Press CANCEL for the desired oven to clear the display.
To Set a Delayed Timed Cook:
1. Press BAKE or BROIL or press an Easy Convect function.
2. Press the number keypads to enter a temperature other than the one displayed.
3. Press COOK TIME. The Cook Time oven indicator light will light up.
4. Press the number of keypads to enter the length of time to cook.
5. Press DELAY START.
6. Press number keypads to enter the number of hours and/or minutes you want to delay the start time. - Press START.
When the start time is reached, the oven will automatically turn on. The temperature and/or time settings can be changed anytime after the oven turns on by repeating steps 2 through 4. When the set cook time ends, the oven will shut off automatically. - Press CANCEL for the desired oven to clear the display.
W11435589A
®/™ ©2020 KitchenAid. All rights reserved. Used under license in Canada.
A. Small (Auxiliary)
IMPORTANT: The bottoms of the small and medium caps are different. Do not put the wrong size burner cap on the burner base.
A. “V” cutout
A. “V” cutout
















