DEWALT 20V Max* String Trimmer DCST922

DEWALT 20V Max* String Trimmer DCST922
Instruction Manual
model no: DCST922
20V Max* String Trimmer
www.DEWALT.com
If you have questions or comments, contact us.
1-800-4-DEWALT
Definitions: Safety Alert Symbols and Words
This instruction manual uses the following safety alert symbols and words to alert you to hazardous situations and your risk of personal injury or property damage.
DANGER: Indicates an imminently hazardous situation which, if not avoided, will result in death or serious injury.
WARNING: Indicates a potentially hazardous situation which, if not avoided, could result in death or serious injury.
CAUTION: Indicates a potentially hazardous situation which, if not avoided, may result in minor or moderate injury.
(Used without word) Indicates a safety related message.
NOTICE: Indicates a practice not related to personal injury which, if not avoided, may result in property damage.
Fig. A

- Variable speed trigger
- Lock-off button
- Speed control switch
- Auxiliary handle
- Motor housing
- Locking lever
- Pole latch
- Pole clasp
- Guard
- Spool housing
- Battery housing
- Battery pack
- Battery release button
- Handle
- Upper pole
- Lower pole
WARNING: Read all safety warnings and all instructions. Failure to follow the warnings and instructions may result in electric shock, fire and/or serious injury.
WARNING: To reduce the risk of injury, read the instruction manual.
If you have any questions or comments about this or any product, call DEWALT toll free at: (1-800-433-9258).
20V Max* String Trimmer
DCST922
IMPORTANT SAFETY INSTRUCTIONS
WARNING: To reduce risk of injury:
- Before any use, be sure everyone using this unit reads and understands all safety instructions and other information contained in this manual.
- Save these instructions and review frequently.
WARNING: When using electric gardening appliances, basic safety precautions should always be followed to reduce risk of fire, electric shock, and personal injury, including the following.
- Avoid Dangerous Environment – Don’t use appliances in damp or wet locations.
- Don’t Use In Rain.
- Keep Children Away – All visitors should be kept at a distance from work area.
- Dress Properly – Do not wear loose clothing or jewelry. They can be caught in moving parts. Use of rubber gloves and substantial footwear is recommended when working outdoors. Wear protective hair covering to contain long hair.
- Use Safety Glasses – Always use face or dust mask if operation is dusty.
- Use Right Appliance – Do not use appliance for any job except that for which it is intended.
- Don’t grasp the exposed cutting blades or cutting edges when picking up or holding the appliance.
- Don’t Force Appliance – It will do the job better and with less likelihood of a risk of injury at the rate for which it was designed.
- Don’t Overreach – Keep proper footing and balance at all times.
- Stay Alert – Watch what you are doing. Use common sense. Do not operate appliance when you are tired.
- Disconnect Appliance – Remove the battery when not in use, before servicing, when changing accessories such as blades, and the like.
- Store Idle Appliances Indoors – When not in use, appliances should be stored indoors in dry, and high or locked-up place – out of reach of children.
- Maintain Appliance With Care – Keep cutting edge sharp and clean for best performance and to reduce the risk of injury. Follow instructions for lubricating and changing accessories. Inspect appliance power source periodically, and if damaged, have it repaired by an authorized service facility. Keep handles dry, clean, and free from oil and grease.
- Check Damaged Parts – Before further use of the appliance, a guard or other part that is damaged should be carefully checked to determine that it will operate properly and perform its intended function. Check for alignment of moving parts, binding of moving parts, breakage of parts, mounting, and any other condition that may affect its operation. A guard or other part that is damaged should be properly repaired or replaced by an authorized service center unless indicated elsewhere in this manual.
SAVE THESE INSTRUCTIONS
Additional Safety Warnings
WARNING: To reduce the risk of rebound (ricochet) injury, work going away from any nearby solid object such as wall, steps, large stone, tree, etc.
- GUARD – Do not use this appliance without guard attached.
- DRESS PROPERLY – Do not wear loose clothing or jewelry. They can be caught in moving parts. Gloves and substantial rubber soled footwear are recommended when working outdoors. Don’t operate the appliance when barefoot or wearing open sandals. Wear heavy long pants to protect your legs. Wear protective hair covering to contain long hair.
- KEEP FACE, HANDS AND FEET CLEAR OF ROTATING NYLON LINE AT ALL TIMES. The rotating line performs a cutting function use care when trimming around screens and desirable plantings.
- KEEP ALL BYSTANDERS AWAY – at a safe distance from work area, especially children. MAKE SURE that other persons and pets are at least 100′ (30 m) away.
- USE GREAT CARE when working close to solid objects and where necessary, do trimming by hand.
- AVOID ACCIDENTALLY STARTING – Don’t carry with finger on trigger when battery is installed.
- DAMAGE TO UNIT – If you strike or become entangled with a foreign object, stop appliance immediately, check for damage and have any damage repaired before further operation is attempted. Do not operate with a broken hub or spool.
- DO NOT OPERATE portable electric appliances in gaseous or explosive atmospheres. Motors in these appliances normally spark, and the sparks might ignite fumes.
- STAY ALERT – Do not operate this unit when you are tired, ill, or under the influence of alcohol, drugs, or medication.
- DO NOT immerse appliance in water or squirt it with a hose.
- DO NOT allow any liquid to get inside it. If appliance does get wet, allow to dry for a minimum of 48 hours.
- DO NOT clean with a pressure washer.
- DO NOT store the appliance on or adjacent to fertilizers or chemicals.
- DO NOT charge appliance in rain, or in wet locations.
- TO REDUCE THE RISK OF INJURY, do not operate the unit while folded. The unit must be fully extended and the pole clasp secured before the battery is inserted.
- REMOVE BATTERY BEFORE FOLDING THE UNIT. Fold unit completely until it locks in place.
CAUTION: Use only DEWALT replacement spools and line. Using any other manufacturer’s line can reduce performance, damage the trimmer or cause personal injury.
Your trimmer uses 0.080 inches (2.0 mm) diameter line. Do not use other size lines. This can degrade performance, cause damage to the unit or injury.
WARNING: Do not use appliance if the switch trigger does not turn the appliance on or off. Any appliance that can not be controlled with the switch trigger is dangerous and must be repaired.
WARNING: Never modify the power tool or any part of it. Damage or personal injury could result.
WARNING: ALWAYS use safety glasses. Everyday eyeglasses are NOT safety glasses. Also use face or dust mask if operation is dusty. ALWAYS WEAR CERTIFIED SAFETY EQUIPMENT:
- ANSI Z87.1 eye protection (CAN/CSA Z94.3),
- ANSI S12.6 (S3.19) hearing protection,
- NIOSH/OSHA/MSHA respiratory protection.
WARNING: Some dust contains chemicals known to State of California to cause cancer, birth defects or other reproductive harm. Some examples of these chemicals are:
- compounds in fertilizers,
- compounds in insecticides, herbicides and pesticides,
- arsenic and chromium from chemically treated lumber.
To reduce your exposure to these chemicals, wear approved safety equipment such as dust masks that are specially designed to filter out microscopic particles.
WARNING: Use of this tool can generate and/or disperse dust, which may cause serious and permanent respiratory or other injury. Always use NIOSH/OSHA approved respiratory protection appropriate for the dust exposure. Direct particles away from face and body.
WARNING: Always wear proper personal hearing protection that conforms to ANSI S12.6 (S3.19) during use. Under some conditions and duration of use, noise from this product may contribute to hearing loss.
CAUTION: When not in use, place tool on its side on a stable surface where it will not cause a tripping or falling hazard. Some tools with a large battery pack will stand upright but may be easily knocked over.
- Air vents often cover moving parts and should be avoided. Loose clothes, jewelry or long hair can be caught in moving parts.
The label on your tool may include the following symbols. The symbols and their definitions are as follows:
- V …………………volts
- Hz …………………..hertz
- min…………………minutes
or DC……direct current
………………….Class I Construction (grounded)- …/min…………..per minute
- BPM………………..beats per minute
- IPM………………… impacts per minute
- RPM………………..revolutions per minute
- sfpm ……………….surface feet per minute
- SPM………………..strokes per minute
- OPM………………..oscillations per minute
- A…………………….amperes
- W……………………watts
or AC………..alternating current
or AC/DC….alternating or direct current
………………….Class II Construction (double insulated)- no…………………..no load speed
- n…………………….rated speed
………………….earthing terminal
…………………safety alert symbol
…………………visible radiation
…………………avoid staring at light
…………………wear respiratory protection
…………………wear eye protection
…………………wear hearing protection
…………………read all documentation- IPXX……………….. IP symbol
BATTERIES AND CHARGERS
The battery pack is not fully charged out of the carton. Before using the battery pack and charger, read the safety instructions below and then follow charging procedures outlined. When ordering replacement battery packs, be sure to include the catalog number and voltage.
READ ALL INSTRUCTIONS
Important Safety Instructions for All Battery Packs
WARNING: Read all safety warnings, instructions, and cautionary markings for the battery pack, charger and product. Failure to follow the warnings and instructions may result in electric shock, fire and/or serious injury.
- Do not charge or use the battery pack in explosive atmospheres, such as in the presence of flammable liquids, gases or dust. Inserting or removing the battery pack from the charger may ignite the dust or fumes.
- When battery pack is not in use, keep it away from other metal objects, like paper clips, coins, keys, nails, screws, or other small metal objects, that can make a connection from one terminal to another. Shorting the battery terminals together may cause burns or a fire.
- NEVER force the battery pack into the charger. DO NOT modify the battery pack in any way to fit into a non-compatible charger as battery pack may rupture causing serious personal injury. Consult the chart at the end of this manual for compatibility of batteries and chargers.
- Charge the battery packs only in DEWALT chargers.
- DO NOT splash or immerse in water or other liquids.
- Do not store or use the tool and battery pack in locations where the temperature may reach or exceed 104 °F (40 °C) (such as outside sheds or metal buildings in summer). For best life store battery packs in a cool, dry location.
NOTE: Do not store the battery packs in a tool with the trigger switch locked on. Never tape the trigger switch in the ON position. - Do not expose battery pack or tool/appliance to fire or excessive temperature. Exposure to fire or temperature above 265 °F (130 °C) may cause explosion.
- Do not incinerate the battery pack even if it is severely damaged or is completely worn out. The battery pack can explode in a fire. Toxic fumes and materials are created when lithium-ion battery packs are burned.
- If battery contents come into contact with the skin, immediately wash area with mild soap and water. If battery liquid gets into the eye, rinse water over the open eye for 15 minutes or until irritation ceases. If medical attention is needed, the battery electrolyte is composed of a mixture of liquid organic carbonates and lithium salts.
- Contents of opened battery cells may cause respiratory irritation. Provide fresh air. If symptoms persist, seek medical attention.
WARNING: Burn hazard. Battery liquid may be flammable if exposed to spark or flame.
WARNING: Fire hazard. Never attempt to open the battery pack for any reason. If the battery pack case is cracked or damaged, do not insert into the charger. Do not crush, drop or damage the battery pack. Do not use a battery pack or charger that has received a sharp blow, been dropped, run over or damaged in any way (e.g., pierced with a nail, hit with a hammer, stepped on). Damaged battery packs should be returned to the service center for recycling.
Storage Recommendations
- The best storage place is one that is cool and dry, away from direct sunlight and excess heat or cold.
- For long storage, it is recommended to store a fully charged battery pack in a cool dry place out of the charger for optimal results.
NOTE: Battery packs should not be stored completely depleted of charge. The battery pack will need to be recharged before use.
Battery Pack Cleaning Instructions
Dirt and grease may be removed from the exterior of the battery using a cloth or soft non-metallic brush. Do not use water or any cleaning solutions.
Fuel Gauge Battery Packs
Some DEWALT battery packs include a fuel gauge which consists of three green LED lights that indicate the level of charge remaining in the battery pack.
The fuel gauge is an indication of approximate levels of charge remaining in the battery pack according to the following indicators:
75–100% charged
51–74% charged
< 50% charged
Pack needs to be charged
To actuate the fuel gauge, press and hold the fuel gauge button. A combination of the three green LED lights will illuminate designating the level of charge left. When the level of charge in the battery is below the usable limit, the fuel gauge will not illuminate and the battery will need to be recharged.
NOTE: The fuel gauge is only an indication of the charge left on the battery pack. It does not indicate tool functionality and is subject to variation based on product components, temperature and end-user application.
For more information regarding fuel gauge battery packs, please contact 1-800-4-DEWALT (1-800-433-9258) or visit our website www.dewalt.com.
Transportation
WARNING: Fire hazard. Do not store or carry the battery pack so that metal objects can contact exposed battery terminals. For example, do not place the battery pack in aprons, pockets, tool boxes, product kit boxes, drawers, etc., with loose nails, screws, keys, etc. Transporting batteries can possibly cause fires if the battery terminals inadvertently come in contact with conductive materials such as keys, coins, hand tools and the like. The US Department of Transportation Hazardous Material Regulations (HMR) actually prohibit transporting batteries in commerce or on airplanes in carry-on baggage UNLESS they are properly protected from short circuits. So when transporting individual battery packs, make sure that the battery terminals are protected and well insulated from materials that could contact them and cause a short circuit.
NOTE: Li-ion batteries should not be put in checked baggage.
The RBRC® Seal

The RBRC® (Rechargeable Battery Recycling Corporation) Seal on the nickel cadmium, nickel metal hydride or lithiumion batteries (or battery packs) indicates that the costs to recycle these batteries (or battery packs) at the end of their useful life have already been paid by DEWALT. In some areas, it is illegal to place spent nickel cadmium, nickel metal hydride or lithium-ion batteries in the trash or municipal solid waste stream and the Call 2 Recycle® program provides an environmentally conscious alternative.
Call 2 Recycle, Inc., in cooperation with DEWALT and other battery users, has established the program in the United States and Canada to facilitate the collection of spent nickel cadmium, nickel metal hydride or lithium-ion batteries. Help protect our environment and conserve natural resources by returning the spent nickel cadmium, nickel metal hydride or lithium-ion batteries to an authorized DEWALT service center or to your local retailer for recycling. You may also contact your local recycling center for information on where to drop off the spent battery. RBRC® is a registered trademark of Call 2 Recycle, Inc.
Shipping the DEWALT FLEXVOLT™ Battery
The DEWALT FLEXVOLT™ battery has two modes: Use and Shipping.
Use Mode: When the FLEXVOLT™ battery stands alone or is in a DEWALT 20V Max* product, it will operate as a 20V Max* battery. When the FLEXVOLT™ battery is in a 60V Max* or a 120V Max* (two 60V Max* batteries) product, it will operate as a 60V Max* battery.
Shipping Mode: When the cap is attached to the FLEXVOLT™ battery, the battery is in Shipping Mode. Strings of cells are electrically disconnected within the pack resulting in three batteries with a lower Watt hour (Wh) rating as compared to one battery with a higher Watt hour rating. This increased quantity of three batteries with the lower Watt hour rating can exempt the pack from certain shipping regulations that are imposed upon the higher Watt hour batteries.
The battery label indicates two Watt hour ratings (see example). Depending on how the battery is shipped, the appropriate Watt hour rating must be used to determine the applicable shipping requirements. If utilizing the shipping cap, the pack will be considered 3 batteries at the Watt hour rating indicated for “Shipping”. If shipping without the cap or in a tool, the pack will be considered one battery at the Watt hour rating indicated next to “Use”.
- Example of Use and Shipping Label Marking
- USE: 120 Wh Shipping: 3 x 40 Wh
For example, Shipping Wh rating might indicate 3 x 40 Wh, meaning 3 batteries of 40 Watt hours each. The Use Wh rating might indicate 120 Wh (1 battery implied).
Important Safety Instructions for All Battery Chargers
WARNING: Read all safety warnings, instructions, and cautionary markings for the battery pack, charger and product. Failure to follow the warnings and instructions may result in electric shock, fire and/or serious injury.
- DO NOT attempt to charge the battery pack with any chargers other than a DEWALT charger. DEWALT chargers and battery packs are specifically designed to work together.
- These chargers are not intended for any uses other than charging DEWALT rechargeable batteries.
Any other uses may result in risk of fire, electric shock or electrocution. - Do not expose the charger to rain or snow.
- Pull by the plug rather than the cord when disconnecting the charger. This will reduce the risk of damage to the electric plug and cord.
- Make sure that the cord is located so that it will not be stepped on, tripped over or otherwise subjected to damage or stress.
- Do not use an extension cord unless it is absolutely necessary. Use of improper extension cord could result in risk of fire, electric shock or electrocution.
- When operating a charger outdoors, always provide a dry location and use an extension cord suitable for outdoor use. Use of a cord suitable for outdoor use reduces the risk of electric shock.
- An extension cord must have adequate wire size (AWG or American Wire Gauge) for safety. The smaller the gauge number of the wire, the greater the capacity of the cable, that is, 16 gauge has more capacity than 18 gauge. An undersized cord will cause a drop in line voltage resulting in loss of power and overheating. When using more than one extension to make up the total length, be sure each individual extension contains at least the minimum wire size. The following table shows the correct size to use depending on cord length and nameplate ampere rating. If in doubt, use the next heavier gauge. The lower the gauge number, the heavier the cord.
Minimum Gauge for Cord Sets
| Volts | Total Length of Cord in Feet (meters) | ||||
| 120V | 25 (7.6) | 50 (15.2) | 100 (30.5) | 150 (45.7) | |
| 240V | 50 (15.2) | 100 (30.5) | 200 (61.0) | 300 (91.4) | |
| Ampere Rating | American Wire Gauge | ||||
| More Than | Not More Than | ||||
| 0 | 6 | 18 | 16 | 16 | 14 |
| 6 | 10 | 18 | 16 | 14 | 12 |
| 10 | 12 | 16 | 16 | 14 | 12 |
| 12 | 16 | 14 | 12 | Not Recommended | |
WARNING: If the plug or power cord is damaged, it must be replaced by the manufacturer or its representative or by an equally qualified person to avoid danger.
- Do not place any object on top of the charger or place the charger on a soft surface that might block the ventilation slots and result in excessive internal heat. Place the charger in a position away from any heat source. The charger is ventilated through slots in the top and the bottom of the housing.
- Do not operate the charger with a damaged cord or plug–have them replaced immediately.
- Do not operate the charger if it has received a sharp blow, been dropped or otherwise damaged in any way. Take it to an authorized service center.
- Do not disassemble the charger; take it to an authorized service center when service or repair is required. Incorrect reassembly may result in a risk of electric shock, electrocution or fire.
- Disconnect the charger from the outlet before attempting any cleaning. This will reduce the risk of electric shock. Removing the battery pack will not reduce this risk.
- NEVER attempt to connect 2 chargers together.
- The charger is designed to operate on standard 120V household electrical power. Do not attempt to use it on any other voltage. This does not apply to the vehicular charger.
WARNING: Shock hazard. Do not allow any liquid to get inside the charger. Electric shock may result.
WARNING: Burn hazard. Do not submerge the battery pack in any liquid or allow any liquid to enter the battery pack. Never attempt to open the battery pack for any reason. If the plastic housing of the battery pack breaks or cracks, return to a service center for recycling.
CAUTION: Burn hazard. To reduce the risk of injury, charge only DEWALT rechargeable battery packs. Other types of batteries may overheat and burst resulting in personal injury and property damage.
CAUTION: Under certain conditions, with the charger plugged into the power supply, the charger can be shorted by foreign material. Foreign materials of a conductive nature, such as, but not limited to, grinding dust, metal chips, steel wool, aluminum foil or any buildup of metallic particles should be kept away from the charger cavities. Always unplug the charger from the power supply when there is no battery pack in the cavity. Unplug the charger before attempting to clean.
Charging a Battery
NOTE: To ensure maximum performance and life of lithiumion battery packs, charge the battery pack fully before first use.
- Plug the charger into an appropriate outlet before inserting battery pack.
- Connect the charger and battery pack, making sure the battery is fully seated. The (charging) light will blink continuously indicating that the charging process has started.
- The completion of charge will be indicated by the light remaining ON continuously. The battery pack is fully charged and may be removed and used at this time or left in the charger.
NOTE: To remove the battery pack, some chargers require the battery pack release button to be pressed.
| Indicators | ||
![]() | Charging | |
| Fully Charged | ||
| Hot/Cold Pack Delay* | ||
DCB107, DCB112, DCB113, DCB115, DCB118, DCB132: The red light will continue to blink, but a yellow indicator light will be illuminated during this operation. Once the battery pack has reached an appropriate temperature, the yellow light will turn off and the charger will resume the charging procedure. A charger will not charge a faulty battery pack. The charger refusing to light could indicate a problem with the charger or a faulty battery pack.
NOTE: If the charger refuses to light, take the charger and battery pack to be tested at an authorized service center.
Leaving the Battery Pack In the Charger
The charger and battery pack can be left connected with the charge indicator showing pack charged.
Hot/Cold Pack Delay
When the charger detects a battery pack that is too hot or too cold, it automatically starts a Hot/Cold Pack Delay, suspending charging until the battery pack has reached an appropriate temperature. The charger then automatically switches to the pack charging mode. This feature ensures maximum battery pack life.
A cold battery pack may charge at a slower rate than a warm battery pack.
The DCB118 charger is equipped with an internal fan designed to cool the battery pack. The fan will turn on automatically when the battery pack needs to be cooled.
Never operate the charger if the fan does not operate properly or if ventilation slots are blocked. Do not permit foreign objects to enter the interior of the charger.
Electronic Protection System
Li-Ion tools are designed with an Electronic Protection System that will protect the battery pack against overloading, overheating or deep discharge.
The tool will automatically turn off if the Electronic Protection System engages. If this occurs, place the lithiumion battery pack on the charger until it is fully charged.
Important Charging Notes
- Longest life and best performance can be obtained if the battery pack is charged when the air temperature is between 65 °F – 75 °F (18 °C–24 °C). DO NOT charge when the battery pack is below +40 °F (+4.5 °C), or above +104 °F (+40 °C). This is important and will prevent serious damage to the battery pack.
- The charger and battery pack may become warm to the touch while charging. This is a normal condition, and does not indicate a problem. To facilitate the cooling of the battery pack after use, avoid placing the charger or battery pack in a warm environment such as in a metal shed or an uninsulated trailer.
- If the battery pack does not charge properly:
a. Check operation of receptacle by plugging in a lamp or other appliance;
b. Check to see if receptacle is connected to a light switch which turns power off when you turn out the lights;
c. Move the charger and battery pack to a location where the surrounding air temperature is approximately 65 °F–75 °F (18 °C–24 °C);
d. If charging problems persist, take the tool, battery pack and charger to your local service center. - The battery pack should be recharged when it fails to produce sufficient power on jobs which were easily done previously. DO NOT CONTINUE to use under these conditions. Follow the charging procedure. You may also charge a partially used pack whenever you desire with no adverse effect on the battery pack.
- Foreign materials of a conductive nature such as, but not limited to, grinding dust, metal chips, steel wool, aluminum foil, or any buildup of metallic particles should be kept away from charger cavities. Always unplug the charger from the power supply when there is no battery pack in the cavity. Unplug the charger before attempting to clean.
- Do not freeze or immerse the charger in water or any other liquid.
Charger Cleaning Instructions
WARNING: Shock hazard. Disconnect the charger from the AC outlet before cleaning. Dirt and grease may be removed from the exterior of the charger using a cloth or soft non-metallic brush. Do not use water or any cleaning solutions.
Wall Mounting
DCB107, DCB112, DCB113, DCB115, DCB118, DCB132 These chargers are designed to be wall mountable or to sit upright on a table or work surface. If wall mounting, locate the charger within reach of an electrical outlet, and away from a corner or other obstructions which may impede air flow. Use the back of the charger as a template for the location of the mounting screws on the wall. Mount the charger securely using drywall screws (purchased separately) at least 1” (25.4 mm) long, with a screw head diameter of 0.28–0.35” (7–9 mm), screwed into wood to an optimal depth leaving approximately 7/32” (5.5 mm) of the screw exposed. Align the slots on the back of the charger with the exposed screws and fully engage them in the slots.
Intended Use
- This string trimmers is designed for professional trimming applications. This product is not an edger and is not intended to be used for edging.
- DO NOT use under wet conditions or in presence of flammable liquids or gases.
- DO NOT let children come into contact with the tool. Supervision is required when inexperienced operators use this tool.
ASSEMBLY AND ADJUSTMENTS
WARNING: To reduce the risk of serious personal injury, turn unit off and remove the battery pack before making any adjustments or removing/installing attachments or accessories. An accidental start-up can cause injury.
Extending and Folding the Pole
WARNING: To reduce the risk of injury, do not operate the unit while folded. The unit must be fully extended and the pole clasp secured before the battery is inserted. Remove battery before folding the unit. Fold unit completely until it locks in place.
- To lock pole into straight use position, first ensure battery has been removed. Then flip up the locking lever 6 rotate pole latch 7 forward and place the pole clasp 8 over the clasp catch 20 . Rotate the pole latch 7 backwards until it locks securely into position. Check the locking lever to make sure it is properly locked in place.
- To fold the pole for storage or transportation, first ensure battery has been removed. Then flip up the locking lever 17 , rotate pole latch 18 forward and lift the pole clasp 19 up and over the clasp catch 20 . Fold the pole completely until the guard 9 securely locks into place over the rear of the battery housing 11.
Fig. B

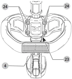
Attaching the Auxiliary Handle
- Place the auxiliary handle 4 on top of the handle base 23 so the upper trimmer pole 15 is between them.
- Hold the auxiliary handle in place and slide the handle bolts 24 into the handle from the top, threading them into the handle base.
- Tighten the handle bolts with the supplied hex wrench. Ensure the handle is securely attached.
Fig. C

Attaching Guard
WARNING: Never remove the guard. Damage or personal injury could result.
WARNING: NEVER OPERATE APPLIANCE WITHOUT GUARD FIRMLY IN PLACE.
The guard must always be properly attached on the appliance to protect the user.
- Assemble the guard 9 to the motor housing 5.
- Using a crosshead screwdriver, insert the 2 guard screws 21 and tighten securely.
NOTE: An extended coverage guard is available (sold separately) for extra coverage if desired. Use replacement guard Part Number N776035.
Fig. D

Fig. E

OPERATION
WARNING: To reduce the risk of serious personal injury, turn unit off and remove the battery pack before making any adjustments or removing/installing attachments or accessories. An accidental start-up can cause injury.
Installing and Removing the Battery Pack
NOTE: For best results, make sure your battery pack is fully charged.
To install the battery pack 12 into the tool handle, align the battery pack with the rails inside the tool’s handle and slide it into the handle until the battery pack is firmly seated in the tool and ensure that it does not disengage. To remove the battery pack from the tool, press the release button 13 and firmly pull the battery pack out of the tool handle. Insert it into the charger as described in the charger section of this manual
Fig. F

Proper Hand Position
WARNING: To reduce the risk of serious personal injury, ALWAYS use proper hand position as shown.
WARNING: To reduce the risk of serious personal injury, ALWAYS hold securely in anticipation of a sudden reaction.
WARNING: Always use proper eye protection that conforms to ANSI Z87.1 (CAN/CSA Z94.3) while operating this appliance.
WARNING: Remove the battery before making any assembly, adjustments, or changing accessories. Such preventive safety measures reduce the risk of starting the TRIMMER accidentally.
CAUTION: Before you begin trimming, only use the appropriate type of cutting line.
CAUTION: Inspect area to be trimmed and remove any wire, cord, or string-like objects which could become entangled in the rotating line or spool. Be particularly careful to avoid any wire which might be bent outwardly into the path of the appliance, such as barbs at the base of a chain link fence.
Proper hand position requires one hand on the primary handle 14 and one hand on the auxiliary handle 4.
Fig. G

Switching Trimmer On and Off
- To turn the appliance on, squeeze the lock-off button 2 and then the variable speed trigger 1.
- To turn the appliance off, release the variable speed trigger and the lock-off button.
WARNING: Never attempt to lock the trigger in the on position.
Speed Control Switch
This string trimmer gives you the choice to operate at a more efficient speed to extend the runtime for larger jobs, or accelerate the trimmer speed for high-performance cutting. To extend runtime, push the speed control switch 3 forward toward the Auxiliary handle 4 into the “LO” position. This mode is best for larger projects that require more time to complete. To accelerate the trimmer, pull the speed control switch back toward the battery housing 11 into the “HI” position. This mode is best to cut through heavier growth and for applications that need higher RPM.
NOTE: When in “HI” mode, runtime will be decreased as compared to when trimmer is in “LO” mode.
Trimming
- With the trimmer on, angle it and swing side to side as shown in Fig. H.
- Maintain a minimum distance of 24″ (610 mm) between the guard and your feet as shown in Fig. I.
WARNING: Keep the rotating string roughly parallel with the ground (tilted no more than 30 degrees). This trimmer is not an edger. DO NOT TILT the trimmer so that the string is spinning near a right angle to the ground. Flying debris can cause serious injury.
Fig. H

Fig. I

Bump Feed Trimmer Line Feed
Your trimmer uses 0.080″ (2.0 mm) diameter nylon line. Cutting line will wear faster and require more feeding if the cutting is done along sidewalks or other abrasive surfaces or heavier weeds are being cut.
As you use the trimmer, the string will get shorter due to wear. Gently bump the trimmer on the ground while running at normal speed and the line will feed.
NOTE: Extending nylon line beyond the 14″ (355 mm) swath will negatively affect performance, runtime, and the life of the trimmer due to potential of damaging motor. Doing so may void the warranty.
Helpful Cutting Tips
- Use the tip of the string to do the cutting; do not force string head into uncut grass.
- Wire and picket fences cause extra string wear, even breakage. Stone and brick walls, curbs, and wood may wear string rapidly.
- Do not allow spool cap to drag on ground or other surfaces.
- In long growth, cut from the top down and do not exceed 12″ (304.8 mm) high.
- Keep trimmer tilted toward the area being cut; this is the best cutting area.
- The trimmer cuts when passing the unit from the left to right. This will avoid throwing debris at the operator.
- Avoid trees and shrubs. Tree bark, wood moldings, siding, and fence posts can easily be damaged by the string.
MAINTENANCE
WARNING: To reduce the risk of serious personal injury, turn unit off and remove the battery pack before making any adjustments or removing/installing attachments or accessories. An accidental start-up can cause injury.
Maintenance Treatments (Fig. J)
- Keep the air intake slots 30 clean to avoid overheating (Fig. J).
- Your trimmer line can dry out over time. To keep your line in top condition, store spare line in a plastic, sealable bag with a tablespoon of water.
- Plastic parts may be cleaned by using a mild soap and a damp rag.
- The line cutter on the edge of the guard can dull over time. It is recommended you periodically touch-up the sharpness of the blade with a file.
Fig. J

Replacement Accessories
WARNING: To reduce the risk of serious personal injury, turn appliance off and remove battery before making any adjustments or removing/installing attachments or accessories.
WARNING: The use of any accessory not recommended by DEWALT for use with this appliance could be hazardous.
WARNING: Do not use any blades, or any accessory or attachment other than those recommended by DEWALT on this trimmer. Serious injury or product damage may result.
Use DEWALT replacement line Model No. DWO1DT801 or DWO1DT802.
When replacing the line, use only .080″ (2.0 mm) diameter line (Model No. DWO1DT801 or DWO1DT802 are is recommended). Other sizes may degrade performance or cause damage to the trimmer.
Reloading the Cutting Line
WARNING: To reduce the risk of serious personal injury, turn unit off and remove the battery pack before making any adjustments or removing/installing attachments or accessories, when replacing line, or prior to cleaning. An accidental start-up can cause injury.
CAUTION: Use only DEWALT replacement spools and line. Using any other manufacturer’s line can reduce performance, damage the trimmer or cause personal injury.
Your trimmer uses 0.080″ (2.0 mm) diameter line that is spiral-shaped with smooth round edges. Do not use other size lines. This can degrade performance, cause damage to the unit or injury.
CAUTION: To avoid appliance damage, if the cutting line protrudes beyond the trimming blade, cut it off so that it just reaches the blade.
Use only DEWALT replacement line.
- Remove battery.
- Cut a max of 20′ (6 m) length of of 0.080″ (2.0 mm) trimmer line.
- Align spool housing eyelets 26 with the arrow 27 on the spool grip cover 29 as shown in Fig. K.
- Thread one end of the trimmer line through an eyelet. Guide the line through to the second eyelet and continue to pull the line through until there are equal lengths of string on each side of the spool housing as shown in Fig. L.
- Secure the spool cap from moving with one hand. Using your other hand, wind the string onto the spool by rotating the spool grip cover counterclockwise. Continue winding until 5″ (130 mm) of string remain on each side of the spool housing.
Fig. K

Fig. L

Fig. M

Cleaning
WARNING: Blow dirt and dust out of all air vents with clean, dry air at least once a week. To minimize the risk of eye injury, always wear ANSI Z87.1 approved eye protection when performing this procedure.
WARNING: Never use solvents or other harsh chemicals for cleaning the non-metallic parts of the tool. These chemicals may weaken the plastic materials used in these parts. Use a cloth dampened only with water and mild soap. Never let any liquid get inside the tool; never immerse any part of the tool into a liquid.
Accessories
WARNING: Since accessories, other than those offered by DEWALT, have not been tested with this product, use of such accessories with this tool could be hazardous. To reduce the risk of injury, only DEWALT recommended accessories should be used with this product.
Recommended accessories for use with your tool are available at extra cost from your local dealer or authorized service center. If you need assistance in locating any accessory, please contact DEWALT call 1-800-4-DEWALT (1-800-433-9258) or visit our website: www.dewalt.com.
Replacement Accessories
Replacing Spool Assembly (Fig. A, N)
- Rotate the spool housing 10 until the hole 31 in the spindle plate aligns with notch 32 in the motor housing. Insert a screwdriver through the notch and into the hole, to prevent the spindle from turning.
- Unscrew and remove the spool housing by turning the spool grip cover 29 clockwise.
NOTE: Do not try to remove the spool by turning the spool housing 28. - Remove spindle plate 34 before installing a new spool.
Remove any dirt and grass from the motor housing and spindle plate. - Install spindle plate 34 onto the spindle 33, so the double D shaped retaining nut on the spindle sits inside the base of the spindle plate.
- Align the spindle plate hole and notch, insert a screwdriver back into the hole and thread the new spool housing counterclockwise. Securely tighten the new spool housing onto the spindle 33.
Fig. N

Replacing Guard (Fig. O)
An extended coverage guard is available (sold separately) for extra coverage if desired. Use DEWALT replacement guard Part Number N496261.
WARNING: Never operate appliance without guard firmly in place.
- Remove the 2 guard screws 21.
- Attach the new guard as described in the Attaching Guard section.
Fig. O

Folding for Storage or Transportation (Fig. P)
The string trimmer can be folded for storage or transportation. To put the string trimmer in the folded position, please refer to Extending and Folding the Pole.
Fig. P

Repairs
The charger and battery pack are not serviceable. There are no serviceable parts inside the charger or battery pack.
WARNING: To assure product SAFETY and RELIABILITY, repairs, maintenance and adjustment (including brush inspection and replacement, when applicable) should be performed by a DEWALT factory service center or a DEWALT authorized service center. Always use identical replacement parts.
Register Online
- Thank you for your purchase. Register your product now for:
WARRANTY SERVICE
- Registering your product will help you obtain more efficient warranty service in case there is a problem with your product.
- CONFIRMATION OF OWNERSHIP: In case of an insurance loss, such as fire, flood or theft, your registration of ownership will serve as your proof of purchase.
- FOR YOUR SAFETY: Registering your product will allow us to contact you in the unlikely event a safety notification is required under the Federal Consumer Safety Act.
- Register online at www.dewalt.com
Three Year Limited Warranty
DEWALT will repair or replace, without charge, any defects due to faulty materials or workmanship for three years from the date of purchase (two years for batteries). This warranty does not cover part failure due to normal wear or tool abuse. For further detail of warranty coverage and warranty repair information, visit www.dewalt.com or call 1-800-4-DEWALT (1-800-433-9258). This warranty does not apply to accessories or damage caused where repairs have been made or attempted by others. THIS LIMITED WARRANTY IS GIVEN IN LIEU OF ALL OTHERS, INCLUDING THE IMPLIED WARRANTY OF MERCHANTABILITY AND FITNESS FOR A PARTICULAR PURPOSE, AND EXCLUDES ALL INCIDENTAL OR CONSEQUENTIAL DAMAGES. Some states do not allow limitations on how long an implied warranty lasts or the exclusion or limitation of incidental or consequential damages, so these limitations may not apply to you. This warranty gives you specific legal rights and you may have other rights which vary in certain states or provinces.
In addition to the warranty DEWALT tools are covered by our:
1 YEAR FREE SERVICE
DEWALT will maintain the tool and replace worn parts caused by normal use, for free, any time during the first year after purchase.
2 YEARS FREE SERVICE ON DEWALT BATTERY PACKS
DC9071, DC9091, DC9096, DC9182, DC9280, DC9360, DCB120, DCB122, DCB124, DCB127, DCB201, DCB203BT, DCB207, DCB361
3 YEARS FREE SERVICE ON DEWALT BATTERY PACKS
DCB200, DCB203, DCB204, DCB204BT, DCB205, DCB205BT, DCB206, DCB230, DCB606, DCB609, DCB612
NOTE: Battery warranty voided if the battery pack is tampered with in any way. DEWALT is not responsible for any injury caused by tampering and may prosecute warranty fraud to the fullest extent permitted by law.
90 DAY MONEY BACK GUARANTEE
If you are not completely satisfied with the performance of your DEWALT Power Tool or Nailer for any reason, you can return it within 90 days from the date of purchase with a receipt for a full refund – no questions asked.
LATIN AMERICA: This warranty does not apply to products sold in Latin America. For products sold in Latin America, see country specific warranty information contained in the packaging, call the local company or see website for warranty information.
FREE WARNING LABEL REPLACEMENT: If your warning labels become illegible or are missing, call 1-800-4-DEWALT (1-800-433-9258) for a free replacement.
Compatible battery packs and chargers
| 20V Max* Li-Ion | Battery Packs | DCB200, DCB201, DCB203, DCB204, DCB204BT**, DCB205, DCB205BT**, DCB206, DCB208, DCB230, DCB240 |
| Chargers | DCB101, DCB103, DCB104, DCB107, DCB112, DCB113, DCB115, DCB118, DCB132 |
| 60V Max* Li-Ion | Battery Packs | DCB606, DCB609, DCB612 |
| Chargers | DCB101, DCB103, DCB104, DCB107, DCB112, DCB113, DCB115, DCB118, DCB132 |
Maximum initial battery voltage (measured without a workload) is 12, 20, 60 or 120 volts. Nominal voltage is 10.8, 18, 54 or 108.
(120V Max* is based on using 2 DEWALT 60V Max* lithium-ion batteries combined.)
BT – Bluetooth®
NOTE: The Bluetooth® word mark and logos are registered trademarks owned by the Bluetooth®, SIG, Inc. and any use of such marks by DEWALT is under license. Other trademarks and trade names are those of their respective owners.
WARNING: Use of any other battery packs may create a risk of injury and fire.
DEWALT Industrial Tool Co. 701 East Joppa Road, Towson, MD 21286
Copyright © 2019
The following are trademarks for one or more DEWALT power tools: the yellow and black color scheme, the “D” shaped air intake grill, the array of pyramids on the handgrip, the kit box configuration, and the array of lozenge-shaped humps on the surface of the tool.
Frequently Asked Questions
The DCST922 is a 20V Max* trimmer, while the DCST920 is a 20V Max* edger.
The DCST922 is a 20V Max* trimmer, while the DCST925 is a 20V Max* edger.
To install or remove the battery pack from your string trimmer, simply slide it into position and then release it from its housing. To charge your battery pack, simply slide it into position and then plug in your charger. The battery pack can be charged in two ways. You can either plug it into your charger or you can use your string trimmer as a power source to charge it. Simply plug your charger into an outlet and then plug your string trimmer into your charger. Your battery pack will begin to charge automatically
When you are using your string trimmer, if you notice that you are having to give it more effort than normal to get through weeds or grass, then it may be time to recharge your battery pack. If you notice that you are having to give it even more effort than normal, then you may need to replace your battery pack with a new one.
Your string trimmer requires no maintenance for normal operation. However, if you use your string trimmer in wet conditions or if you use it frequently, then you may want to consider cleaning out any debris that has accumulated in or around the spool housing area of your string trimmer. This will help prevent any unnecessary wear on your string trimmer and will also help extend its life span.
Key Features of the DeWalt DCST922:
Beyond that marquee feature, you’ve still got a string trimmer designed to handle the rigors of home lawn maintenance. This trimmer comes equipped with a brushless motor that reaches speeds up to 6000 RPM. The DeWalt Folding String Trimmer has a respectable 14-inch cutting swath.
Once the cap is off I set it down and then you hold on to this outer ring here with the slots in it and you line up that metal Col with the hole in this plastic head these two line up.
The handle and trigger grip section is also a bit thicker than most, so you might not care for it if you have smaller hands. The overall balance of this string trimmer is excellent. Even though the battery and motor weight are both on the back, it was very easy to maneuver around flower beds and driveway culverts.
This item uses the 20v battery but recommend a battery with more Ah for longer run time
Yes, all of the DEWALT 20V batteries are interchangeable. You can use any of the batteries with any of the chargers in the DEWALT 20V line.
The main difference between the two lines is the type of battery each uses. The 20V MAX uses lithium ion batteries, while the 20V XR uses brushless motors and high capacity lithium ion batteries. The 20V MAX is the next line after 18V, and it introduces lithium ion batteries
It uses dual 0.080-inch cutting lines on a 13-inch diameter head. This DeWalt battery string trimmer has a straight shaft and weighs 8.5 lbs. It uses dual 0.080-inch cutting lines on a 13-inch diameter head.
VIDEO
www.dewalt.com/product/dcst922p1/20v-max-14-folding-string-trimmer





















