ADJUSTABLE FLOOR LAMP
Save these instructions

IMPORTANT SAFETY INSTRUCTIONS:
- These instructions are provided for your safety. Please read carefully and completely before beginning the assembly and installation of this lighting fixture.
- This lighting fixture is intended for indoor use only.
- Always place the lighting fixture on a solid, level surface.
- For use with E26 (medium) base light bulbs only.
- To avoid the risk of fire, do not exceed the maximum wattage of 100W incandescent bulb
, or 9W LED bulb
, or 23W fluorescent (CFL) bulb
, or 9W self-ballasted LED bulb
. (Bulbs not included) - This lighting fixture has a polarized plug (one prong is wider than the other) as a safety feature to reduce the risk of electric shock. This plug will fit in a polarized outlet only one way the plug does not fit fully into the outlet, reverse the plug. If it still does not fit, contact a qualified electrician. Never use an extension cord unless the plug can be fully inserted.
Do not alter the plug. Do not attempt to bypass this safety feature.
WARNINGS:
- To reduce the risk of fire, electrical shock, or personal injury: always turn off and unplug this lighting fixture and allow it to cool before attempting to replace the light bulb.
- Do not touch the light bulb while the fixture is turned on.
- Keep flammable materials away from this lighting fixture.
- Never look directly at a lit bulb.
CARE INSTRUCTIONS:
- Unplug the lamp before cleaning.
- Wipe clean with a soft, dry cloth or static duster.
- Always avoid the use of harsh chemicals or abrasive cleaners as they may cause damage to the fixture’s finish
PRE-ASSEMBLY:
Carefully remove all parts and hardware from the carton, along with any protective plastic packaging.
Do not discard any contents until after assembly is complete to avoid accidentally discarding small parts or hardware.
PARTS INCLUDED:

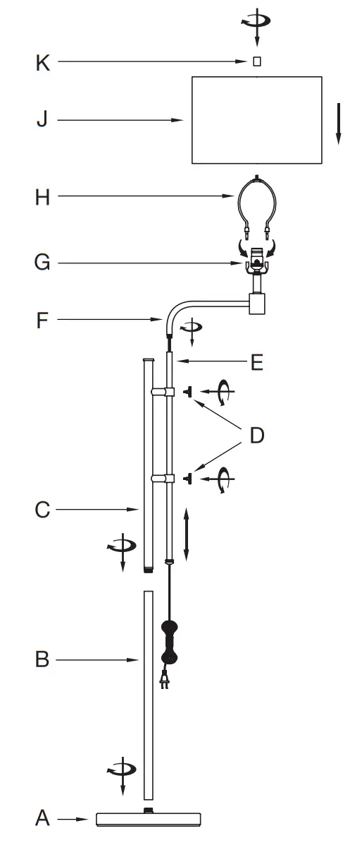
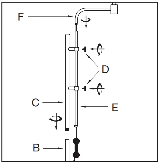
| (A) Base (B) Bottom Post (C) Middle Post (D) Height Adjustment Knobs (E) Height Adjustment Post | (F) Top Post / Socket (G) On/Off Control (H) Harp Top (J) Shade (K) Finial |
For use with light bulbs with an E26 (medium) base.
DO NOT EXCEED THE SPECIFIED WATTAGE.
STEP 1:
Begin with the Base (A) by placing it upright on a flat, even floor surface.
Attach the Bottom Post (B), taking extra care not to strip the threads.
Tighten firmly by hand.

STEP 2:
Attach the Middle Post (C) to Bottom Post (B), taking extra care not to strip the threads.
Install both Height Adjustment Knobs (D) as shown and tighten them by hand.
(Loosen the Knobs (D) to adjust the height of the lamp once all parts are assembled Then retighten.)
Install Top Post (F), taking extra care not to strip the threads.

STEP 3:
Attach the Harp Top (H). Squeeze ends to insert into the saddle of the socket.
Carefully place the Shade (J) onto the Harp Top (H).
Screw the Finial (K) onto the Harp Top (H) and tighten fully to hold the Shade (J) in place.
Carefully install the specified light bulb after all parts are fully assembled.


















