Klipsch AW-650 Indoor/Outdoor Speaker

Specifications
- SPEAKER TYPE: Outdoor
- BRAND: Klipsch
- MODEL NAME: AW-650
- RECOMMENDED USES FOR PRODUCT: For Music Players
- SPECIAL FEATURE: HIGH SENSITIVITY AND POWER HANDLING: 90° x 90° Tractrix Horn Tweeter, Paintable UV-Resistant Enclosure
- HIGH SENSITIVITY AND POWER HANDLING: 90° x 90° Tractrix Horn Tweeter, Paintable UV-Resistant Enclosure,
- PRODUCT DIMENSIONS: 11 x 9.5 x 15 inches
- ITEM WEIGHT: 9 pounds
Introduction
Whether you want to listen to music by the pool, on the patio, or in your yard, the AW-650 has the power to transport you to a state somewhere between incredulity and delight. The Klipsch AW Series delivers unrivalled performance in the outdoor speaker industry, upholding the same high-quality standards as our indoor devices. Injection Smooth, detailed highs with patio-rocking bass frequencies are provided by molded graphite woofers and titanium dome tweeters. Horn-loaded tweeters and super-sized woofer magnets provide outstanding sensitivity, allowing the speakers to produce more sound with less power. The durable, UV-resistant shell, non-corrosive aluminum grille, easy-to-drain input cup, and heavy gauge zinc C-bracket provide years of superb sound.
PLACEMENT
The Reference All-Weather models are perfect for patios, decks, swimming pools, porches or any other place where exposure to the elements makes conventional loudspeaker usage unsuitable. (AW-400, AW-500, AW-525, AW-650, AW-500-SM models)
To achieve the best performance from your speakers, place the pair on the same wall facing the listening area and space them six to fifteen feet apart. In the case of the
AW-500-SM
Only one of these may be used in some installations. It is best to center the speaker on the listening area in these cases. When two are used, follow the same placement guidelines for the other models. For a higher quality stereo image, angle down, or toe in, the speakers toward the primary listening area. This is especially important in installations that place the speakers well above ear level. Some additional bass will result if you place the speakers in a corner or near a wall. This provides greater bass coupling due to the additional reflected energy from the walls.
(AW-800-SW)
The AW-800-SW can be installed in a large variety of locations due to bass frequencies being less directional than high frequencies. You will achieve better results if it is installed in a corner or near a wall where additional energy can be reflected from the walls.
WALL MOUNTING
Included with your speakers are “C” style mounting brackets constructed of weather- resistant, powder-coated zinc. These brackets attach to the speaker with the supplied low-profile knobs that thread onto the top and bottom studs protruding from the cabinet. This allows the speaker to be angled to the left or right when mounted vertically, or up and down when mounted horizontally. After determining the desired location and orientation of your speakers, remove the bracket from the loudspeaker and use it as a template to mark the location of the mounting holes.
Check the alignment of the holes with a torpedo level before drilling the pilot hole. Use #10-12 2.5” –3” long pan head screws to attach the bracket into a wall stud. Affix the speaker to the bracket with the supplied knobs. Be sure to leave enough clearance between the end of the bracket and any adjacent wall or ceiling for the installation of the knobs.
If a wall stud is not available, use the appropriate type of drywall or masonry anchor to support the weight of the speaker, allowing for a generous safety margin. Please consult your dealer, custom installer or a building contractor in these situations. You may also use an optional wall or ceiling mount that will fit the provided 3/8” – 16 inserts. Please see your authorized Klipsch dealer to see which model is right for you.
CONNECTIONS
NOTE
Proper connection of your speakers to your amplifier or receiver is vital to obtaining good sound quality. Please follow these directions carefully. Sloppy connections can cause amplifier malfunction or damage. We recommend that you use 16-gauge or heavier stranded copper wire. Use a lower gauge (heavier) wire for longer runs to reduce the amount of amplifier power lost due to the wire’s resistance.
BUT FIRST TYPES OF CONNECTORS
Bare wire. Pull the two conductors apart for about an inch and strip approximately 1/4-inch of insulation from the end of each. (A wire stripper will simplify this, but you can use an ordinary pocket knife to cut around and through the insulation down to the wire.) Twist the strands of wire on each individual conductor tightly together. Loosen the nuts on a pair of binding posts until the holes through the metal posts are exposed, then insert the bare wire through the holes. Screw the nuts down finger-tight on the wire. Make sure that no strands of wire are touching from one binding post to the other or to any strands from the other conductor. Failure to observe this precaution at either end of the connection can result in amplifier malfunction or damage. Pins. Many pre-made speaker cables are terminated with metal pins. Loosen the nuts on a pair of binding posts until the holes through the metal posts are exposed, then insert the pins through the holes. Screw the nuts down finger-tight on the pins — do not overtighten. Make sure that there is no metal-to-metal contact between the two pins or binding posts. Failure to observe this precaution at either end of the connection can result in amplifier malfunction or damage. Some speaker cables are terminated with U-shaped connectors called spade lugs. Loosen the nuts on a pair of binding posts and slip the spade lugs around the metal posts. Screw the nuts down finger-tight on the lugs and inspect to ensure they have remained firmly in place. Make sure that there is no metal-to-metal contact between the two lugs or binding posts. Failure to observe this pre- caution at either end of the connection can result in amplifier malfunction or damage.
Other types of specialty connectors are available to facilitate hooking up your speakers. Please consult your authorized klipsch dealer for suggestions and further details.
SPEAKERS TO AMPLIFIER KEEPING IT STRAIGHT
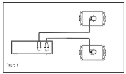
One of the most important things about hooking up your speakers is keeping them in the same polarity, or phase. If they are connected out of phase, bass and sound imaging will be degraded. The easiest way to ensure that your speakers are wired in phase is to always connect the positive and negative output terminals on your amplifier or receiver to the matching input terminals on your speakers: positive (“+”, color-coded red) to positive and negative (“–”, color-coded black) to negative. (See Figure 1.)

OUTDOOR SPEAKERS
You can then connect two all-weather series speakers to the right and left outputs of the

An optional Weatherization and Safety kit is available from your Klipsch dealer. You may want to install this in instances where the speaker connections are directly exposed to the elements. This kit also includes a security cable that provides a secondary measure of safety.
PAINTING
The grille and cabinet of your speakers may be painted. For best results, lightly sand all surfaces to be painted (cabinet and grille) with 300-400 grit sandpaper. Wash these sur- faces with a moistened cloth dipped into a mild detergent to remove any fingerprints or grease. Allow the speaker to dry before painting.
Care must be taken to mask off the front of the speaker to protect the tweeter, woofer, and front panel form overspray. This will maintain the existing uniform dark color behind the grille and protect the woofer and tweeter from being damaged by the paint. Affix masking tape to the inboard wall of the grille groove and attach plastic or newspaper to the tape to cover the entire front panel of the speaker. Also, before painting, mask the speaker wire binding posts on the rear of the cabinet to preserve their color-coding and conductivity.
Make sure that the black and red knobs are screwed down to cover the threaded metal shafts and wrap the knobs securely in masking tape. Remove the grille before painting. For best results, use several light coats of paint instead of one heavy coat. This will help prevent the perforations in the grille from becoming clogged with paint.
Frequently Asked Questions
- Is it possible to get Klipsch outdoor speakers wet?
Outdoor speakers are designed to withstand the severe conditions of the outdoors. We only employ non-water-absorbing materials that can be submerged in water but will not absorb it. This is especially important in the winter to avoid freezing and cracking. - Klipsch outdoor speakers have how many ohms?
The Klipsch AW-650 all-weather loudspeaker provides clean, clear, dynamic sound to the great outdoors with worry-free performance. The AW-650 can take 85 watts of power at 8 ohms on average, with a peak of 340 watts. - Is it necessary to cover outdoor speakers?
Because many outdoor speakers are weather-resistant rather than weatherproof, they will require protection. Is the ground (or the deck) close to your eaves? Underneath the speakers, mount them to shield them from the weather. Just make sure they’re not more than 10 feet above the listening area. - In the event of a power outage, how should you keep your speakers?
Simply maintain the speakers in a temperature-controlled environment to avoid any problems caused by cold weather. Simply secure them in a room with an HVAC system to ensure that they are constantly at ambient temperature. - Is it possible for outdoor speakers to get wet?
Weatherproof speakers are designed to withstand the elements; however, they are only water resistant, not waterproof. Weatherproof speakers should be alright if they are exposed to humidity, steam, rain, or sprinklers. - Is it possible for speakers to be damaged by the cold?
It’s the same as leaving your speakers outside in the weather. If you have an indoor speaker, it is not advisable to keep it outside in the cold. However, the speaker will not be harmed by the cold weather alone. The combination of cold temperatures and moisture (rain or snow) might be fatal to your speakers. - Is it necessary to warm up the speakers?
Setting up your speakers with your system and using them normally is the most basic approach to run them in. After 20-30 hours of normal use, the speakers are usually suitably broken in, and they will often continue to develop and improve over the first hundred hours or so. - When it comes to speakers, how long do they take to warm up?
The speaker relays are normally activated after roughly five seconds. The amplifier is now functional, but is it entirely functional? Although there are various varieties of amplifiers on the market today, most audiophiles prefer Class B, Class A, or Class A/B. - What is the ideal distance between outdoor speakers?
Each speaker should be separated by 10 to 12 feet, with a spacing of roughly 12 feet between the speaker and the center of the area. If you want to get the most out of your outdoor speakers, you’ll need a solid plan to work from. - What is the recommended wattage for a party speaker?
If you’re doing an indoor show, a basic rule of thumb is that you should have at least five watts per person. If you’re playing outside or want “rave volume,” increase the power to 10 watts per person.












![Yamaha Indoor/outdoor Speaker System User Manual [ns-aw350, Ns-aw350w] Yamaha Indoor/outdoor Speaker System User Manual [ns-aw350, Ns-aw350w]](https://static-data1.manualsee.com/1/img/7/54255/2021/01/Yamaha-IndoorOutdoor-Speaker-System-User-Manual-NS-AW350-NS-AW350W-1568x1568.jpg)







