LG STB-6500-UA Smart TV Set Top Box

Important Safety Instruction
- Read these instructions.
- Keep these instructions.
- Heed all warnings.
- Follow all instructions.
- Do not use this apparatus near water.
- Clean only with dry cloth.
- Do not block any ventilation openings. Install in accordance with the manufacturer’s instructions.
- Do not install near any heat sources such as radiators, heat registers, stoves, or other apparatus (including amplifiers) that produce heat.
- Do not defeat the safety purpose of the polarized or grounding-type plug. A polarized plug has two blades with one wider than the other. A grounding type plug has two blades and a third grounding prong. The wide blade or the third prong are provided for your safety. If the provided plug does not fit into your outlet, consult an electrician for replacement of the obsolete outlet.
- Protect the power cord from being walked on or pinched particularly at plugs, convenience receptacles, and the point where they exit from the apparatus.
- Only use attachments/accessories specified by the manufacturer.
- Use only with the cart, stand, tripod, bracket, or table specified by the manufacturer, or sold with the apparatus.
When a cart is used, use caution when moving the cart/apparatus combination to avoid injury from tip-over.
- Unplug this apparatus during lightning storms or when unused for long periods of time.
- Refer all servicing to qualified service personnel. Servicing is required when the apparatus has been damaged in any way, such as power-supply cord or plug is damaged, liquid has been spilled or objects have fallen into the apparatus, the apparatus has been exposed to rain or moisture, does not operate normally, or has been dropped.
Warning! Safety instructions
CAUTION RISK OF ELECTRIC SHOCK DO NOT OPEN 
CAUTION: TO REDUCE THE RISK OF ELECTRIC SHOCK DO NOT REMOVE COVER (OR BACK). NO USER SERVICEABLE PARTS INSIDE. REFER TO QUALIFIED SERVICE PERSONNEL.
The symbol is intended to alert the user to the presence of uninsulated dangerous voltage within the product’s enclosure that may be of sufficient magnitude to constitute a risk of electric shock to persons.
The symbol is intended to alert the user to the presence of important operating and maintenance (servicing) instructions in the literature accompanying the device.
WARNING: TO REDUCE THE RISK OF FIRE AND ELECTRIC SHOCK, DO NOT EXPOSE THIS PRODUCT TO RAIN OR MOISTURE.
- TO PREVENT THE SPREAD OF FIRE, KEEP CANDLES OR OTHER ITEMS WITH OPEN FLAMES AWAY FROM THIS PRODUCT AT ALL TIMES.
- Do not place the Set-top box and/or remote control in the following environments:
– Keep the product away from direct sunlight.
– An area with high humidity such as a bathroom
– Near any heat source such as stoves and other devices that produce heat.
– Near kitchen counters or humidifiers where they can easily be exposed to steam or oil.
– An area exposed to rain or wind.
– Do not expose to dripping or splashing and do not place objects filled with liquids, such as vases, cups, etc. on or over the apparatus (e.g., on shelves above the unit).
– Near flammable objects such as gasoline or candles, or expose the Set-top box to direct air conditioning.
– Do not install in excessively dusty places. Otherwise, this may result in fire, electric shock, combustion/ explosion, malfunction or product deformation. - Ventilation
– Install your Set-top box where there is proper ventilation. Do not install in a confined space such as a bookcase.
– Do not install the product on a carpet or cushion.
– Do not block or cover the product with cloth or other materials while unit is plugged in. - Take care not to touch the ventilation openings. When watching the Set-top box for a long period, the ventilation openings may become hot.
- Protect the power cord from physical or mechanical abuse, such as being twisted, kinked, pinched, closed in a door, or walked upon. Pay particular attention to plugs, wall outlets, and the point where the cord exits the device.
- Do not move the Set-top box while the Power cord is plugged in.
- Do not use a damaged or loosely fitting power cord.
- Be sure to grasp the plug when unplugging the power cord. Do not pull on the power cord to unplug the Set-top box.
- Do not connect too many devices to the same AC power outlet as this could result in fire or electric shock.
- Disconnecting the Device from the Main Power
– The power plug is the disconnecting device. In case of an emergency, the power plug must remain readily accessible. - Do not let your children climb or cling onto the Settop box. Otherwise, the Set-top box may fall over, which may cause serious injury.
- Outdoor Antenna Grounding (Can differ by country):
– If an outdoor antenna is installed, follow the precautions below. An outdoor antenna system should not be located in the vicinity of overhead power lines or other electric light or power circuits, or where it can come in contact with such power lines or circuits as death or serious injury can occur. Be sure the antenna system is grounded to provide some protection against voltage surges and built-up static charges Section 810 of the National Electrical Code (NEC) in the U.S.A. provides information with respect to proper grounding of the mast and supporting structure, grounding of the lead-in wire to an antenna discharge unit, size of grounding conductors, location of antenna discharge unit, connection to grounding electrodes and requirements for the grounding electrode. Antenna grounding according to the National Electrical Code, ANSI/ NFPA 70 - Grounding (Except for devices which are not grounded.)
– Set-top box with a three-prong grounded AC plug must be connected to a three-prong grounded AC outlet. Ensure that you connect the earth ground wire to prevent possible electric shock. - Never touch this apparatus or antenna during a lightning storm. You may be electrocuted.
- Make sure the power cord is connected securely to the Set-top box and wall socket if not secured damage to the Plug and socket may occur and in extreme cases a fire may break out.
- Do not insert metallic or inflammable objects into the product. If a foreign object is dropped into the product, unplug the power cord and contact the customer service.
- Do not touch the end of the power cord while it is plugged in. You may be electrocuted.
- If any of the following occur, unplug the product immediately and contact your local customer service.
– The product has been damaged.
– If water or another substance enters the product (like an AC adapter, power cord, or Set-top box).
– If you smell smoke or other odors coming from the Set-top box.
– When lightning storms or when unused for long periods of time. Even the Set-top box is turned off by remote control or button, AC power source is connected to the unit if not unplugged in. - Do not use high voltage electrical equipment near the Set-top box (e.g., a bug zapper). This may result in product malfunction.
- Do not attempt to modify this product in any way without written authorization from LG Electronics. Accidental fire or electric shock can occur. Contact your local customer service for service or repair. Unauthorized modification could void the user’s authority to operate this product.
- Use only an authorized attachments / accessories approved by LG Electronics. Otherwise, this may result in fire, electric shock, malfunction, or product damage.
- Never disassemble the AC adapter or power cord. This may result in fire or electric shock.
- Handle the adapter carefully to avoid dropping or striking it. An impact could damage the adapter.
- To reduce the risk of fire or electrical shock, do not touch the Set-top box with wet hands. If the power cord prongs are wet or covered with dust, dry the power plug completely or wipe dust off.
- Batteries
– Store the accessories (battery, etc.) in a safe location out of the reach of children.
– Do not short circuit, disassemble, or allow the batteries to overheat. Do not dispose of batteries in a fire. Batteries should not be exposed to excessive heat. - Moving
– When moving, make sure the product is turned off, unplugged, and all cables have been removed.
It may take 2 or more people to carry larger Settop boxs. Do not press or put stress on the front panel of the Set-top box. Otherwise, this may result in product damage, fire hazard or injury. - Keep the packing anti-moisture material or vinyl packing out of the reach of children.
- Do not allow an impact shock, any objects to fall into the product, and do not drop anything onto the screen.
- Do not press strongly upon the panel with a hand or a sharp object such as a nail, pencil, or pen, or make a scratch on it. It may cause damage to screen.
- Cleaning
– When cleaning, unplug the power cord and wipe gently with a soft/dry cloth. Do not spray water or other liquids directly on the Set-top box. Do notclean your Set-top box with chemicals including glass cleaner, any type of air freshener, insecticide, lubricants, wax (car, industrial), abrasive, thinner, benzene, alcohol etc., which can damage the product and/or its panel. Otherwise, this may result in electric shock or product damage.
ASSEMBLING AND PREPARING
Unpacking
Check your product box for the following items. If there are any missing accessories, contact the local dealer where you purchased your product. The illustrations in this manual may differ from the actual product and item.


Do not use any unapproved items to ensure the safety and product’s lifespan.- Any damages or injuries by using unapproved items are not covered by the warranty.
- The items supplied with your product may vary depending upon the model.
- Product specifications or contents of this manual may be changed without prior notice due to upgrade of product functions.
- For an optimal connection, HDMI cables and USB devices should have bezels less than 10 mm (0.39 inches) thick and 18 mm (0.7 inches) width.
- When connecting two USB devices at the same time, each one should have bezels less than 8.5 mm (0.33 inches) thick.
- Use an extension cable that supports USB 2.0 if the USB cable or USB flash drive does not fit into your TV’s USB port.
- Use a certified cable with the HDMI logo attached. If you do not use a certified HDMI cable, the screen may not display or a connection error may occur.
- Recommended HDMI cable types (3 m (9.84 ft) or less)
– High Speed HDMI®/™ cable
– High Speed HDMI®/™ cable with Ethernet - Do not use any unapproved items to ensure the safety and lifespan of the product.
- Any damages or injuries by using unapproved items are not covered by the warranty.
- When connecting via a wired LAN, it is recommended to use a CAT 7 cable.

Parts and Components
Front Panel
Back Panel
How to use rubber pads (optional)
(Image shown may differ from your product.)
Attach the rubber pads to the Set-Top Box and use it when you want to.
- Attach the rubber pads to the bottom of the product as shown in the image.
- Press firmly the whole part of rubber pads to ensure firm fastening.

- Doing so can prevent the product from sliding.
- If Set-Top Box is not a perfect fit on the rear side of your TV, please place and use it on a flat surface.
- Please do not attach rubber pads with excessive force.
- Please make sure no foreign substances exist on the surface of the product, and then firmly attach the rubber pads.
How to Use Dual Lock™ (Optional)
(Image shown may differ from your product.)
Attach the Set-Top Box to the TV and use it when you want to.
- Attach the mated pairs of Dual Lock™ strips together. Press firmly on the attached strip to ensure the Dual Lock™ strip is firmly joined together.
- Remove the protection paper from the adhesive side of the Dual Lock™ strip and attach to the back of the set top box as shown

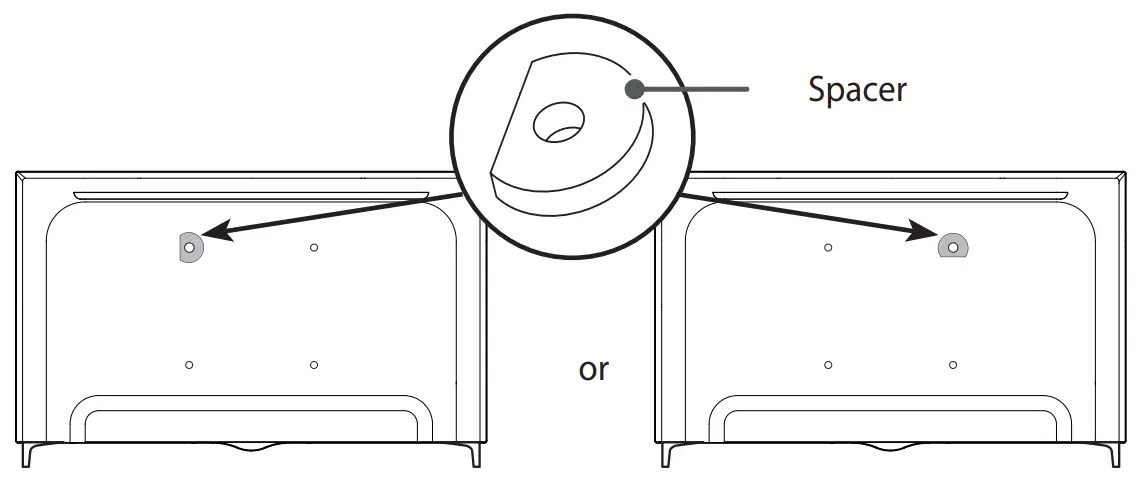
- After removing the protection paper from the spacer, stick it to a VESA screw hole on the back of the TV. (However, you can choose the location to attach the spacer randomly by considering the shape of the rear side of the TV and the attachment location of the Set-Top Box.)

- After removing the protection paper from the Dual Lock™, stick Set-Top Box to the TV. Insert and tighten the screw on the hole with the spacer attached. (When tightening the screws, be sure not to over tighten them to avoid deformation of the spacer.)

- Do not mount by Dual lock™ only without screw.
- If Set-Top Box is not a perfect fit on the rear side of your TV, please place and use it on a flat surface.
- Do not tighten the screw with excessive force.
- Be sure the product surface is clean, and then firmly attach the Dual Lock™.
- Before attaching the Set-Top Box to the TV, let the attached Dual Lock™ dry for at least three days.
Optional Extras
Optional extras can be changed or modified for quality improvement without any notification. Contact your dealer for buying these items. These devices work only with certain models. The model name or design may be changed
due to the manufacturer’s circumstances or policies. (Depending upon model)
AN-MR18HA Magic Remote
MAKING CONNECTIONS
(Image shown may differ from your product.)
You can connect various external devices to the product. Supported external devices are: HD receivers, DVD players,
VCRs, audio systems, USB storage devices, PC, gaming devices, and other external devices. For more information on external device’s connection, refer to the manual provided with each device.
- The external device connections shown may differ slightly from illustrations in this manual.
- Connect external devices to the Set-Top Box regardless about the order of the Set-Top Box port.
- If you connect a gaming device to the Set-Top Box, use the cable supplied with the gaming device.
- Refer to the external equipment’s manual for operating instructions.
- Using a DVI to HDMI cable may cause compatibility issues.
- Some USB Hubs may not work. If a USB device connected through a USB Hub is not detected, connect it directly to the USB port on the TV.
- It is recommended that you use a USB hub or USB HDD with a power supply. (If the power supplied is not sufficient, the USB storage device may not be detected properly.)
- It is recommended that you use an external USB HDD with a rated voltage of 5 V of less and a rated current of 500 mA or less.
Connecting an Antenna or Cable
Connect an antenna, cable, or cable box to watch TV. The illustrations may differ from the actual items and an RF cable is optional.
Make sure not to bend the copper wire of the RF cable.
- Complete all connections between devices, and then connect the power cord to the power outlet to
prevent damage to your Set-Top Box. - Use a signal splitter to use 2 Set-Top Boxes or more.
- DTV Audio Supported Codec: MPEG, Dolby Digital
Other Connections
(Image shown may differ from your product.)
Connect your Set-Top Box to external devices. For the best picture and audio quality, connect digital devices using an HDMI cable.
A separate cable is not provided.

- Audio Line Out Jack should be connected with SE (Single Ended) mode 3 pin type audio cable. Use only with the 3 Pole 3.5 mm (0.1 inches) Stereo Jack.
LICENSES
Supported licenses may differ by model. For more information about licenses, visit www.lg.com.
Manufactured under license from Dolby Laboratories. Dolby, Dolby Vision, Dolby Audio, Dolby Atmos, and the double-D symbol are trademarks of Dolby Laboratories.
The terms HDMI, HDMI High-Definition Multimedia Interface, and the HDMI Logo are trademarks or registered trademarks of HDMI Licensing Administrator, Inc.
Open Source Software Notice Information
To obtain the source code under GPL, LGPL, MPL, and other open source licenses, that is contained in this product, please visit http://opensource.lge.com. In addition to the source code, all referred license terms, warranty disclaimers and copyright notices are available for download.
LG Electronics will also provide open source code to you on CD-ROM for a charge covering the cost of performing such distribution (such as the cost of media, shipping, and handling) upon email request to [email protected].
This offer is valid for a period of three years after our last shipment of this product. This offer is valid to anyone in receipt of this information.
MAINTENANCE
Cleaning Your Set-Top Box
Clean your Set-Top Box regularly to keep it at peak performance and to extend the product’s lifespan.
To remove dust or light dirt, wipe the surface with a dry, clean, and soft cloth.
To remove major dirt, wipe the surface with a soft cloth dampened in clean water or a diluted mild detergent. Then wipe immediately with a dry cloth.
Remove the accumulated dust or dirt on the AC/DC adapter regularly.
Before cleaning, turn the power off and disconnect the power cord and all other cables.- When the Set-Top Box is left unattended or unused for a long time, disconnect the AC/DC adapter from the wall outlet to prevent possible damage from lightning or power surges.
- Do not push, rub, or hit the surface with your fingernail or a sharp object, as this may result in scratches on the product cover.
- Do not use any chemicals, such as waxes, benzene, alcohol, thinners, insecticides, air fresheners, or lubricants, as these may damage the product’s finish and cause discoloration.
- Do not spray liquid onto the surface. If water enters the Set-Top Box, it may result in fire, electric shock, or malfunction.
TROUBLESHOOTING
The software may be updated for improvement in performance. The customer is responsible to ensure the compatibility of their equipment with any LG Electronics software. If needed, please consult LG Electronics and update new software versions according to the guidance provided by LG Electronics.
| Problem | Solution |
| Cannot control the Set-Top Box with the remote control. |
|
| Set-Top Box does not output any video or audio. |
|
| Set-Top Box turns off suddenly. |
|
| When connecting to the PC (HDMI/ DVI), No signal or Invalid Format is displayed. |
|
SPECIFICATIONS
Product specifications may be changed without prior notice due to upgrade of product functions.
| Television System | ATSC, NTSC-M, 64 & 256 QAM | |
| Program Coverage | VHF 2-13, UHF 14-69, DTV 2-69, CATV 1-135, CADTV 1-135 | |
| External Antenna Impedance | 75 Ω | |
| Environment condition | Operating Temperature | 0 °C to 40 °C (32 °F to 104 °F) |
| Operating Humidity | Less than 80 % | |
| Storage Temperature | -20 °C to 60 °C (-4 °F to 140 °F) | |
| Storage Humidity | Less than 85 % | |
| MODELS | STB-6500-UA, STB-6500-UB |
| Dimensions (W x H x D) | 233 x 29.8 x 180.5 (mm) |
| 9.1 x 1.1 x 7.1 (inches) | |
| Weight | 0.72 kg (1.5 lbs) |
| Power requirement | 19 V ⎓ 2.7 A |
| AC/DC Adapter | Manufacturer: APD / Model: DA-65F19 Manufacturer: CHICONY ELECTRONICS CO., LTD / Model: A16-065N4A Manufacturer : Lien Chang / Model : LCAP40 |
| In: AC 100-240 V ~ 50 / 60 Hz Out: DC 19 V ⎓ 3.42 A |
| Wireless Module (LGSBWAC92) Specifications | |
| Wireless LAN (IEEE 802.11a/b/g/n/ac) | |
| Frequency Range | Output Power (Max.) |
| 2400 to 2483.5 MHz 5150 to 5725 MHz 5725 to 5850 MHz | 18 dBm 18 dBm 18 dBm |
| Bluetooth | |
| Frequency Range | Output Power (Max.) |
| 2400 to 2483.5 MHz | 8 dBm |
| |
HDMI-DTV supported mode
| Resolution | Horizontal Frequency (kHz) | Vertical Frequency (Hz) |
| 640 x 480p | 31.46 31.5 | 59.94 60 |
| 720 x 480p | 31.46 31.5 | 59.94 60 |
| 720 x 576p | 31.25 | 50 |
| 1280 x 720p | 44.95 45 37.5 | 59.94 60 50 |
| 1920 x 1080i | 28.12 33.71 33.75 | 50 59.94 60 |
| 1920 x 1080p | 26.97 27 33.71 33.75 56.25 67.43 67.5 | 23.97 24 29.97 30 50 59.94 60 |
| 1920 x 1080p | 112.5 134.86 135 | 100 119.88 120 |
| 3840 x 2160p | 53.94 54 56.25 67.43 67.5 112.5 134.86 135 | 23.97 24 25 29.97 30 50 59.94 60 |
| 4096 x 2160p | 53.94 54 56.25 67.43 67.5 112.5 134.86 135 | 23.97 24 25 29.97 30 50 59.94 60 |
HDMI-PC supported Mode
- PC audio is not supported.
- Use HDMI IN 1 for PC mode. (Depending on model)
| Resolution | Horizontal Frequency (kHz) | Vertical Frequency (Hz) |
| 640 x 350 | 31.46 | 70.09 |
| 720 x 400 | 31.46 | 70.08 |
| 640 x 480 | 31.46 | 59.94 |
| 800 x 600 | 37.87 | 60.31 |
| 1024 x 768 | 48.36 | 60 |
| 1360 x 768 | 47.71 | 60.01 |
| 1152 x 864 | 54.34 | 60.05 |
| 1280 x 1024 | 63.98 | 60.02 |
| 1920 x 1080 | 67.5 134.86 135 | 60 119.88 120 |
| 2560 x 1440 | 88.78 | 59.95 |
| 3840 x 2160 | 53.94 54 56.25 67.43 67.5 112.5 134.86 135 | 23.97 24 25 29.97 30 50 59.94 60 |
| 4096 x 2160 | 53.94 54 56.25 67.43 67.5 112.5 134.86 135 | 23.97 24 25 29.97 30 50 59.94 60 |
Supported Photo Formats
| File Format | Format | Resolution |
| .jpeg, | JPEG | Minimum: 64 (W) x 64 (H) Maximum (Normal Type): 15360 (W) x 8640 (H) Maximum (Progressive Type): 1920 (W) x 1440 (H) |
| .png | PNG | Minimum: 64 (W) x 64 (H) Maximum: 5760 (W) x 5760 (H) |
| .bmp | BMP | Minimum: 64 (W) x 64 (H) Maximum: 1920 (W) x 1080 (H) |
Supported Audio Formats
| File Format | Item | Info |
| .mp3 | Bit rate | 32 kbps – 320 kbps |
| Sample freq. | 16 kHz – 48 kHz | |
| Support | MPEG1, MPEG2 | |
| Channels | mono, stereo | |
| .wav | Bit rate | – |
| Sample freq. | 8 kHz – 96 kHz | |
| Support | PCM | |
| Channels | mono, stereo | |
| .ogg | Bit rate | 64 kbps – 320 kbps |
| Sample freq. | 8 kHz – 48 kHz | |
| Support | Vorbis | |
| Channels | mono, stereo | |
| .wma | Bit rate | 128 kbps – 320 kbps |
| Sample freq. | 8 kHz – 48 kHz | |
| Support | WMA | |
| Channels | up to 6 ch | |
| .flac | Bit rate | – |
| Sample freq. | 8 kHz – 96 kHz | |
| Support | FLAC | |
| Channels | mono, stereo |
The number of supported program may vary depending on the sample frequency.
Supported Video Formats
| Extension | Codec | |
| .asf .wmv | Video | VC-1 Advanced Profile (except for WMVA), VC-1 Simple and Main Profiles |
| Audio | WMA Standard (except for WMA v1/ WMA Speech) | |
| .avi | Video | X vid (GMC is not supported), H.264/AVC, Motion Jpeg, MPEG-4 |
| Audio | MPEG-1 Layer I, II, MPEG-1 Layer III (MP3), Dolby Digital, LPCM, ADPCM | |
| .mp4 .m4v .mov | Video | H.264/AVC, MPEG-4, HEVC, AV1 |
| Audio | Dolby Digital, Dolby Digital Plus, AAC, MPEG-1 Layer III (MP3), Dolby AC-4 | |
| .3gp .3g2 | Video | H.264/AVC, MPEG-4 |
| Audio | AAC, AMR-NB, AMR-WB | |
| .mkv | Video | MPEG-2, MPEG-4, H.264/AVC, VP8, VP9, HEVC, AV1 |
| Audio | Dolby Digital, Dolby Digital Plus, AAC, PCM, MPEG-1 Layer I, II, MPEG-1 Layer III (MP3) | |
| .ts .trp .tp .mts | Video | H.264/AVC, MPEG-2, HEVC |
| Audio | MPEG-1 Layer I, II, MPEG-1 Layer III (MP3), Dolby Digital, Dolby Digital Plus, AAC, PCM, Dolby AC-4 | |
| .mpg .mpeg .dat | Video | MPEG-1, MPEG-2 |
| Audio | MPEG-1 Layer I, II, MPEG-1 Layer III (MP3) | |
| .vob | Video | MPEG-1, MPEG-2 |
| Audio | Dolby Digital, MPEG-1 Layer I, II, DVD-LPCM | |
Cautions for Video Playback
- ULTRA HD Video: 3840 x 2160, 4096 x 2160
- Some HEVC encoded ULTRA HD videos other than the content officially provided by LG Electronics may not be played.
- Some codecs can be supported after a software upgrade.
| Extension | Codec | |
| .mkv .mp4 .ts | Video | H.264/AVC, HEVC |
| Audio | Dolby Digital, Dolby Digital Plus, AAC | |
Supported External Subtitles
| Subtitle | Format |
| External Subtitle | *.smi, *.srt, *.sub (Micro DVD, Sub Viewer 1.0/2.0), *.ass, *.ssa, *.txt (TM Player), *.psb (Power DivX), *.dcs (DLP Cinema) |
| Embedded Subtitle | Matroska(mkv): Sub Station Alpha (SSA), Advanced Sub Station Alpha (ASS), SRT MP4: Timed Text |
To use HDMI Ultra HD Deep Color
[Picture] [HDMI Ultra HD Deep Color]
– On: Support 4K @ 60 Hz (4:4:4, 4:2:2, 4:2:0)
– Off: Support 4K @ 60 Hz 8 bit (4:2:0)
If the device connected to Input Port also supports ULTRA HD Deep Color, your picture may be clearer.
However, if the device doesn’t support it, it may not work properly. In that case, change the TV’s [HDMI Ultra HD Deep Color] setting to off.
– This feature is available only on certain models which support HDMI Ultra HD Deep Color.
Regulatory
FCC Notice
(For USA)
This equipment has been tested and found to comply with the limits for a Class B digital device, pursuant to Part 15 of the FCC Rules. These limits are designed to provide reasonable protection against harmful interference in a residential installation. This equipment generates, uses, and can radiate radio frequency energy and, if not installed and used in accordance with the instructions, may cause harmful interference to radio communications. However, there is no guarantee that interference will not occur in a particular installation. If this equipment does cause harmful interference to radio or television reception, which can be determined by turning the equipment off and on, the user is encouraged to try to correct the interference by one or more of the following measures:
– Reorient or relocate the receiving antenna.
– Increase the separation between the equipment and the receiver.
– Connect the equipment to an outlet on a circuit different from that to which the receiver is connected.
– Consult the dealer or an experienced radio/TV technician for help.
This device complies with part 15 of the FCC Rules. Operation is subject to the following two conditions: (1) this device may not cause harmful interference and (2) this device must accept any interference received, including interference that may cause undesired operation. Any changes or modifications in construction of this device which are not expressly approved by the party responsible for compliance could void the user’s authority to operate the equipment.
FCC Radio Frequency Interference Requirements (for UNII devices)
(For USA)
High power radars are allocated as primary users of the 5.25 to 5.35 GHz and 5.65 to 5.85 GHz bands.
These radar stations can cause interference with and/ or damage this device. This device cannot be collocated with any other transmitter.
FCC RF Radiation Exposure Statement
(For USA)
[For having wireless function (WLAN, Bluetooth,…)] This equipment complies with FCC radiation exposure limits set forth for an uncontrolled environment. This transmitter must not be co-located or operating in conjunction with any other antenna or transmitter. This equipment should be installed and operated with minimum distance 20 cm (7.8 inches) between the antenna and your body. Users must follow the specific operating instructions for satisfying RF exposure compliance.
Industry Canada Statement
(For Canada)
[For having wireless function (WLAN, Bluetooth,…)] This device contains licence-exempt transmitter(s)/ receiver(s) that comply with Innovation, Science and Economic Development Canada’s licence-exempt RSS(s). Operation is subject to the following two conditions:
- This device may not cause interference.
- This device must accept any interference, including interference that may cause undesired operation of the device.
IC Radiation Exposure Statement
(For Canada)
[For having wireless function (WLAN, Bluetooth,…)] This equipment complies with IC radiation exposure limits set forth for an uncontrolled environment. This equipment should be installed and operated with minimum distance 20 cm (7.8 inches) between the antenna & your body.
NOTE: THE MANUFACTURER IS NOT RESPONSIBLE FOR ANY RADIO OR TV INTERFERENCE CAUSED BY UNAUTHORIZED MODIFICATIONS TO THIS EQUIPMENT. SUCH MODIFICATIONS COULD VOID THE USER’S AUTHORITY TO OPERATE THE EQUIPMENT.
RSS-247 Requirement
(For Canada)
[For product having the wireless function using 5 GHz frequency bands]
- The device for operation in the band 5150–5250 MHz is only for indoor use to reduce the potential for harmful interference to co-channel mobile satellite systems;
- For devices with detachable antenna(s), the maximum antenna gain permitted for devices in the bands 5250-5350 MHz and 5470-5725 MHz shall be such that the equipment still complies with the e.i.r.p. limit;
- For devices with detachable antenna(s), the maximum antenna gain permitted for devices in the band 5725-5850 MHz shall be such that the equipment still complies with the e.i.r.p. limits as appropriate; and
- [For devices operating in the band 5250-5350 MHz having an e.i.r.p. greater than 200 mW] Antenna type(s), antenna models(s), and worst-case tilt angle(s) necessary to remain compliant with the e.i.r.p. elevation mask requirement set forth in section 6.2.2.3 of RSS-247 shall be clearly indicated.
Users should also be advised that high-power radars are allocated as primary users (i.e. priority users) of the bands 5250-5350 MHz and 5650-5850 MHz and that these radars could cause interference and/or damage to LE-LAN devices.
NOTE TO CABLE/TV INSTALLER
(For USA and Canada)
This reminder is provided to call the CATV system installer’s attention to Article 820-40 of the National Electric Code (U.S.A.). The code provides guidelines for proper grounding and, in particular, specifies that the cable ground shall be connected to the grounding system of the building, as close to the point of the cable entry as practical.
Symbols
∼ | Refers to alternating current (AC). |
⎓ | Refers to direct current (DC). |
![]() | Refers to class II equipment. |
![]() | Refers to stand-by. |
| Refers to “ON” (power). | |
![]() | Refers to dangerous voltage. |
LG Take-back & Recycling Policy
(For USA)
LG Electronics offers a customized e-waste takeback & recycling service that meets local needs and requirements in the countries where e-waste regulations are in place, and also provides product take-back & recycling service voluntarily in some regions. LG Electronics evaluates products’ recyclability at the design step selectively, with the goal of improving recyclability where practicable. Through these activities, LG Electronics seeks to contribute to conserving natural resources and protecting the environment. For more information, please visit our global site at https://www.lg.com/recycling
Customer Support
Supplier’s Declaration of Conformity
Trade Name LG
Responsible Party LG Electronics USA, Inc.
Address 111 Sylvan Avenue, North Building,
Englewood Cliffs, NJ 07632
E-mail [email protected]
LG Customer Information Center
For inquires or comments, visit www.lg.com or call;
1-888-865-3026 USA, Commercial User
1-855-286-2456 CANADA
The model and serial number of the product are located on the back and on one side of the product. Record them below in case you ever need service.
This product qualifies for ENERGY STAR® in the factory default (Home configuration) setting. Changing the factory default settings or enabling other features may increase power consumption that could exceed the limits necessary to quality for ENERGY STAR®. Refer to ENERGYSTAR.gov for more information on the ENERGY STAR® program.






























