JOYROOM JR-FC1 Classic Series Smart Watch User Manual
Assembling/disassembling watch band & wearing the watch
- To assemble/ disassemble the watch band, please refer to the figure below:

- To wear the watch properly, please refer to the figure below:

Note: When wearing the watch, please keep it in comfortable contact with wrist skin (in proper tightness). Do not wear it on the wrist joint.
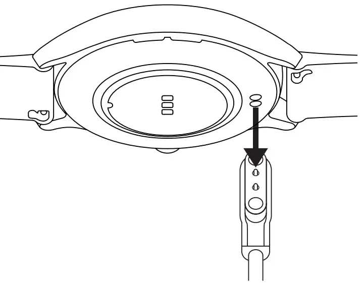
Charging & turning on the watch
- Charging the watch: Align the magnetic charging cable with the metal contact of the watch, connect the other end to the charger and connect power until the screen displays charging capacity.

- Turning on the watch: press and hold the power button for 3s.

Note:
When the watch indicates low battery, please charge it in time. It is recommended to use a charger with a rated output of SV/1A or a computer USB port together with the included cable to charge it
Downloading APP and pairing the watch
- Scan the QR code below or the QR code on the watch with your mobile phone to download the SMART-TIME PRO APP, register an account and log in.
Note: The phone system is required to be Android 6.0 or iOS 11.0 or above.
App Store: SMART-TIME PRO
Google Play: SMART-TIME PRO


- Open the APP, select Home “Device4Bind device-‘select “JP FOThclick Connect-)click V on your watch”.

IOS SYSTEM
(2) Android system When connecting for the first time, Android users need to click “To bind” in the “Call service pairing option” in the BT pairing prompt interface, and then complete BT 5.0+3.0 pairing according to the operation prompts.
- After binding successfully, you can start to use all the functions of the watch, and the data generated by it can also be saved to the APP synchronously. 4 If you need to unbind the watch, please open the APP, and select “Device-‘ Unbind”
Notes:
Please keep the phone’s BT function on during use, otherwise the messages on the phone cannot be synchronized to the watch;
Select “Device )Message reminder -)Enable related APP permissions” on the APP, then relevant messages will be synchronized to the watch, such as call reminders and message reminders.
WARNING: Please refer the information on exterior bottom enclosure for electrical and safety information before installing or operating the apparatus.
WARNING: The battery (battery or batteries or battery pack) shall not be exposed to excessive heat such as sunshine, fire or the like.
1. Button operation
Short press the power button:
When the screen is locked, short press the power button to unlock it.
When on Home page, short press the power button to enter the function list.
When on other pages, short press the power button to return to Home page.
® When on Sports page, short press the power button to pause or end sports.
Double-click the power button: Double-click the power button on function list page to switch dial style.
Long press the power button:: Turn on/off the watch.
FUNCTION INSTRUCTION
SWIPE LEFT/RIGHT OR UP/DOWN TO NAVIGATE THE WATCH.































