BOSE DesignMax DM5C In Ceiling Loudspeaker Installation Guide
Important Safety Instructions
Please read and keep all safety and use instructions.
This product is intended for installation by professional installers only! This document is intended to provide professional installers with basic installation and safety guidelines for this product in typical fixed-installation systems. Please read this document and all safety warnings before attempting installation.
Do not attempt to service this product yourself. Refer all servicing to authorized service centers, installers, technicians, dealers or distributors. To contact Bose Professional or to find a dealer or distributor near you, visit PRO.BOSE.COM.
- Read these instructions.
- Keep these instructions.
- Heed all warnings.
- Follow all instructions.
- Do not use this apparatus near water.
- Clean only with a dry cloth.
- Do not block any ventilation openings. Install in accordance with the manufacturer’s instructions.
- Do not install near any heat sources such as radiators, heat registers, stoves, or other apparatus (including amplifiers) that produces heat.
- Only use attachments/accessories specified by the manufacturer.
WARNINGS/CAUTIONS
This product contains magnetic material. Consult your physician on whether this might affect your implantable medical device.
- All Bose products must be installed in accordance with local, state, federal and industry regulations. It is the installer’s responsibility to ensure installation of the loudspeakers and mounting system is performed in accordance with all applicable codes, including local building codes and regulations. Consult the local authority having jurisdiction before installing this product.
- Unsafe mounting or overhead suspension of any heavy load can result in serious injury or death, and property damage. It is the installer’s responsibility to evaluate the reliability of any mounting method used for their application. Only professional installers with the knowledge of proper hardware and safe mounting techniques should attempt to install any loudspeaker overhead.
- Do not mount the product in locations where it may be exposed to water or condensation.
- This product is not intended for installation or use in indoor water facility areas (including, without limitation, indoor pools, indoor water parks, hot tub rooms, saunas, steam rooms and indoor skating rinks).
- Do not mount on surfaces that are not sturdy, or that have hazards concealed behind them, such as electrical wiring or plumbing. If you are not sure about installing the bracket, contact a qualified professional installer. Ensure the bracket is installed according to local building codes.
- Use only the hardware and accessories included or specified by Bose for use with Design Max DM5C loudspeakers. For information on compatible accessories, see the product’s technical data sheet at PRO.BOSE.COM.
- Keep the product away from fire and heat sources. Do not place naked flame sources, such as lighted candles, on or near the product.
- Do not make unauthorized alterations to this product.
- Do not expose loudspeaker or mounting components to any chemical substances that are not specified by Bose, including but not limited to lubricants, cleaning agents, contact sprays, or other hydrocarbon-based solvents. Exposure to such substances can lead to degradation of the plastic material, resulting in cracking and creating a falling hazard.
- Clean speakers using only a dry cloth. Do not expose loudspeaker to soap, detergent, mineral oil, alcohol or other cleaning agents or chemicals.
- The grille is equipped with a safety lanyard pin designed for a single use.
Product Ratings:
- Input Voltage: 70V/100V
- Impedance: 8 Ω, 50 W
- Current or Power: (70V): 3W, 6W, 12W, 25W, 50W; (100V): 6W, 12W, 25W, 50W
Regulatory Information
This product conforms to all applicable EU directive requirements. The complete declaration of conformity can be found at: www.Bose.com/compliance.
This symbol means the product must not be discarded as household waste, and should be delivered to an appropriate collection facility for recycling. Proper disposal and recycling helps protect natural resources, human health and the environment. For more information on disposal and recycling of this product, contact your local municipality, disposal service, or the shop where you bought this product.
China Restriction of Hazardous Substances Table
| Names and Contents of Toxic or Hazardous Substances or Elements | ||||||
| Toxic or Hazardous Substances and Elements | ||||||
| Part Name | Lead (Pb) | Mercury (Hg) | Cadmium (Cd) | Hexavalent (CR(VI)) | Polybrominated Biphenyl (PBB) | Polybrominated diphenylether (PBDE) |
| PCBs | X | O | O | O | O | O |
| Metal Parts | X | O | O | O | O | O |
| Plastic Parts | O | O | O | O | O | O |
| Speakers | X | O | O | O | O | O |
| Cables | X | O | O | O | O | O |
| This table is prepared in accordance with the provisions of SJ/T 11364. O: Indicates that this toxic or hazardous substance contained in all of the homogeneous materials for this part is below the limit requirement of GB/T 26572. | ![]() | |||||
| X: Indicates that this toxic or hazardous substance contained in at least one of the homogeneous materials used for this part is above the limit requirement of GB/T 26572. | ||||||
Taiwan Restriction of Hazardous Substances Table
| Equipment name: Design Max DM5C, Type designation: 829683 | ||||||
| Restricted substances and its chemical symbols | ||||||
| Unit | Lead (Pb) | Mercury (Hg) | Cadmium (Cd) | Hexavalent chromium (Cr+6) | Polybrominated biphenyls (PBB) | Polybrominated diphenyl ethers (PBDE) |
| PCBs | – | ○ | ○ | ○ | ○ | ○ |
| Metal Parts | – | ○ | ○ | ○ | ○ | ○ |
| Plastic Parts | ○ | ○ | ○ | ○ | ○ | ○ |
| Speakers | – | ○ | ○ | ○ | ○ | ○ |
| Cables | – | ○ | ○ | ○ | ○ | ○ |
| Note 1: “○” indicates that the percentage content of the restricted substance does not exceed the percentage of reference value of presence. Note 2: The “−” indicates that the restricted substance corresponds to the exemption. | ||||||
Date of Manufacture: The eighth digit in the serial number indicates the year of manufacture; “7” is 2007 or 2017.
China Importer: Bose Electronics (Shanghai) Company Limited, Part C, Plant 9, No. 353 North Riying Road, China (Shanghai) Pilot Free Trade Zone
EU Importer: Bose Products B.V., Gorslaan 60, 1441 RG Purmerend, The Netherlands
Mexico Importer: Bose de México, S. de R.L. de C.V. , Paseo de las Palmas 405-204, Lomas de Chapultepec, 11000 México, D.F. For importer & service information: +5255 (5202) 3545
Taiwan Importer: Bose Taiwan Branch, 9F-A1, No. 10, Section 3, Minsheng East Road, Taipei City 104, Taiwan. Phone Number: +886-2-2514 7676
Bose and Design Max are trademarks of Bose Corporation.
Bose Corporation Headquarters: 1-877-230-5639
©2019 Bose Corporation. No part of this work may be reproduced, modified, distributed or otherwise used without prior written permission.
Warranty Information
This product is covered by a limited warranty.
For warranty details, visit PRO.BOSE.COM.
Package Contents

Product Dimensions

Technical Specifications
For additional specifications, see the Design Max DM5C technical data sheet at PRO.BOSE.COM.
| Physical | |
| Product Dimensions | Grille diameter: 304 mm (12.0 in) |
| Enclosure diameter: 244 mm (9.6 in) | |
| Backcan depth: 192 mm (7.6 in) | |
| Hole cutout | 250 mm (9.8 in) |
| Maximum Ceiling Thickness | 48 mm (1.9 in) |
| Net Weight, Loudspeaker with grille (single) | 4.45 kg (9.6 lb) |
| Net Weight, Tile Bridge (single) | 0.86 kg (1.9 lb) |
| Shipping Weight (pair) | 13.15 kg (29.0 lb) |
Important Installation Information
This product is intended for indoor use only.
It is the installer’s responsibility to ensure installation of the loudspeakers and mounting system is performed in accordance with all applicable codes, including local building codes and regulations. Consult the local authority having jurisdiction before installing this product.
It is the responsibility of the installer to ensure the safety of the loudspeaker installation. Failure to properly install the loudspeaker could result in damage, injury, or death.
Do not mount the product in locations where it may be exposed to water or condensation.
This product is not intended for installation or use in indoor water facility areas (including, without limitation, indoor pools, indoor water parks, hot tub rooms, saunas, steam rooms and indoor skating rinks).
Do not block any ventilation openings. Install in accordance with the manufacturer’s instructions.
Do not install near any heat sources such as radiators, heat registers, stoves, or other apparatus (including amplifiers) that produces heat.
Do not mount on surfaces that are not sturdy, or that have hazards concealed behind them, such as electrical wiring or plumbing. If you are not sure about installing the bracket, contact a qualified professional installer. Ensure the bracket is installed according to local building codes.
Do not expose loudspeaker or mounting components to any chemical substances that are not specified by Bose, including but not limited to lubricants, cleaning agents, contact sprays, or other hydrocarbon based solvents. Exposure to such substances can lead to degradation of the plastic material, resulting in cracking and creating a falling hazard.
Installation Options
Installation Options and Accessories
- Adjustable Tile Bridge (included)
- Rough-in Pan (optional)

Conduit Fitting
If using a flexible metal conduit, use with a 3/8-inch conduit fitting or a 3/8-inch dual (duplex) connector.
Note: Conduit fittings are not provided
Wiring the Loudspeaker
Wire Gauge
The Design Max DM5C loudspeaker is designed to work with 18 AWG (0.8 mm2) to 14 AWG (2.1 mm2) size wire only.
Connection Diagrams
Expose six millimeters (1/4 inch) of bare wire to attach to the terminals.
Loudspeaker Settings

Transformer Tap Setting
Set tap by turning. Use a flat head screwdriver.
| 70V | |||||
| 3W | 6W | 12W | 25W | 50W* | 8Ώ |
| 6W | 12W | 25W | 50W | NC** | |
| 100V | |||||
Factory default
NC: No Connection (do not use)
Preparing the Installation
Using a Safety Cable
Some regional construction codes require the use of a secondary method of securing loudspeakers to support structures to provide additional safety. Choose a mounting position, method, and hardware consistent with local building codes and regulations.
Bose recommends using (1) a safety wire or (2) a safety cable as a secondary securing mechanism. See the diagrams below for safety attachment points.
Follow the manufacturer’s instructions for any secondary securing mechanism implemented.
Preparing Acoustic Ceiling Tile
Cutting the Ceiling Tile
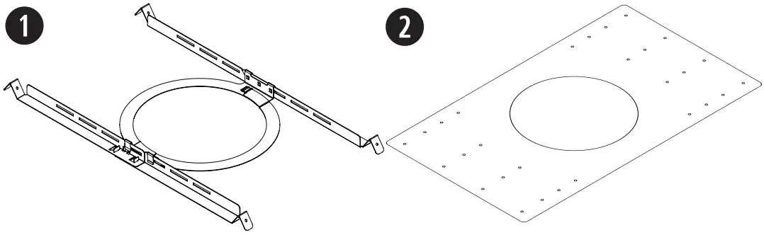
- Remove the tile and use the template to trace a loudspeaker hole onto the tile. To center the template on the tile, draw an X by connecting the corners diagonally and center the template using the crossing point.

- Cut a hole into the tile.

Installing the Tile Bridge
- Place the assembled tile bridge across the ceiling grid. If necessary, adjust the tile bridge so the rails rest on the ceiling grid.

- Replace the tile in the ceiling.

Assembling the Tile Bridge
Note: If you are installing in a hard ceiling, assemble the tile bridge after inserting the rails and ring through the hole cutout (see page 6).
- Align the rails and insert the tabs into the slots.

- Pull the rails outward to secure them together.

- Align the rails parallel to each other and press the tile bridge ring down to secure the ring to the rails.

Preparing Hard Ceiling (Existing Construction)
Cutting the Ceiling
- Use the template to trace a hole onto the ceiling.

- Cut a hole into the ceiling

Installing the Tile Bridge
- Insert the tile bridge rails and ring through the hole and place the rails parallel to each other across the ceiling grid or ceiling furring.

- Assemble the tile bridge.

Mounting the Loudspeaker
- Pass the audio wire through the wire opening.

- Insert the loudspeaker through the hole and into the tile bridge. Make sure the anchors engage on the tile bridge before loosening your grip on the loudspeaker.

- Remove the connector, wire the connector, and reinsert the connector into the loudspeaker. For wiring information, see Wiring the Loudspeaker on page 4.

- Tighten the anchor arm screws to secure the loudspeaker. If using a power drill, set to a low torque setting.

WARNING: Over-tightening the screws may result in damage to the anchor attachment point or the ceiling, which could lead to a falling hazard
Installing in Hard Ceiling Using a Rough-in Pan (New Construction)
For information on installing a rough-in pan, see the Design Max Rough-in Pan installation guide at PRO.BOSE.COM. Once the rough-in pan is installed, see Mounting the Loudspeaker.
Attaching the Grille
Insert the safety lanyard pin into the hole in the loudspeaker. Using both hands, position the grille against the loudspeaker.
The grille secures to the loudspeaker magnetically.
Safety and Regulatory Compliance
The Bose DesignMax DM5C loudspeaker has passed testing and complies with the following specifications and uses:
Listed to ANSI/UL 1480A-2016, Speakers for Commercial & Safety Professional Use General-Purpose Use – UL Category UEAY, File Number S 5591 Control Number 3N89 UL-2043, 2013, Fire Test and Visible Smoke Release for Discrete Products and their Accessories Installed in Air Handling Spaces. Suitable for use in air handling (plenum) spaces.
Suitable for installation using Class 1, Class 2, Class 3 wiring methods in accordance with NFPA 70, National Electrical Code, 2017, Article 640
NFPA 70, National Electrical Code, 2017, Article 300-22(c)
NFPA 90-A, 2015, Installation of Air Conditioning and Ventilation Systems, Paragraph 4.3.11.2.6.5
The Design Max DM5C loudspeaker has been designed to the requirements defined in the following European regulatory specification for combination systems:
Tested to IEC60268-5, 2007
What’s In the Box

Product Overview
With coaxial two-way drivers, the 60-watt Design Max DM5C loudspeaker offers rich lows and clear,
intelligible highs — along with premium aesthetics that complement any commercial sound installation.
The DM5C features a two-way 5.25-inch woofer and 1-inch coaxial tweeter mounted within the Dispersion Alignment system, delivering a frequency range of 65 Hz – 20 kHz. The in-ceiling DM5C is installed easily via Quick Hold mounting arms.
Key Features
Combine Design Max models to complete any design, big or small — 12 loudspeakers to mix and match, from 2-inch, low-profile models to 8-inch, high-SPL compression-driver loudspeakers and outdoor-rated options.
Deliver rich lows and clear, intelligible highs with coaxial two-way drivers — no DSP or EQ required. For even better sound, use select Bose DSPs and amplifiers to enable Bose loudspeaker EQ and Smart Bass processing, which expands performance and response at any listening level.
Ensure a consistent listening experience throughout the room with the Dispersion Alignment system, which matches the coverage of the woofer to the pattern of the tweeter.
Blend with any room design with elegant form factor, minimum-bezel grilles available in black or white, and removable logos.
Reduce installation time with the patented Quick Hold mounting system, which also reduces strain, hassle, and the chance of product damage.
Install easily with industry-standard accessories — all models include Euro block connectors; in-ceiling models include plenum rated back cans, tile bridges, and front-access audio wiring that makes installation and troubleshooting easier.
Technical Specifications
| SINGLE LOUDSPEAKER PERFORMANCE | ||
| Frequency Response (-3 dB) (1) | 73 – 17,000 Hz | |
| Frequency Range (-10 dB) (1) | 65 – 20,000 Hz | |
| Nominal Coverage Angle (1 – 4 kHz) | 130° Conical | |
| Nominal Coverage Angle (1 – 10 kHz) | 135° Conical | |
| AES component test (4) | Bose extended-lifecycle test (5) | |
| Power Handling, long-term continuous | 60 W | 50 W |
| Power Handling, peak | 240 W | 200 W |
| Sensitivity (SPL/ 1W @ 1 m) (2) | 87 dB | 87 dB |
| Calculated Maximum SPL @ 1 m (3) | 105 dB | 104 dB |
| Calculated Maximum SPL @ 1 m, peak | 111 dB | 110 dB |
| Crossover | 1.8 kHz (passive 2-way crossover) | |
| Loudspeaker EQ | Not Required, Bose EQ voicing and Smart Bass Processing available | |
| Recommended High-Pass Protection | 65 Hz with recommended 24 dB / octave filter | |
| Transformer taps | 70V: 3, 6, 12, 25, 50 W, bypass 100V: 6, 12, 25, 50 W, bypass | |
| TRANSDUCERS | ||
| Low Frequency | 1 x 5.25-inch woofer (133 mm) | |
| High Frequency | 1 x 1-inch (25 mm) neodymium dome tweeter, coaxially mounted | |
| Technology | Dispersion Alignment system, 165mm (6.5 in) system diameter | |
| Nominal Impedance | 8 ohms (transformer bypass) | |
| PHYSICAL | |
| Enclosure Material | Engineered-plastics front baffle with integrated steel formed back can |
| Grille | Magnetically attached perforated steel, powder-coated finish, paintable, with safety-tether |
| Logo | Rotatable, removable |
| Color | Black: RAL 9005, White: Bose Arctic White, similar to RAL 9003 Paintable |
| Environmental | Indoor only |
| Safety Agency | UL-1480A, S5591/ UL Listed, in compliance with UL2043 for plenum-space installation, NFPA70 & NFPA90-A, CE compliant |
| Operating Temperature Range | 0 °C to 50 °C (32 °F to 122 °F) |
| Connectors | Euro block 6-pin connector with loop-through, front-baffle mounted. Accepts 18 AWG (0.8 mm2) to 14 AWG (2.5 mm2) size wire. |
| Wire / Conduit Entry | Single top wire entry point knockouts, allows for 9.5 mm (3/8 in) conduit |
| Suspension / Mounting | Three (3) Quick Hold, spring-loaded mounting arms plus three (3) safety cable tabs |
| Maximum Ceiling Thickness | 48 mm (1.9 in) |
| Product Dimensions (Grille Diameter × Depth) | 303 × 205 mm (11.9 × 8.1 in) |
| Backcan Dimensions (Diameter × Depth) | 243 × 192 mm (9.6 × 7.6 in) |
| Ceiling Cutout | 250 mm (9.8 in) |
| Net Weight, Loudspeaker with grille (single) | 4.45 kg (9.6 lb) |
| Net Wight, Tile-Bridge (single) | 0.9 kg (1.9 lb) |
| Shipping Weight (pair) | 13.2 kg (29.0 lb) |
| Included Accessories | Adjustable Tile-Bridge, Template |
| Optional Accessories | Rough-in 6-pack |
| PRODUCT CODES | |
| 829683-0110 | DESIGNMAX DM5C PAIR BLK |
| 829683-0210 | DESIGNMAX DM5C PAIR WHT |
Foot notes
- Frequency response and range measured on-axis in half-space environment with Bose EQ voicing
- Sensitivity measured on-axis in half-space environment averaged 100 Hz – 10 kHz using recommended High-Pass protection
- Maximum SPL calculated from sensitivity and power handling specifications, exclusive of power compression.
- AES standard 2-hour duration with IEC system noise
- Bose extended-lifecycle test using pink noise filtered to meet IEC268-5, 6-dB crest factor, 500 hour duration.
- Measured in whole-space environment
For additional specifications and application information, please visit PRO.BOSE.COM. Specifications subject to change without notice. 09/2020
On-Axis Frequency Response
Impedance
Beam width

Dimensions


For additional specifications and application information, please visit PRO.BOSE.COM.
Specifications subject to change without notice. 09/2020
Support
©2019 Bose Corporation, All rights reserved.
Framingham, MA 01701-9168 USA
PRO.BOSE.COM
AM837254 Rev. 01
July 2019






























