AREBOS 9999981642729 Parasol with 40 LEDs Instruction Manual
Thank you for purchasing our product. Please read the operating instructions carefully before using the product for the first time. If you give the product to a third party, this manual must be handed over with it. Keep the instruction manual for future reference. The drawings in this manual may not match the physical objects. Please refer to the physical objects.
Safety instructions
General safety instructions
- Check the device for transport damage. Immediately report damage to the carrier with which the parasol was delivered.
- The installation must be done according to this instruction manual. Disregard or deviations can lead to damage to persons or material as well as to the loss of liability or warranty claims.
- Only use original accessories and spare parts.
- Make sure that there are no persons or objects in the danger zone.
- During assembly, please keep children away.
- Visual contact must be maintained throughout the operation.
Specific safety instructions
- The ground anchoring must be installed according to the relevant installation instructions. Installation must be carried out by an appropriate specialis.
- Never place the parasol on soft, sandy or damp ground.
- Modifications to the parasol or hanging of foreign materials may degrade the stability, function and/or closing function.
- Operation of the parasol may not be performed by persons with limited physical, sensory or mental capabilities (including children). Unless they are supervised by a person responsible for their safety or have been instructed by them how to operate the parasol.
- The wind resistance of the clamped screen is limited and depends on the anchoring. Mobile stands have reduced stability compared to ground anchoring.
- Never leave the parasol unattended in open position.
- In case of wind, close the parasol and secure it with a belt or a suitable protective cover.
- Only open or close the parasol if you have direct eye contact with theN parasol and its danger zone.
- In case of rain or snow the umbrella has to be closed – risk of breakage!
- Do not leave children alone with the umbrella.
- Be sure to use enough heavy path plates. Lighter path plates are too light and reduce the stability of the parasol considerably – risk of injury!
- Never ignite grills (gas, coal, electric) or open fire under or near the parasol – risk of fire! The parasol may be damaged by flying sparks.
- Never use heaters (gas, infrared) under the parasol – risk of fire!
- Attention! The movement of the spokes can cause property damage and personal injury. When opening or closing, the spokes and the covering form a danger zone due to the position change. These parasol parts can come in contact with objects or persons and thus possibly cause critical situations.
- This parasol protects you from direct UV radiation. For comprehensive protection, even against indirect UV radiation, please additionally use a suitable cosmetic sunscreen.
Delivery Scope
| Part | Description | Quantity |
| A | Plate stand, lower part | 1 |
| B | Plate stand, upper part | 1 |
| C | Stand rod | 1 |
| D | Shade, pre-assembled | 1 |
| E | Washer M10 | 4 |
| F | Hexagon bolt M10 | 4 |
| G | Accumulator | 1 |
Technical specifications
| Model | AR-HE-SS38LA, AR-HE-SS38LR, AR-HE-SS38LC, AR-HE-SS38LG |
| Dimension opened (Ø/H) | 9.84 /8.04 in (300/245 cm) |
| Material rod | Steel |
| Material sunscreen | Polyester |
| Dimension stand rod | 1.89 x 0.035 in (48 x 0.9 mm) |
| Dimension curved bar | 1.65 x 0.0335 in (42 x 0,85 mm) |
| Dimension Ribs | 0.472 x 0.7087 x 0.0236 in (12 x 18 x 0,6 mm) |
| Number LEDs | 40 (5 per rib) |
| Shape | Round |
| Colour | Anthracite, Red, Cream, Green |
| Weight | 35.3 lbs (16 kg) |
Assembly
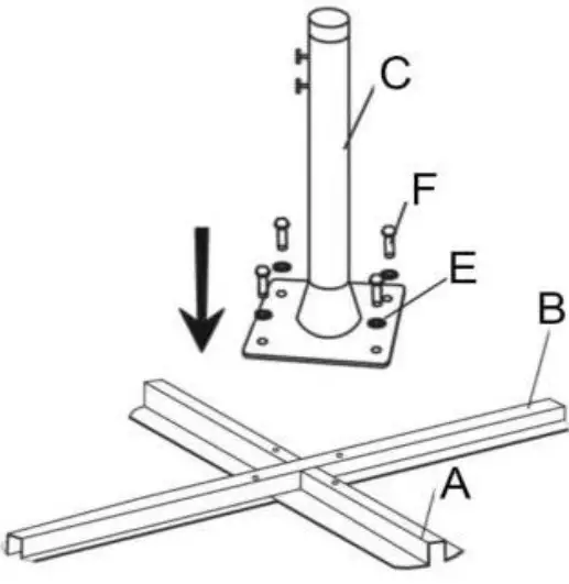
- Place both parts of the plate stand (A + B) on top of each other as shown and screw them firmly together with the stand rod (C).
- To do this, use the screws (F) and the washers (E).

- Now set the mounted plate stand to the intended position. Pay attention to a solid and horizontal surface.

- Now insert 4 path plates into the plate stand.
- Attention! Be sure to insert all four path plates! Never use the parasol stand without path plates.

- Then insert the preassembled shade (D) into the stand rod (C). To do this, include the curved tube with one hand and the shade with the other hand. Now insert the end of the straight tube into the stand rod (C). Make sure that the shade does not tilt. Avoid dropping the shade downwards as this could damage the shade.
- Screw the two knob screws to secure the shade (D) in the holes provided in the stand rod (C).

- Finally, you still need to mount the solar cell/the battery. To do this, insert the cable into the hole in the holder and connect it to the battery. Now you can insert the battery into the holder and turn it to the right so that the battery snaps into place.

Operation
Opening the parasol
- Before opening the parasol, make sure that it is correctly installed and that the correct procedure is followed. Proceed in the following order:
- Connect the curved rod D to the crank handle with a screw. Check whether the lower stop pin is engaged as the connecting piece between rod D and standpipe C. Only then press the bent tube upwards as shown so that the screen opens.

- Now, you can open the fully assembled parasol.
- Step 1: Open the locking lever on the handle, hold the handle with one hand and the curved tube above the crank with your other hand.
- Step 2: Now push the tube up to the stop – see figure.

- Step 3: Slide the curved tube all the way up.
- Step 4: Now close the locking lever on the handle part.

- Step 5: Now slide the locking sleeve on the diagonal brace as far as it will go in the direction of the handle.

- By turning the crank clockwise, the parasol opens.

- Make sure that no braces are canted on the parasol. If necessary, slightly pull the ends of the braces outwards.
- Make sure that the parasol can open without obstruction (house wall, table, tree, …)
Setting the desired roof pitch
- Step 1: Open the locking lever on the grip part and keep the grip part firmly in place.
- Step 2: With the other hand, hold the curved tube tight.
- Step 3: Now slide the handle slowly downwards. The roof pitch of the screen is adjusted.
- Step 4: Once the desired roof pitch has been reached, close the locking lever on the handle section.

- Attention! When the parasol is tilted, the windage area increases considerably. In the event of a wind, close the parasol and secure it with a strap or a suitable protective cover.
- To return the screen to the horizontal position, proceed in reverse order.
Turning on the LEDs
- Use the ON/OFF switch to turn the lights on and off.
- On: switch in position I.
- Off: switch in position O.

Cleaning and maintenance
- We recommend cleaning the cover regularly if the shade is in a place where there is a higher risk of contamination.
- For general cleaning, first remove dust and dry dirt with a soft brush. Rinse the cover regularly with clean, warm water (e.g. with a garden hose), so that the dirt cannot be eaten into. Allow the material to dry before closing the shade.
- The fastening parts must be checked regularly and retightened if necessary.
- Clean the parasol regularly with clean water when used in a saline or industrial environment.
- If thorough cleaning is required, clean the cloth with a sponge and mild soapy water or detergent (pH 7).
- Rinse off with plenty of water to remove any soap residue.
- Never use cleaning agents or solvents. Grease or oil stains can be removed with an absorbent cloth, turpentine or similar.
- The cover should never be rolled up for extended periods of time when it is wet or damp.
- The use of a protective cover increases the durability of the cloth and reduces the bleaching process.
- Always store the parasol in a dry place.
- If the parasol is not used for a longer period, make sure that the material is dry. Otherwise, it can lead to mould stains and mould.
Environmentally friendly disposal
Warning Danger of suffocation! Packaging material is dangerous for children. Never let children play with packaging material.
Disposal and packaging
- The packaging of your unit consists of materials that are necessary to guarantee effective protection during transport. These materials are fully recyclable and therefore reduce the environmental impact. Dispose of the packaging in a bin for recyclable materials.
Disposal of old equipment
- Old appliances must be disposed of in accordance with the guidelines and regulations of the local waste disposal authority. Check with your local administration for the address of the nearest recycling centre and deliver your appliance there.
The symbol of the crossed-out dustbin on a Waste electrical or electronic equipment indicates that it must not be disposed of with household waste at the end of its life. Collection points for waste electrical and electronic equipment are available free of charge in your area. You can obtain the addresses from your city or local government. You can find out about other return options created by us on our website www.arebos.de.
The separate collection of Waste electrical or electronic equipment is intended to enable the reuse, recycling or other forms of recovery of Waste electrical or electronic equipment and to avoid the negative consequences of disposal on the environment and human health.
Notes on battery disposal
The symbol of the crossed-out dustbin on batteries or accumulators indicates that they must not be disposed of with household waste at the end of their service life. If batteries or accumulators contain mercury (Hg), cadmium (Cd) or lead (Pb), you will find the respective chemical symbol below the symbol of the crossed-out trash can. You are legally obliged to return old batteries and accumulators after use. You can do this free of charge in a retail store or at another collection point near you. Addresses of suitable collection points can be obtained from your city or local government.
Our customer service number:
Tel. +44 (0) 208 068 5604
Fax: +49 (0) 931 4523 2799 /
E-Mail: [email protected]
Office address: Canbolat Vertriebs GmbH • Gneisenaustraße 10-11 • 97074 Würzburg Return address can be found in the imprint: https://www.arebos.de/impressum/
Revocation/Return
- Check the product for transport damage. Immediately report any damage to the transport company that delivered the product.
- Revocation/Return: Please note that the full purchase price can only be refunded if the returned goods are unused, new and in their original packaging.
Original User Manual – AREBOS Parasol with LED
Imprint
| Product name AREBOS | Parasol 40 LED Anthracite | Parasol 40 LED Red | Parasol 40 LED Cream | Parasol 40 LED Green |
| Model number | AR-HE-SS38LA | AR-HE-SS38LR | AR-HE-SS38LC | AR-HE-SS38LG |
| Article number | 4260551586507 | 4260551586262 | 4260551586248 | 4260551586491 |
If this product is modified without our consent, it will void any warranty.
Date/Manufacturer Signature/Location: Würzburg, 17 March 2022

Signature:
Dipl.-Inform. (Univ.) Korhan Canbolat, Managing Director
Representative of these instructions for use/technical data:
Dipl.-Inform. (Univ.) Korhan Canbolat, Managing Director
Office address:
Canbolat Vertriebs GmbH
Gneisenaustraße 10-11
D-97074 Würzburg
Return address can be found in the imprint: https://www.arebos.de/impressum/
VAT identification number: DE 263752326
Court of the Commercial Register is Würzburg, HRB 10082
WEEE Reg.-No. DE 61617071


















