INVACARE Colibri Mobility Scooter
General
Introduction
This document contains important information about assembly, adjustment and advanced maintenance of the product. To ensure safety when handling the product, read this document and the user manual carefully and follow the safety instructions.Find the user manual on Invacare’s website or contact your Invacare representative. See addresses at the end of this document.Invacare reserves the right to alter product specifications without further notice.Before reading this document, make sure you have the latest version. You find the latest version as a PDF on the Invacare website.For pre-sale and user information, see the user manual.For more information about the product, for example product safety notices and product recalls, contact your Invacare representative. See addresses at the end of this document.
General Information
Service and maintenance work must be carried out taking this document into account.It is imperative that you observe safety information.Information about operation or about general maintenance and care work on the product should be taken from service manual.Assembly of accessories might not be described in this document. Refer to the manual delivered with the accessory. Additional manuals can be ordered from Invacare. See addresses at the end of this document.You can find information about ordering spare parts in the spare parts catalogue. Spare parts must match original Invacare parts. Only use spare parts which have been approved by Invacare.The product may only be maintained and overhauled by qualified personnel.
The minimum requirement for service technicians is suitable training, such as in the cycle or orthopedic mechanics fields, or sufficiently long-term job experience. Experience in the use of electrical measuring equipment (multimeters) is also a requirement. Special Invacare training is recommended.Alterations to the mobility device which occur as a result of incorrectly or improperly executed maintenance or overhaul work lead to the exclusion of all liability on the side of Invacare. If you have any problems or questions contact your provider.
Notes on Shipping
- If the mobility device has to be shipped back to the manufacturer for major repairs, you should always use the original packaging for transport.
- Please attach a precise description of the fault.
Symbols in this Manual
- Symbols and signal words are used in this manual and apply to hazards or unsafe practices which could result in personal injury or property damage. See the information below for definitions of the signal words.
DANGER
Indicates a hazardous situation that will result in serious injury or death if it is not avoided.
WARNING
- Indicates a hazardous situation that could result in serious injury or death if it is not avoided.
CAUTION
- Indicates a hazardous situation that could result in minor or slight injury if it is not avoided.
IMPORTANT
- Indicates a hazardous situation that could result in damage to property if it is not avoided.
- Gives useful tips, recommendations and information for efficient, trouble-free use.
- Identifies required tools, components and items which are needed to carry out certain work.
Images in This Manual
- The detailed images in this manual are given marks to identify various components. Component marks in text and operational instructions always relate to the image directly above.
Safety
WARNING
- The procedures in this service manual, must be performed by a specialized dealer or qualified service technician.
- Do not handle this product or any available optional equipment without first completely reading and understanding these instructions and any additional instructional material such as user manuals, installation manuals or instruction sheets supplied with this product or optional equipment.
- The information contained in this document is subject to change without notice.
Safety and Fitting Instructions
These safety instructions are intended to prevent accidents at work, and it is imperative that they are observed.Before any inspection or repair work
- Read and observe this repair manual and the associated user manual.
- Observe the minimum requirements for carrying out the work (see 1.2 General Information, page 4 ).
Personal Safety Equipment
- The mobility device, and some of its components, are very heavy.
- These parts can result in injuries to the feet if they are allowed to drop.
- Wear standardized safety shoes during all work.
Eye protection
- It is possible that battery acid can be discharged when working on defective batteries or when handling batteries improperly.
- Always wear eye protection when working on any defective or possibly defective batteries.
Safety gloves
- It is possible that battery acid can be discharged when working on defective batteries or when handling batteries improperly.
- Always wear acid-proof safety gloves when working on any defective or possibly defective batteries.
General Safety Information and Information About Fitting / Removal
DANGER
Risk of Death, Serious Injury, or Damage Lighted cigarettes dropped onto an upholstered seating system can cause a fire resulting in death, serious injury, or damage. Mobility device occupants are at particular risk of death or serious injury from these fires and resulting fumes because they may not have the ability to move away from the mobility device.
- DO NOT smoke while using this mobility device.
WARNING!
- Risk of Serious Injury or Damage Storing or using the mobility device near open flame or combustible products can result in serious injury or damage.
- Avoid storing or using the mobility device near open flame or combustible products.
CAUTION!
Risk of crushing
- Various components such as the drive unit, batteries, seat etc are very heavy.
- This results in injury hazards to your hands.
- Note the high weight of some components.
- This applies especially to the removal of drive units, batteries and the seat.
Injury hazard if the mobility device starts moving unintentionally during repair work
- Switch the power supply off (ON/OFF key).
- Engage the drive.
- Before lifting up, secure the mobility device by using chocks to block the wheels.
Fire and burn hazard due to electrical short-circuit
The mobility device must be completely switched off before removal of voltage-carrying components! To do this, remove the batteries. Avoid short-circuiting the contacts when carrying out measurements on voltage-carrying components. Risk of burns from hot surfaces on the motor. Allow the motors to cool down before commencing work on them.
Injury hazard and risk of damage to mobility device due to improper or incomplete maintenance work
- Use only undamaged tools in good condition.
- Some moving parts are mounted in sockets with PTFE coating (Teflon™). Never grease these sockets!
- Never use “normal” nuts instead of self-locking nuts.
- Always use correctly-dimensioned washers and spacers.
- When reassembling, always replace any cable ties which were cut during dismantling.
- After completing your work / before renewed start-up of the mobility device, check all connections for tight fitting.
- After completing your work / before renewed start-up of the mobility device, check all parts for correct locking.
- Only operate the mobility device with the approved tyre pressures (see technical data).
- Check all electrical components for correct function. Note that incorrect polarity can result in damage to the control system.
- Always carry out a trial run at the end of your work.
Risk of injury and damage to property, if the maximum speed reduction on a wheelchair with a lifter does not function correctly
The wheelchair’s control unit must reduce the maximum possible speed as soon as the lifter is raised.Test the maximum speed reduction for correct function after any maintenance work or modifications to the wheelchair.
Any changes to the drive program can affect the driving characteristics and the tipping stability of the mobility device
- Changes to the drive program may only be carried out by trained Invacare providers.
- Invacare supplies all mobility devices with a standard drive program ex-works.
- Invacare can only give a warranty for safe mobility device driving behavior – especially tipping stability –
- for this standard drive program.
Mark all current settings for the mobility device (seat, armrests, backrest etc.), and the associated cable connecting plugs, before dismantling. This makes reassembly easier. All plugs are fitted with mechanical locks which prevent release of the connecting plugs during operation. To release the connecting plugs the safety locks must be pressed in. When reassembling ensure that these safety locks are correctly engaged.
Hygiene
Handling of Returned Used Products
When reconditioning or repairing returned mobility devices:
- Take precautions for yourself and the product.
- Use protection equipment as specified locally.
Before Transport According to Biological Agents Ordinance
Treat product according to following process steps:
| Process Step | Component | Application | Conditioning technique | Work Station |
| Manual cleaning | Surface of used device | Before repair or reconditioning | Use saturated towel to apply cleaning detergent and remove residues after impact. | Cleaning and disinfection |
| Disinfection | Surface of used device | Before repair or reconditioning | Use saturated disinfectant wipes and clean* the device surface. | Cleaning and disinfection |
- Invacare uses detergent “Nücosept special” 1.5% in water ml/ml
Disinfection Tools
- Disposable wipes (fleece)
- Brushes to clean areas difficult to access
Further Information
- For more information contact your Invacare service department.
Service
General safety information on installation work
Risk of damage to mobility device Collisions can be caused if shim rings are removed from the drive wheels during installation work. Shim rings are frequently placed between drive shaft and wheel hub to compensate tolerances. Collisions can be caused if these shim rings are removed and not re-installed.Install all shim rings in exactly the same positions they were in before dismantling.
Tightening Torques
CAUTION!
- Risk of damage to mobility device due to improperly tightened screws, nuts or plastic connections.
- Always tighten screws, nuts etc. to the stated tightening torque.
- Only tighten screws or nuts which are not listed here fingertight.
Service Plan Once A Year
| Component | Check | Remedy | Notes | |
| Seat | Check welded seams, fixings and upholstery | Tighten screws, replace parts if damaged | ||
| Check seat suspension | Grease the spring generously, replace parts if damaged | See 4.10.1 Replacing Seat Suspension / Spring, page 18. | ||
| Frames (chassis) / battery mounting | Check fixings, welded seams and battery mounting | Tighten screws, replace parts if damaged | ||
| Check battery fixing straps | ||||
| Wheel suspension and wheels | Check drive wheels for tight fit | Tighten hub nuts, replace if necessary | ||
| Check front wheels for tight fit, float and side play | Adjust / replace | See 4.8 Wheels, page 16. | ||
| Check tracking and steering linkage | Tighten screws | |||
| Check tracking and steering | ||||
| Drive units, coupling mechanism | Check functions in drive and push modes | Replace motor if necessary | See 4.9 Drive Components, page 18. | |
| Check clutch mechanism | Tighten screws / nuts, adjust or replace | |||
| Batteries | Check batteries for damage | Replace batteries | See 4.6.4 Replacing Batteries, page 14. | |
| Check battery voltage | Charge batteries | See user manual. | ||
| Check contacts and terminals | Clean contacts and terminals |
| Component | Check | Remedy | Notes | |
| Drive controls | Check status display (flashing) | Evaluate flash code | ||
| Check fixing | Tighten or replace fixing | |||
| Check cable, connecting plug | Replace cable, connecting plug | |||
| Check drive lever function | Replace drive lever | |||
| Check power supply | Replace cable, connecting plug or console | |||
| Drive program | Check drive program version. New version available? | Update software | See 4.5.4 Updating driving program, page 13. | |
| Screws | Check screws for tight fit | Tighten screws if necessary |
Troubleshooting
Operational faults
- Proceed as follows if you have any problems.
Drive Fault Diagnosis
- First assess the possible cause of the problem using the following table.
- Check operating console status display. Evaluate flash code.
- Carry out necessary checks and repairs as recommended in the following table.
| Problem | Other symptoms | Possible cause | Solution | Documentation |
| Scooter will not start | Status display on operating console does not illuminate | Batteries defective | Replace batteries | See 4.6.4 Replacing Batteries, page 14. |
| Completely discharged battery | Pre-charge batteries | |||
| Power supply to operating console possibly interrupted | Check main fuse | See user manual for main fuse position. | ||
| Check cable between modules for loose connections or damage | See 4.6.5 Checking cables, page 15. | |||
| Operating console defective | Replace operating console | See 4.5.2 Replacing Operating Console, page 12. | ||
| Status display on operating console flashing | Various causes | Assess error code | See 4.4.3 Error codes and diagnostic codes, page 10. | |
| Scooter judders in drive mode | None | Drive motor(s) defective | Replace motor(s) | See 4.9.1 Replacing Drive Motor, page 18. |
| Drive lever potentiometer defective | Replace potentiometer | See 4.5.3 Replacing Potentiometer, page 12. | ||
| Batteries not being charged | None | Batteries defective | Replace batteries | See user manual. |
| LEDs flashing on charger | Charger defective | Replace charger | See user manual of charger. | |
| Scooter runs too slowly | None | Operating console defective | Replace operating console | See 4.5.2 Replacing Operating Console, page 12. |
| Batteries defective | Replace batteries | See 4.6.4 Replacing Batteries, page 14. |
Error codes and diagnostic codes
| Flash code | Fault | Consequence for the scooter | Comments |
| 1 | Batteries must be charged | Continues to drive | • The batteries are discharged. Charge the batteries as soon as possible. |
| 2 | Battery voltage too low | Stops driving | • The batteries are depleted. Charge batteries. • If you switch the scooter off for a few minutes, the batteries can often recuperate to such a stage that a short journey is still possible. You should only do this in an emergency, however, because this causes the batteries to become excessively discharged. |
| 3 | Battery voltage too high | Stops driving | • The battery voltage is too high. If the battery charger is connected, disconnect it from the scooter. • The electronic system charges the batteries when running downhill and when braking. This fault is caused when the battery voltage becomes too high during this process. Switch the scooter off and on again. |
| 4 | Power time exceeded | Stops driving | • The maximum current was exceeded over too long a period, probably because the motor was overloaded or has been working against an immovable resistance. Switch the scooter off, wait a few minutes and then switch on again. • The electronic system has determined a motor short-circuit. Check the wiring harness for short-circuit and check the motor. • Contact your Invacare provider. |
| 5 | Brake failure | Stops driving | • Ensure that the disengaging lever is in the engaged position. • There is a defect in the braking coil or in the cabling. Check the magnetic brake and cabling for open or short-circuited circuitry. Contact your Invacare provider. |
| 6 | No neutral position when switching scooter on. | Stops driving | • Drive lever is not in neutral when the keyswitch was turned. Put the drive lever in neutral, turn the power off and then turn on again. • It may be necessary to replace the drive lever. Contact your Invacare provider. |
| 7 | Fault in speed potentiometer | Stops driving | • The drive lever controls could be faulty or incorrectly connected. Check the cabling for open or short-circuited circuitry. • Potentiometer is not correctly adjusted and must be replaced. Contact your Invacare provider. |
| 8 | Motor voltage error | Stops driving | • The motor or its cabling is defective. Check the cabling for open or short-circuited circuitry. |
| 9 | Miscellaneous internal fault | Stops driving | • Contact your Invacare provider. |
| 10 | Push/freewheel mode error | Stops moving | • The scooter has exceeded the permissible maximum speed during pushing or freewheeling. Switch the electronics system off and on again. |
Controls
Replacing Power Module
CAUTION
- Risk of accident
- When parking mobility device on its support wheels it is no longer slowed by the motor brake. The mobility device can roll away out of control.
- Place mobility device’s rear frame on a supporting wooden block before you remove wheels.
- Burn and scald hazard if power cable is shorted Turn off the power completely before removing any power supply components of mobility device. Therefore take out batteries.
- Avoid a bridging of the contacts during measurements on live electrical components.
- Any changes to the drive program can affect the driving characteristics and the tipping stability of the mobility device.
- Changes to drive program may only be carried out by trained Invacare providers.
- Invacare can only give a warranty for safe mobility device driving behavior – especially tipping stability – for unaltered standard drive programs.
Risk of accident
- Accidental rolling can lead to accidents.
- Secure mobility device against rolling away.
- The electronic system is supplied with a standard drive program.
- If you have carried out customer-specific modifications to the drive program, you will have to make these changes again after installing the new power module.
- When removing, note position of small parts such as screws and washers. Put small parts down so that they can be installed in correct sequence.
- Phillips screwdriver
- Supporting wooden block
- To adapt drive program: programming software or hand programming device and controls system installation manual, available from Invacare.
- Remove seat.
- Remove battery boxes.
- Remove drive unit.

- Place chassis (1) upright on its seat adapter (2). 5. Secure chassis against falling over.
Remove four screws A from electronics shroud B.- Open the electronics shroud.

- Loosen and remove screws B on both sides of power module.
- Replace power module.
- Install parts in reverse order.
- Modify drive program.
- Complete installation of mobility device.
- Test all functions.
Replacing Operating Console
Risk of Burning if Power Cable is Shorted
- Turn off the power completely before removing any power supply components of the mobility device. Therefore take out batteries.
- Avoid bridging of contacts during measurements on live electrical components.
Risk of Damage to Operating Console by Instant High Current/Voltage
- Unplug battery cable before removing/installing operating console.
- Make sure all pins are correctly connected.
Risk of Damaging Circuit Board by Electrostatic Discharge
- Handle circuit boards only in Electrostatic Protected Areas (EPA).
- When removing, note position of small parts such as screws and washers. Put small parts down so that they can be installed in the correct sequence.
Phillips screwdriver
- Remove seat.
- . Remove battery boxes.
- Pull shroud (1) on the operating console upwards out of fixing.
- Secure bottom shroud B. Loosen and remove screws A.
- Remove bottom shroud.
- Remove all plugs (1) from top operating console assembly C.
- If required, remove top shroud from operating console.
- Replace operating console.
- Install parts in reverse order.
- Test all functions.



Replacing Potentiometer
Risk of Burning if Power Cable is Shorted
- Turn off the power completely before removing any power supply components of the mobility device. Therefore take out batteries.
- Avoid bridging of contacts during measurements on live electrical components.
Risk of Damage to Operating Console by Instant High Current/Voltage
- Unplug battery cable before removing/installing operating console.
- Make sure all pins are correctly connected.
Risk of Accident
- Wrong potentiometer setting can result in dangerous driving situations.
- Connect potentiometer to drive lever mounting.
Risk of Damaging Circuit Board by Electrostatic Discharge
- Handle circuit boards only in Electrostatic Protected Areas (EPA).
- Phillips screwdriver
- 2 mm Allen key
- Digital multimeter
- Remove seat.
- Remove battery boxes.
- Pull shroud (1) on operating console upwards out of the fixing.
- Remove screws (1) from operating console.
- Remove all plugs from operating console.
- Remove operating console.
- Loosen and remove screws (1) including drive lever.
- Remove screws C on drive lever mounting B and remove mounting.
- Disconnect potentiometer plug A from operating console.
- Remove screws A on potentiometer.
- Replace potentiometer.
- Reconnect potentiometer plug A with operating console.
- Connect potentiometer A and drive lever mounting B. Tighten screw C.
- Install parts in reverse order.
- 15. Test all functions (trial run).







Updating driving program
The driving programs for electric wheelchairs are continually updated and improved by Invacare®. For this reason, you should check whether the version number is still up to date each time a wheelchair comes in for repairs, and also during regular inspections.If a newer version is available, the driving program must be updated. The procedure for updating the driving program is described in the user manual of the Wizard software.The electronic system is supplied with a standard drive program. If the driving program has been customised, you have to perform this customisation again, after installing the new driving program.
- Dynamic® Wizard software
- User manual for the Wizard software
- For further information on other requirements
- such as the minimum system configuration of the PC to be used for programming, necessary programming cables – see the user manual of the Wizard software. You find the latest version of the user manual in the download area on http://www.dynamiccontrols.com/.
Batteries
CAUTION
- Injury hazard and possible material damages if batteries are handled improperly
- The installation of new batteries may only be carried out by authorised specialists.
- Observe the warning information on the batteries.
- Only use battery versions stated in the specifications.
Fire and burns hazard if battery terminal is bypassed
- Take great care to ensure that the battery terminals are never short-circuited with tools or mechanical mobility device parts.
- Ensure that the battery terminal caps have been replaced if you are not working on the battery terminals.
Risk of crushing
- Batteries can be extremely heavy.
- This results in injury hazards to your hands.
- Handle the batteries with care.
- Ensure that batteries do not fall to the ground when removed from chassis.
- Pay attention to hands.
- Use proper lifting techniques.
WARNING!
- Burn hazard.
- Injury hazard due to discharged acid.
- Always wear acid-proof protective gloves when handling batteries.
- Always wear protective goggles when handling batteries.
What to do if acid is discharged
- Always take clothing which has been soiled by or dipped in acid off immediately!
- Rinse any areas of your skin which has come into contact with battery acid off immediately with plenty of water!
If contact with eyes is made
- You should also consult an eye specialist immediately afterwards!
- When removing, take care of small parts such as screws and washers. Put all small parts down so that they can be installed in correct sequence.
General Instructions on Handling
Batteries
- Never mix and match different battery manufactures or technologies, or use batteries that do not have similar date codes.
- Never mix gel with AGM batteries.
- The batteries reach their end of life when the drive range is significantly smaller than usual. Contact your provider or service technician for details.
- Always have your batteries installed by a properly trained mobility device technician or a person with adequate knowledge.
- They have the necessary training and tools to do the job safely and correctly.
Handling Damaged Batteries Correctly
CAUTION!
- Corrosion and burns from acid leakage if batteries are damaged.
- Remove clothes that have been soiled by acid immediately.
After contact with skin
- Immediately wash affected area with lots of water.
After contact with eyes
- Immediately rinse eyes under running water for several minutes; consult a physician.
- Always wear safety goggles and appropriate safety clothing when handling damaged batteries.
- Place damaged batteries in an acid-resistant receptacle immediately after removing them.
- Only ever transport damaged batteries in an appropriate acid-resistant receptacle.
- Wash all objects that have come into contact with acid with lots of water.
Disposing of Dead or Damaged Batteries Correctly
- Dead or damaged batteries can be given back to your provider or directly to Invacare.
Installing/removing battery boxes
- The installation of the battery boxes in the scooter is described in the user manual.
Replacing Batteries
- Phillips screwdriver
- 8 mm wrench (18 Ah battery only)
- Remove seat.
- Remove battery boxes. 3.
- Turn battery box (1) upside down.
- Loosen and remove screws (2) from battery box.
- Carefully return battery box (1) to upright position and remove battery shroud (3).

Depending on battery type, disconnect connectors as follows:
- 12 Ah batteries: Pull plugs from battery terminals.
- 18 Ah batteries: Loosen screws.

Remove all connecting plugs on battery terminals. Disconnect cable harness from batteries in following order:
- BLACK cable A from negative battery terminal on right battery.
- RED cable B from positive battery terminal on left battery.
- WHITE cable C from positive battery terminal on right battery.
- WHITE cable D from negative battery terminal on left battery.
The batteries (1) are held by clips (2) which are fixed by Phillips screws (3).- Loosen and remove screws (3) and clips (2).
- Replace batteries.
- Install new batteries and secure them with clips (2).
Install all connecting plugs on battery terminals. Connect cable harness to batteries in following order:
- BLACK cable A to negative battery terminal on right battery
- RED cable B to positive battery terminal on left battery
- WHITE cable C to positive battery terminal on right battery
- WHITE cable D to negative battery terminal on left battery
- Install remaining parts in reverse order.
- Test all functions.
Checking cables
- Switch controls OFF on the operating control.
- Check all cables for visible damage, crushing points or abrasion points.
- Replace damaged cables.
- Pull on each plug carefully. The plug must not come out of its socket when pulled on lightly.
- If a plug is loose, apply slight pressure to push the plug into the socket. The plug must snap in place securely.
- Check that the plug is firmly attached to its socket.
- Remove batteries, as described in chapter 6.3.
- Check battery cables for visible damage, crushing points or abrasion points.
- Replace damaged cables.
- Assemble all parts again in reverse order.
- Test all functions of the mobility device.
Shrouds
Removing shroud
Risk of damage to shroud
- Do not pull shroud straight up to remove.
- Follow the instructions below.
- 2. Lift shroud up from front.


Place hands on left and right side of shroud.
- Twist and lift to remove shroud completely.
- Replacing front shroud
- 10 mm socket wrench
- Phillips screwdriver
- Remove shroud. See 4.7.1 Removing shroud.Remove four caps A.
- Loosen and remove screws B.
- Take off front shroud.
- Install parts in reverse order.
- Wheels
- Replacing Front Wheel/Axle (3–Wheel Version)

CAUTION
Risk of Accidents
- Accidents may result from standing the chassis upright on its end.
- Secure the chassis against falling over.
- Risk of Damage to Mobility Device
- The plastic shroud can be damaged if you attempt to lift mobility device by its shroud. – Lift mobility device by the chassis only.
When removing, take care of small parts such as screws and washers. Put all small parts down so that they can be installed in correct sequence.
- 12 mm wrench
- 13 mm wrench
- Remove seat.
- Remove battery boxes.
- Remove drive unit.
- Place chassis (1) upright on its seat adapter (2). 5. Secure chassis against falling over.

Removing Wheel
Loosen self-locking nut (1). Secure axle bolt (2) against slippage.
- Remove axle slowly.
- Remove wheel along with distance bushings and washer.
Installing Wheel
- Install parts in reverse order. Pay attention to correct positions of bushings and washer.
- Install and tighten new self-locking nut.
- Test all functions.
Replacing Wheels (4–Wheel Version /Rear Wheels of 3–Wheel Version)
CAUTION
Risk of injury caused by uncontrolled movement of mobility device
- Turn off power.
- Engage motors.
- Secure mobility device against rolling away by placing wedges under wheels.
- Place rear frame of mobility device on a supporting wooden block before removing wheels.
When removing, take care of small parts such as screws and washers. Put all small parts down so that they can be installed in correct sequence.
- 12 mm wrench
- Rubber hammer
- Flat screwdriver
- Wooden block
Removing Wheel
- Secure mobility device against rolling away.
- Place a wooden block under frame in vicinity of battery box.
- Loosen and remove locking nut.
- Remove wheel from axle. If necessary, loosen the wheel by tapping it lightly with a rubber hammer.
- Remove plastic cap (1).

Installing Wheel
- Install parts in reverse order. Ensure to use a new locking nut.
- Test all functions.
Replacing Front Axle 4–Wheel Version
CAUTION
Risk of Accidents
- Accidents may result from standing the chassis upright on its end.
- Secure the chassis against falling over.
When removing, take care of small parts such as screws and washers. Put all small parts down so that they can be installed in correct sequence.
- 12 mm wrench
- 17 mm wrench
- Remove seat.
- Remove battery boxes.
- Remove drive unit.
Place chassis (1) upright on its seat adapter (2). 5. Secure chassis against falling over.

Removing Axle
- Remove front wheels. See 4.8.
- Replacing Wheels
- Wheel Version Rear Wheels of 3Wheel Version.
- Remove track rods (1) from steering plates (2).
- Loosen and remove nut (5) including washer.
- Pull bolt (6) out and remove the axle assembly from chassis (4).

Installing Axle
- Install parts in reverse order.
- Test all functions.
Replacing Anti-Tipper Wheels
- 10 mm wrench (2x)

Removing Wheel
- Loosen and remove nut (2).
- Remove bolt (1).
- Pull wheel (3) out of bracket.
- Replace wheel.
Installing Wheel
- Install parts in reverse order. Tighten self-locking nut just tight enough that the wheel can still rotate without resistance.
- Test all functions.
Drive Components
Replacing Drive Motor
CAUTION
Risk of Accident.When parking the scooter on the scooters support wheels it is no longer slowed by motor brake. The scooter can roll away out of control. – Place the scooter rear frame on a supporting wooden block before you remove the wheels.Accidental rolling can lead to accidents. – Secure scooter against rolling away.When removing, note position of small parts such as screws and washers. Put small parts down so that they can be installed in correct sequence.Plugs on power module cannot be wrongly connected because all plugs have a different size and only fit in one socket.
- 8 mm wrench
- 13 mm wrench
- Phillips screwdriver
- Rubber hammer
- Supporting wooden block
- Cable ties
- Remove seat.
- Remove battery boxes.
- Remove drive unit.
- Support drive unit with a wooden wedge.
- Loosen and remove fixing bolts (1), (2) and (3) on rear shroud.
- Remove rear shroud. 7.
- Loosen and remove screws (2) and counter them.
- Unplug drive motor plug (1) of socket strip.
- Fold drive to rear onto chassis and anti-tipper wheels.
- Loosen fixing screws of rear wheels.
- Remove wheels, see 4.8.2 Replacing Wheels (4–Wheel Version / Rear Wheels of 3–Wheel Version), page 16.
- Remove motor downwards out of mobility device frame.
- Replace motor.
- Install parts in reverse order.
- Install motor plug floating. This means you should ensure that the plug still has little play after the bolts have been tightened. Tighten bolts to max. 1.5 Nm.
- Secure motor cable with cable tie.
- Complete installation of mobility device.
- Test all functions.

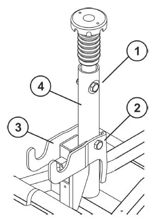
Replacing Seat Suspension / Spring
CAUTION
Risk of accident
Accidental rolling can lead to accidents. – Secure scooter against rolling away.When removing, note position of small parts such as screws and washers. Put small parts down so that they can be installed in correct sequence.
The following seat support tubes are available for the seat suspension:
- 425 mm
- 450 mm
- 475 mm
- 13 mm wrench
- 17 mm wrench (2x)
- Grease
- Secure mobility device against rolling away.
- Remove seat.
- Loosen bolted connection (1) on mounting sleeve (4) and counter it.
- Loosen bolted connection (2) on rear closure (3) and counter it.
- Remove bolts (3 and 9), nut and washers.
- Remove seat support tube (4) from receptacle tube (1).
- Remove bellow (5) including spring (7) and plastic end pieces (6 and 8).
- Install plastic end pieces (6 and 8) to new spring.
- Grease spring generously. The spring should be covered completely.
- Install bellow (5) including spring (7) and plastic end pieces (6 and 8).
- Insert seat support tube (4) into receptacle tube (1) and press down gently.
- Reposition bolts (3 and 9), nut and washers.
- Firmly tighten bolts of seat support tube.
- Reposition seat.
Replacing seat support tube


Replacing seat support tube
- 17 mm wrench (2x)
CAUTION
Risk of tipping
OrionPRO 3–wheel could tip over when driving uphill when incorrect seat support tube/ seat suspension is installed.
- Always install seat support tube with two holes only.
- Always install seat support tube medium or short when retrofitting.
- Remove seat.
- Remove shroud. See “Removing shroud”.
- Remove securing bolt, nut and washers of seat support tube.
- Replace seat support tube.
- Adjust seat height.
- Reinsert securing bolt, nut and washers and tighten.

Invacare Distributors
- Australia: Invacare Australia Pty. Ltd. 1 Lenton Place, North Rocks NSW 2151 Australia Phone: 1800 460 460 Fax: 1800 814 367 [email protected]
- www.invacare.com.au
- United Kingdom: Invacare Limited Pencoed Technology Park, Pencoed Bridgend CF35 5AQ Tel: (44) (0) 1656 776 222Fax: (44) (0) 1656 776 220 [email protected] www.invacare.co.uk
- Canada:
Invacare Canada L.P.570 Matheson Blvd East, Unit 8 CDN Mississauga, On. L4Z 4G4 Phone: (905) 890 8300Toll Free: 800.668.5324
www.invacare.ca - Eastern Europe, Middle East & CIS: Invacare EU ExportAm Achener Hof 8D-88316 IsnyTel: (49) (0)7562 700 397[email protected]
www.invacare-eu-export.com - Ireland:
Invacare Ireland Ltd,Unit 5 Seatown Business Campus Seatown Road, Swords, County Dublin Tel : (353) 1 810 7084Fax: (353) 1 810 7085
[email protected]
www.invacare.ie - New Zealand:Invacare New Zealand Ltd4 Westfield Place, Mt Wellington 1060 New ZealandPhone: 0800 468 222Fax: 0800 807 788 sales@invacare.co.nz
www.invacare.co.nz
INVACARE Colibri Mobility Scooter

Remove four screws A from electronics shroud B.
The batteries (1) are held by clips (2) which are fixed by Phillips screws (3).
Replacing Seat Suspension / Spring















