Dome 220215 Water Main Shut Off

Thank you for purchasing the DOME Water Main Shut-Off, which works with your Z-Wave Certified Controller to let you control your Water Main while on vacation, or have it automatically shut off incase of leaks or other emergencies.

Including/Connecting into the Z-Wave Network:
Follow the instructions for your Z-Wave certified Controller to enter into inclusion mode.
When prompted by the Controller:
- Bring the Water Main Shut-Off to the final location where it will be used*
- Power on the Water Main Shut-Off
- Press the Open/Close Button quickly 3 times in a row
The LED will stop blinking and stay on continuously upon successful inclusion
CAUTION
Upon inclusion, the motor will engage and start turning automatically. To avoid serious injury, keep your fingers and hands clear of the Control Arm and its path, only gripping the unit firmly by either the Mounting Arm or the top of the Motor Assembly
*For non Z-Wave Plus networks, please consult the owner’s manual for your primary Controller to determine the best method and location for adding the Water Main Shut-Off to your Z-Wave network.
Excluding/Disconnecting from the Z-Wave Network:
Follow the instructions for your Z-Wave certified Controller to enter into exclusion mode. When prompted by the controller:
- Press the Open/Close Button quickly 3 times in a row
The LED will flash 5 times indicating exclusion/disconnection
Restoring the Water Main Shut-Off to the Factory Default Settings:
To disconnect from the Z-Wave Network and restore factory de-fault settings:
- Press and hold the Open/Close Button for 10 seconds and then release.
A flashing light indicates a successful factory reset. Beware that resetting your device will disconnect it from your system.
Only do this if the Controller is missing or otherwise unreachable!
Installation:
The Water Main Shut-Off can be installed on any pre-existing 1/2” to 1” metal 1/4 turn ball valve, at least 5” away from any walls or other obstructions. Examine Figure 2 and make sure there is enough room in your plumbing installation to accommodate the Shut-Off.
- Make sure the valve can be comfortably opened/closed before continuing further
- Unscrew the screws on both Hose Clamps completely so that their ends are free, insert both of them into the Mounting Arm, and let them hang loosely
- Remove the protective film covering the Control Arm screws and spread the Control Arm.

- Make sure both the valve and the Water Main Shut-Off are in “open” position (where handle is inline with the pipe, not at a right angle to it) and slide the Control Arm around the valve’s handle (See Figure 3)
- Slightly tighten the Hose Clamps around the pipe so the de-vice still remains moveable Position the bolt of the Water Main Shut-Off DIRECTLY above the bolt of the ball valve, and tighten the Hose Clamps until the Shut-Off is completely secure (See Figure 4)
- It is absolutely critical that the axes for both the valve and the Water Main Shut-Off are aligned. Improper installation will result in unreliable performance. Examine Figure 4 for more details or please visit www.domeha.com/support if you require further assistance.


- Squeeze the Control Arm close around the valve handle and secure it tightly with the four screws previously covered by the protective film.
- To test for proper installation, power up the device and press the Open/Close Button. The motor will engage and your valve will close.
Override Operation
The Water Main Shut-Off can be operated manually in the event of a power outage, loss of communication with your Z-Wave Hub, or some other emergency. Follow these instructions to manually operate the Shut-Off:
- Unplug the power from your device
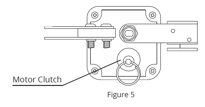
- Locate the Motor Clutch on the underside of your device (See Figure 5) and pull it outward by the keychain ring. The Control Arm will disengage from the motor and move freely

NEED HELP? CONTACT DOME CUSTOMER SERVICE
If you have questions, our trained Customer Service Department is happy to assist you Phone sup-port hours: 8am to 10pm ET, Monday to Friday ; 8am to 4pm ET, Saturday & Sunday. Contact Dome Customer Service as follows:
- In North America dial: 1-888-806-8288
- Email: Dome at [email protected].
DO NOT RETURN THIS PRODUCT TO THE STORE OR WEBSITE FROM WHICH IT WAS PURCHASED
If you believe the product is defective, has a missing or broken part or are having difficulty with it please contact Dome as listed above for a quick and efficient solution to the problem.
Legal Notices: This device complies with part 15 of the FCC rules.
Operation is subject to the following two conditions:
- This device may not cause harmful interference, and
- This device must accept any interference received, including interference that may cause undesired operation.
Note: This equipment has been tested and found to comply with the limits for a Class B digital device, pursuant to part 15 of the FCC Rules. These limits are designed to provide reasonable protection against harmful interference in a residential installation. This equipment generates, uses and can radiate radio frequency energy and, if not installed and used in accordance with the instructions, may cause harmful interference to radio communications.
However, there is no guarantee that interference will not occur in a particular installation. If this equipment does cause harmful interference to radio or television reception, which can be deter-mined by turning the equipment off and on, the user is encouraged to try to correct the interference by one or more of the following measures:
- Reorient or relocate the receiving antenna;
- increase the separation between the equipment and the receiver;
- connect the equipment into an outlet on a circuit different from that to which the receiver is connected.
- Consult the dealer or an experienced radio/TV technician for help.
This device complies with Industry Canada license-exempt RSS standard(s).
Operation is subject to the following two conditions:
- This device may not cause interference, and
- This device must accept any interference, including interference that may cause undesired operation of the device.
Changes or modifications not expressly approved by the party responsible for compliance could void the user’s authority to operate the equipment
STATEMENT OF WARRANTY : 1 Year Limited Warranty
Elexa Consumer Products will not honor the warranty if the product is purchased through an unauthorized seller.Elexa Consumer Products, Inc. (”ECP”) warrants to the original retail purchaser (”Purchaser”) that the Dome Water Main Shut-Off (the “Product”) will be free of defects in materials or workmanship under use for one (1) year from the date of purchase (the “Warranty period”).
For the Purchaser only, if the Product fails to perform as specified during the Warranty Period due to defective parts or faulty workmanship, ECP will repair or replace the defective or damaged parts of the Product. Normal wear and tear is not covered nor is abnormal use, misuse, mishandling, faulty installation, improper shipping, damage caused by disasters such as fire, flood or earthquake, neglect, accident or tampering. This warranty covers only normal use in the United States or Canada.
To obtain warranty service during the Warranty Period, call Dome Customer Service (1-888-806-8288) or email: [email protected] for instructions on sending damaged parts and documentation for a Return Merchandise Authorization (RMA). Products returned to ECP for repair or replacement without authorization will be returned at the sender’s expense. All warranty claims must be accompanied by a legible copy of the original receipt showing date and details of purchase. ECP will repair or replace defective parts and return them at ECP’s cost by a shipping method selected by ECP. When contacting ECP to obtain an RMA, Purchaser may request expedited return shipping at Purchaser’s expense. THIS WARRANTY IS NOT TRANSFERABLE, AND, TO THE MAXIMUM EXTENT PERMITTED BY APPLICABLE LAW IS IN LIEU OF ALL OTHER WARRANTIES, REPRESENTATIONS AND CONDITIONS, EXPRESSED OR IMPLIED, STATUTORY OR OTHERWISE, INCLUDING BUT NOT LIMITED TO THE IMPLIED WARRANTIES OF MERCHANTABILITY AND FITNESS FOR A PARTICULAR PURPOSE. NO OTHER PERSON OR REPRESENTATIVE IS AUTHORIZED TO MAKE ANY OTHER WARRANTY ON BEHALF OF ECP OR ASSUME FOR ECP ANY OTHER LIABILITY IN CONNECTION WITH THE SALE OF THIS PRODUCT. IN NO EVENT WILL ECP BE LIABLE FOR ANY DAMAGES, INCLUDING BUT NOT LIMITED TO INCIDENTAL, SPECIAL OR CONSEQUENTIAL DAMAGES ARISING OUT OF THE USE OR INABILITY TO USE THE PRODUCT, INCLUDING DAMAGES DUE TO ECP’S NEGLIGENCE.THIS WARRANTY GIVES YOU SPECIFIC LEGAL RIGHTS, AND YOU MAY ALSO HAVE OTHER RIGHTS WHICH VARY FROM STATE TO STATE AND COUNTRY TO COUNTRY.
©2022 Elexa Consumer Products, Inc.
- Address: 126 E. Wing St, Suit 379 Arlington Heights, IL 60004
- Website: www.domeHA.com
FCC ID: VII-DMWV1
IC: 22838-DMWV1



















