Paul Neuhaus 832214 Q-Spider LED

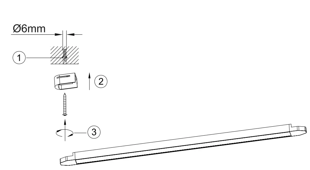
FITTING

ELECTRICAL CONNECTIONS

Paul Neuhaus GmbH
Olakenweg 36 D-59457 Werl
Telefon: 49 0 2922 9721 0
Telefax: 49 0 2922 9721 9120
E-mail: [email protected]
http://scm.paul-neuhaus.de/public/conformity/



















