
CUPCAKE MAKER INSTRUCTIONS
Model: SW-002AC4
For you safety and continued enjoyment of this product Always read these instructions before use and keep for future reference.
IMPORTANT SAFEGUARDA
When using electrical appliances especially when children are present, basic safety precautions should always be followed to reduce the risk of fire,electric shock, and/or injury to persons,including the following:
- READ ALL INSTRUCTIONS.
- Do not touch hot surfaces.Use any handles or knobs.Parts become hot during use.
- To protect against electrical shock,do not place cord,plug or appliance in water or other liquid.
- This appliance should not be used by children.Close supervision is necessary when any appliance is operated near children.
- Do not leave appliance unattended while in use.
- Unplug from outlet when not in use and before cleaning.Allow to cool before cleaning and putting on or taking off parts.
- Do not operate any appliance with a damaged cord or plug,or after the appliance malfunctions or has been damaged in any manner.
Return appliance to the nearest authorized service facility for examination,repair or adjustment. - The use of accessory attachments not recommended by the appliance manufacturer may result in fire,electrical shock or injury.
- Do not use outdoors.
- Do not let cord hang over edge of table or counter,or touch hot surfaces.
- Do not place on or near a hot gas or electric burner or in a heated oven.
- Extreme caution must be used when moving an appliance containing hot oil or other hot liquids.
- Do not use the appliance for other than its intended use.
- To disconnect remove plug from wall outlet.
- This appliance has a polarized plug (one blade is wider than the other). To reduce the risk of electric shock, this plug is intended to fit into a polarized outlet only one way. If the plug does not fit fully into the outlet, reverse the plug. If it still does not fit, contact a qualified electrician. Do not attempt to modify the plug in any way.
- A short power-supply cord is to be provided to reduce the risk resulting from becoming entangled in or tripping over a longer cord.
- Extension cords may be used if care is exercised in their use.
- If an extension cord is used:
1) The marked electrical rating of the cord or extension cord should be at least as great as the electrical rating of the appliance;
2) The longer cord should be arranged so that it does not drape over the countertop or table top where it can be pulled on by children or tripped over unintentionally.
SAVE THESE INSTRUCTIONS
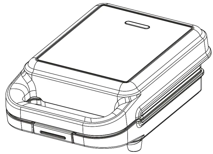
PARTS IDENTIFICATION

- Handle
- Upper Housing
- Power Light
- Handle Lock
- Bottom !lousing
- Upper Non-stick Plate
- Bottom Non-stick Plate
BEFORE FIRST USE
- Read all these instructions carefully before first use and keep for future reference.
- Remove all packaging materials and dispose of responsibly.
- Before turning on the Cupcake Maker. Clean the cooking plates by wiping with a damp sponge or cloth. DO NOT IMMERSE THE APPLIANCE UNDER WATER OR RUN THE APPLIANCE UNDER A FAUCET TO CLEAN.
- Dry the cooking plates with a soft dry towel or cloth.
- For best results before adding any mixture into the moulds always spray the cooking plates with a light cooking oil, this will help the cupcake to release cleanly from the moulds. NOTICE: When the Cupcake Maker is switched on for the first time it may emit an odour. This is normal for the appliance and does not affect the safety of the appliance.
HOW TO USE
- In a closed state plug the power cord of the Cupcake Maker into a 120V power outlet. The power light will illuminate on the top of the Cupcake Maker indicating that it is heating up.
- After approx. 5 minutes the power light will switch off indicating that the Cupcake Maker has reached the optimum temperature to start baking your cupcakes.
- Disengage the handle lock and open the Cupcake Maker by its handle. Into the base cooking plate ladle in the cupcake mix of your choice and fill the moulds on the base plate leaving around ‘A” space to the top of the mould.
- Carefully close the top lid down onto the base and engage the locking handle. In this closed state the power light will illuminate again to indicate that the cupcakes are starting to bake.
- Bake for an initial 2.5-5 minutes (or when the power light switches off) and then checkupon the cupcakes, if they are ready remove or if they require longer again lower the lid, lock in place and continue baking. Regularly check on progress to ensure you get the even bake that suits your taste.
- When your bake is done unplug the Cupcake Maker from its power outlet, this will cut the heating power to the Cupcake Maker and allow your cupcakes to start to cool.
IMPORTANT: With the lid open allow you cupcakes to cool in the Cupcake Maker for an initial period by removing too early they may not have time to settle and form completely. - Remove the cupcakes carefully using a non-metallic spatula (not included). Do not use metal or hard objects these may scratch or damage the cooking plates.
- Allow the cupcake maker to fully cool down before washing and storing.
CLEANING AND CARE
- Suitable for hand cleaning only. Not suitable for Dishwasher use. Never immerse the unit in water or run directly under the faucet when cleaning.
- To remove food residue and once the Cupcake Maker cleaning plates are cool wipe with a soft cloth or towel. Do not use harsh or abrasive cleaning materials or chemical cleaners.
- Harder to remove stains or deposits can be treated by spot cleaning with a warm damp cloth and then wiped off using a non-scratch scouring pad.
- The outside surfaces of the Cupcake Maker can be wiped down with a soft damp cloth.
STORAGE
- Always unplug the Cupcake Maker before storage.
- Always make sure the Cupcake Maker is cool and dry before string.
SYNERGY LIMITED WARRANTY
This Synergy limited one (1) year warranty is subject to the following terms:
What Is Covered
Your product is warranted against original defects in material and workmanship for a period of one (1) year from the date of purchase, when used for household purposes in accordance with the owner’s manual, with a valid proof of purchase. A valid proof-of-purchase is a receipt specifying item, date purchased, and cost of item. A gift receipt with date of purchase and item is also an acceptable proof of-purchase. This warranty provides, at no extra cost to you, all labor and parts to repair or replace, at our discretion, any part which proves defective during the warranty period. Shipping and handling charges may apply.
What Is Not Covered
Synergy shall not be liable for costs incurred as a result of:
- Use of parts not in accordance with the owner’s manual.
- Careless operation or handling, misuse, abuse and/or lack of maintenance or use not in accordance with the owner’s manual.
- Repairs or alterations carried out by unauthorized parties or agents.
- Use of the product other than for normal domestic purposes within the United States, g. for commercial or rental purposes.
Warranty Service
- Service under this warranty will not extend the period of this warranty. To obtain service under the terms of this warranty, please call Synergy Toll Free at 866-243-6860
- or via email at [email protected]
Warranty Limitations and Exclusions
- Any implied warranties relating to your product, including but not limited to warranty of merchantability or warranty of fitness for a particular purpose, are limited to the duration of this warranty. This limitation is not allowed by some states and so this limitation may not apply to you.
- Your remedy for breach of this warranty is limited to the warranty service described above. Synergy will not be liable for any consequential damages or incidental damages you may incur in connection with a breach of this warranty or any implied warranty on this product. This limitation is not allowed by some states and so this limitation may not apply to you.
- The retailer is not a co-warrantor of this warranty.
- This warranty gives you specific legal rights. You may also have other rights which vary by state.
- This warranty extends only to the original consumer purchaser and is not transferable.
Synergy
Warranty Dept.
3850 Air Park St
Memphis, TN 38118
OVC Inc. 1200 Wilson Drive. West Chester. PA 10380.
QVC SKN. 1(67489 D67 000:K67489 848 0004(67489 849 030:K67489 850 000
Made in China


















