glitzhome 2010200031 Set of 3 Wooden and Metal Snowman Yard Stake

HARDWARE UST
| CODE | PARTS | QTY. | CODE | PARTS | QTY. |
| A | ![]() | 1PC | C | ![]() | 1PC |
| B | ![]() | 1PC | D | ![]() | 3PCS |
| E | ![]() | 3PCS |
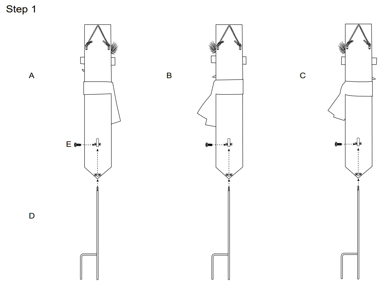
ASSEMBLY INSTRUCTIONS

Customer Support
Get social with us and discover more about our product tips and exclusive discounts






















