glitzhome 2010200032 Lighted Wooden Santa Stop Here Yard Stake Christmas Yard Decor Instruction Manual
ASSEMBLY INSTRUCTION
Step 1
Step 2
Step 3
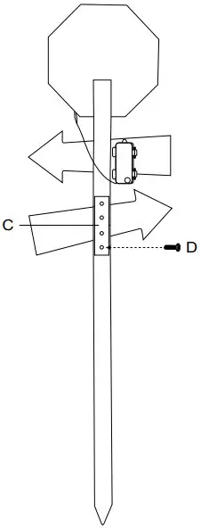
HARDWARE LIST
| CODE | PARTS | QTY |
| A | ![]() | 1PC |
| B | 1PC | |
| C | 1PC | |
| D | ![]() | 4PCS |
Get social us and discover more about our product tips and exclusive discounts
Glitzhome Corporation (Shanghai), Ltd.
Toll free 888-357-7263
[email protected]



















