VONROC HF502AC 4.5 Liter Humidifier
Product Information
The Humidifier 4.5 Liter (Model No. HF502AC) is a portable device designed to increase the humidity level in indoor spaces. It is suitable for use in homes, offices, and other indoor environments. The humidifier has a water tank capacity of 4.5 liters and operates on a power supply of 230V~ with a frequency of 50Hz. It consumes 25W of power during operation. The product features a double insulation design, making it a Class II machine and eliminating the need for an earthed plug. It is designed for indoor use only and should not be used near inflammable liquids or gases, heat sources, or in particularly humid rooms like bathrooms or swimming pools. The humidifier is compliant with applicable safety standards in the European directives.
Usage Instructions
- Read the enclosed safety warnings, additional safety warnings, and instructions before using the humidifier. Failure to follow the safety warnings and instructions may result in electric shock, fire, or serious injury. Save them for future reference.
- Place the humidifier on a hard, flat, and level surface before operation.
- Ensure that the mains cable is not damaged or contains enough liquid. If any damage is observed, shut down the humidifier immediately and unplug the power plug. Only authorized service organizations should carry out maintenance.
- Do not place any objects into the device to avoid damage or injury.
- Clean the water tank every three days using distilled white vinegar.
- Avoid placing the humidifier on carpets or rugs. Only place it on water-resistant surfaces.
- Avoid placing the humidifier near heat sources such as stovetops, ovens, or radiators.
- Do not allow absorbent materials like carpeting, curtains, drapes, or tablecloths to become damp or wet. If dampness occurs, turn down the output volume of the humidifier. If the output volume cannot be adjusted, use the humidifier intermittently.
- Do not allow children to play with the humidifier. Children aged 8 years and above can use it under supervision or with proper instruction.
- Regularly regulate and clean the appliance as per the user manual. Do not perform any user maintenance without supervision.
- Avoid storing the humidifier in environments where biological organisms may grow, such as damp or humid areas. Store it in a cool and dry place outside the reach of children.
SAFETY INSTRUCTIONS
Read the enclosed safety warnings, the additional safety warnings and the instructions. Failure to follow the safety warnings and the instructions may result in electric shock, fire and/or serious injury. Save the safety warnings and the instructions for future reference.
The following symbols are used in the user manual or on the product:
- Read the user manual.
- Immediately remove the mains plug from the mains if the mains cable becomes damaged and during cleaning and maintenance.
- Indoor use only.
- Class II machine – Double insulation –
- You don’t need any earthed plug.
- Do not dispose of the product in unsuitable containers.
- The product is in accordance with the applicable safety standards in the European directives.
- Clean the water tank every three days.
ADDITIONAL SAFETY WARNINGS FOR HUMIDIFIER
This appliance can be used by children aged from 8 years and above and persons with reduced physical, sensory or mental capabilities or lack
of experience and knowledge if they have been given supervision or instruction concerning use of the appliance in a safe way and understand the hazards involved. Children shall not play with the appliance. Cleaning and user maintenance shall not be made by children without supervision.
- Children should be kept away unless continuously supervised to ensure that they do not play with the humidifier.
- Children shall not plug in, position, operate, regulate and clean the appliance or perform user maintenance.
- Do not move while using.
- DO NOT cover the nozzle with your hand or any other objects when the humidifier is on to avoid damage to the product or injury.
- If the humidifier has abnormal sound or smell during operation, shut down immediately and unplug the power plug. If maintenance is required, it must be carried out by service organization.
- Remove the water from the tank before moving the device.
- Do not use the device if the water tank is empty or does not contain enough liquid.
- Unplug the power plug when filling the water an cleaning.
- Do not add hot water above 40 °C to the sink and water tank to avoid discoloration or deformation.
- Do not use the device in rooms where inflammable liquids or gases are stored, close to heat sources or in particularly humid rooms like the bathroom, shower or swimming pool.
- To prevent malfunctions, never insert strange objects into the device.
- Do not touch the power cord with wet hands.
- Clean and dry the device before storage (including the removal of all water from the inside of the device). Store the machine in a cool and dry place outside the reach of children.
- Aways make sure the humidifier is placed on a hard, flat, level surface before operation.
- Do not use detergents to clean the humidifier. Only use distilled white vinegar.
Do not allow water or other liquids come into the air outlet. - Do not place the humidifier directly on floors, carpets or rugs. Only place on water-resistant surfaces.
- Do not place the humidifier near sources of heat, such as stovetops, ovens or radiators.
- Be aware that high humidity levels may encourage the growth of biological organisms in the environment.
- Do not permit the area around the humidifier to become damp or wet. If dampness occurs, turn the output of the humidifier down. If the humidifier output volume cannot be turned down, use the humidifier intermittently. Do not allow absorbent materials, such as carpeting, curtains, drapes, or tablecloths, to become damp.
- Unplug the appliance during filling and cleaning.
- Never leave water in the reservoir when the appliance is not in use.
- Empty and clean the humidifier before storage. Clean the humidifier before next use. Warning: Micro-organisms that may be present in the water or in the environment where the appliance is used or stored, can grow in the water reservoir and be blown in the air causing very serious health risks when the water is not renewed and the tank is not cleaned properly every 3 days.
- Empty the tank and refill every third day. Before refilling, clean it with fresh tap water or cleaning agents if required by the manufacturer. Remove any scale, deposits, or film that has formed on the sides of the tank or on interior surfaces, and wipe all surfaces dry.
Electrical safety
When using electric machines always observe the safety regulations applicable in your country to reduce the risk of fire, electric shock and personal injury. Read the following safety instructions and also the enclosed safety instructions.
- Always check that the voltage of the power supply corresponds to the voltage on the rating plate.
- If the supply cord is damaged, it must be replaced by the manufacturer, its service agent or similarly qualified persons in order to avoid a hazard.
MACHINE INFORMATION
Intended use
The cool mist humidifier is intended for indoor, non-commercial, household use for increase of humidity (moisture) in residential rooms.
This improves the air quality and prevents the mucous membranes and skin from drying out. The humidifier can be used in enclosed rooms in a free standing position to humidify the environment. The humidifier may only be used completely assembled standing vertically on a stable surface. It incorporates an auto shut off when running out of water or when the water tank is lifted up.
TECHNICAL SPECIFICATIONS
| Model No. | HF502AC |
| Power supply | 230 V~ |
| Frequency | 50 Hz |
| Power consumption | 25 W |
| Water tank capacity | 4.5 L |
| Spray capacity levels | 100-220 ml/H |
| Effective area | 10 m² |
| Rotatable nozzle | 360° |
| Timer | 1 – 12 hours |
DESCRIPTION
The numbers in the text refer to the diagrams on page 2-3








- Control panel
- Base
- Water tank
- Water tank cover
- Aroma oil tray
- Mist nozzle
- Ceramic ball filter (optional)
- Mist tube
- Foam packaging (remove)
- Air intake
- Float valve
- Float ball
- UV light
- Oscillator
- ON/OFF button
- Humidity button
- Mist button
- UV button
- Timer button
- Sleep button
OPERATION
Check the device for damage before use and only use in good working condition.
Placing the humidifier
- Do not place the humidifier on an inclined or other unstable place, so as to prevent the humidifier from falling over and causing damage to the base (2) or internal parts of the humidifier.
- Do not place the humidifier within the reach of children.
- Place the humidifier away from furniture and other electrical appliances and avoid spraying the mist directly on the furniture or other electrical appliances to make them damp.
- It is strictly forbidden to use the humidifier in an environment with flammable and explosive gases.
- Do place the humidifier near open flames and heat sources, such as stoves, ovens, radiators or computers.
- Do not place the humidifier in direct sunlight.
- To prevent interference and damage to other electronic devices, this machine should be placed at least 1 meter away from a computer, television, radio or other electronic equipment.
- The humidifier should be placed in a normal indoor temperature environment to avoid damage of humidifier.
- This humidifier is only for indoor use.
- Put your humidifier in relatively easy access areas. Place it where you can actually attend to it if servicing is necessary. Make sure to clean your humidifier frequently. Change the water regularly because if you do not do that, chances of the bacteria can grow inside the water that will vaporize in the air and can lead to some serious health problems.
Maintain the indoor humidity level and avoid going over 60%, ideally between 40-60%, if possible. There are some instances that which humidity or dampness in the air can produce enough moisture for molds and mildew to grow.
Setting up the remote control
Pull the plastic film from the battery compartment (Fig. F). The battery is now active and you can use the remote control.
Changing the battery (Fig. G)

- Push the release button inwards and pull the battery casing out. Remove the old battery.
- Insert 1x CR2025 3V battery into the battery casing ensuring you follow the polarity (+ and -) marking on the casing.
- Slide the battery casing back into the remote control unit. You hear it click firmly into place.
Starting the humidifier
- 1. Lift up the mist nozzle (6), aroma oil tray (5) and water tank cover (4) from the water tank (3). Separate the base from the water tank (Fig. A).
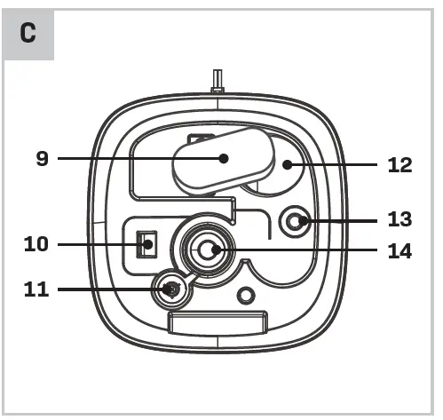
- 2. In the base, remove the foam packaging (9) from the float ball (Fig. C).
3. Place the water tank (3) on the base (2).
4. Push the filter (7, optional) into the filter slot in the bottom of the water tank (Fig. B).
5. Fill the water tank (3) with clean water (no warmer than room temperature). The tank takes approximately 4.5L of water.
NOTE: We recommend to use distilled water to prevent the buildup of scale that will occur if tap water is used.
6. Put the water tank cover (4) and mist nozzle
(6) back onto the water tank (3). Wipe off any excess water from the exterior.
NOTE: If the humidifier has been stored in a particularly cool place i.e. below 5°C, wait 30 minutes to warm up before tuning it on.
Using the humidifier (Fig. D)

- Connect the power cable to a socket outlet.
- Touch the ON/OFF button (15) to turn on the humidifier. Every time you turn on the humidifier, the default level mist will turn on and the current room humidity will display.
- Touch the Mist button repeatedly to select one of the mist settings:
Display indicates Meaning 


High level mist 

Medium level mist 
Low level mist NOTE: When you are in setting mode the display flashes. To confirm a setting, touch any button for a few seconds and the display will stop flashing.
- Touch the humidity button (16) repeatedly to select the humidity level from 40% to 80% in increments of 5%. The mist will turn on and off as necessary to maintain the set humidity level. To turn off the humidity function, touch the humidity button one more time after 80%. The display will show the current humidity level.
- Touch the UV button (18) to turn on the UV function. The UV button turns blue when this function is on. Touch the UV button again to turn it off.
- To set the humidifier to turn off in 1 to 12 hours. Touch the time button (19) repeatedly to select: 1H until 12H. To turn off the timer function, touch he timer button once more after 12H.
- Touch the Sleep button (20) to turn on the sleep function. The sleep button will dim and all other buttons will no longer display. Touch the Sleep button again to turn off the sleep function. The LED screen will resume full brightness.
- To redirect the mist, manually rotate the mist nozzle (6) on the top of the humidifier in any direction (360°).
- When the water level is low, the control panel (1) will flash 8888 10 times. Make sure you refill the water tank or turn off the appliance. If the water level is too low for a prolonged period, the humidifier’s inbuilt protection will turn off the humidifier.
- To turn off the humidifier at any time, touch the ON/OFF button (15) until the LED screens turns off. The ON/OFF button (15) will remain visible until you unplug the unit.
- To fully turn off the humidifier, remove the plug from the mains socket.
Using the remote control (Fig. E)
The remote control buttons function the same way as the buttons on the humidifier’s control panel. See the chapter ‘using the humidifier’ for more information on the buttons.

Using the aroma oil diffuser (Fig. A)
Always make sure the humidifier is turned off before adding aromatherapy or essential oil.

- Unclip the aroma oil tray (5). If not already installed, insert the aroma oil pad onto the inside of the aroma oil tray.
- Add the aromatherapy or essential oil until the aroma oil pad is soaked. If some oil spills out the aroma oil tray, wipe it up before proceeding.
- Put the aroma oil tray (5) back and place back. Then turn on the humidifier.
Do not add the aromatherapy or essential oil directly in the water tank.
MAINTENANCE
Before cleaning and maintenance, always switch off the machine and remove the mains plug from the mains.
Always remove the plug from the socket when the device is not being used.
Cleaning and care
- Do not immerse the base or power cord in water/liquids or allow moisture to come into contact with these parts.
- Never use solvents, bacteriostat, chemical or abrasive cleaning agents, wire burses, sharp objects or scouring pads to clean the appliance. Clean the appliance every 2 to 3 days to remove any film or scale build-up.
- Regular cleaning increases the lifespan of the humidifier.
- Always clean the appliance before storing it for a long time.
- Store the appliance in its original packaging or in a cool, dry & dust free environment.
- Keep the unit away from direct sunlight.
Cleaning the aroma oil tray and base (Fig. H)

- Unclip the aroma oil tray, remove aroma oil pad and wash in warm soapy water.
- Use a damp cloth to clean the outside of the base.
- Reassemble only when all parts are thoroughly dry.
Cleaning the water tank
- Lift off the mist nozzle (6) and water tank cover (4). Separate the base (2) from the water tank (3).
- Lift out the ceramic ball filter (7) in the bottom of the water tank. Remove it and rinse well in water.
- Use a solution of 1 part vinegar to 3 parts water to clean the mist nozzle (6) and water tank (3). Clean the ceramic surface of the oscillator (14) in the base (2) with a soft toothbrush. Make sure you remove all scale.
- Rinse the items thoroughly using a clean cloth. Wipe any deposits and excess water from the parts and dry thoroughly.
- Reassemble the humidifier.
NOTE: Clean the water tank, water tank cover and mist nozzle with vinegar once a week.
Replacing the filter
- Remove the mist nozzle (6) from the water tank (3).
- Lift the ceramic ball filter (7) off the filter slot.
- Place the new ceramic ball filter onto the filter slot until it is firmly secured into place.
- Reassemble the humidifier.
NOTE: Replace the filter every 500 hours working time under normal circumstances.
Keep the descaling agent away from children.
Keep the descaling agent out of your mouth and eyes. If you accidently touch the descaling agent, wash with tap water immediately.
Do not scratch the transducer with hard objects.
Cleaning the humidifier housing
Put the soft cloth in warm water below 40°C, then remove surface stains using the soft cloth. Rinse the mist outlet (8) with water directly; do not use alcohol, acetone and other organic solvents to clean the unit.
TROUBLESHOOTING
If your humidifier is not working properly, check the following before calling for service.
The appliance may be dirty. Clean the water tank and its parts (see Cleaning and care).- Replace the old water in the tank with freshdistilled water.
| Problem | Possible cause | Treatment |
| Check the power | ||
| The appliance will not turn on. | The power cord or plug is loose or not connected. | cord and plug. Make sure they are firmly connected to the base and mains socket, |
| respectively. | ||
| The appliance is not working. |
|
|
| Clean if necessary (see Cleaning and care). If damaged, take the appliance to a qualified service provider for repair. | ||
| The mist has an odor. |
ENVIRONMENT
Faulty and/or discarded electrical or electronic apparatus have to be collected at the appropriate recycling locations.
Only for EC countries
Do not dispose of power tools into domestic waste. According to the European Guideline 2012/19/EU for Waste Electrical and Electronic Equipment and its implementation into national right, power tools that are no longer usable must be collected separately and disposed of in an environmentally friendly way.
WARRANTY
VONROC products are developed to the highest quality standards and are guaranteed free of defects in both materials and workmanship for the period lawfully stipulated starting from the date of original purchase. Should the product develop any failure during this period due to defective material and/or workmanship then contact VONROC directly.
The following circumstances are excluded from this guarantee:
- Repairs and or alterations have been made or attempted to the machine by unauthorized service centers;
- Normal wear and tear;
- The tool has been abused, misused or improperly maintained;
- Non-original spare parts have been used.
This constitutes the sole warranty made by company either expressed or implied. There are no other warranties expressed or implied which extend beyond the face hereof, herein, including the implied warranties of merchantability and fitness for a particular purpose. In no event shall VONROC be liable for any incidental or consequential damages. The dealers remedies shall be limited to repair or replacement of nonconforming units or parts.
The product and the user manual are subject to change. Specifications can be changed without further notice.
DECLARATION OF CONFORMITY
HF502AC – HUMIDIFIER 4.5 LITER
We declare under our sole responsibility that this product is in conformity with directive 2011/65/EU of the European parliament and of the council of 8 June on the restriction of the use of certain hazardous substances in electrical and electronic equipment is in conformity and accordance with the following standards and regulations:
EN 60335-1, EN 60335-2-98, EN 62233, 2014/35/EU, EN 55014-1, EN 55014-2,
EN 61000-3-2, EN 61000-3-3, 2014/30/EU, 2011/65/EU, 2012/19/EU
©2023 VONROC
WWW.VONROC.COM
2303-29





















