H7141 Govee Smart Humidifier

Safety Instructions
- Only use the humidifier as described in this manual.
- When not in use for an extended period, turn the humidifier off and disconnect the plug from the outlet. Do not use the humidifier in wet environments.
- Keep the humidifier out of reach from children.
- Do not attempt to disassemble the humidifier or its components.
- Always unplug the humidifier from power before cleaning it or detaching the water tank from the humidifier base.
- Always place the humidifier on a flat, horizontal surface before using.
- Only fill the water tank with clean water. Never fill the water tank with any other liquids.
- Do not place the humidifier near heat sources such as stovetops, ovens, or radiators.
- Do not place the humidifier directly on carpets or rugs.
- Do not use non-Govee humidifier parts as replacement parts for this product.
- Do not cover the nozzle while the humidifier is on, as this may damage the humidifier.
- Remove the water tank from the base before moving the humidifier.
- Do not immerse the humidifier base, power cord, or power plug in water.
- If the humidifier is damaged or is not functioning properly, stop using it and contact
- Customer Support immediately.
- Not for commercial use. Household use only.
- To reduce the risk of fire, electric shock, or other injury, always follow all instructions and safety guidelines.
Power Cord & Plug
- Ensure that the plug fits properly into a polarized outlet.
- Do not handle the power cord or plug with wet hands. Keep the power cord and plug away from liquids. Your humidifier has a polarized plug (one prong is wider than the other), which fits into a polarized outlet in only one orientation.
- This is a safety feature to reduce the risk of electric shock. If the plug does not fit, reverse the plug to the correct orientation. If it still does not fit, do not bypass this safety feature and try forcing the plug into the outlet; instead, do not use it with the outlet.
Risk of Leaks and Electric Shock
- Do not add essential oils, supplemental water treatment liquids, or water filters into the water tank or base chamber, as this may damage the humidifier and cause leaks.
- Only add essential oils to the aroma pad.
Package Includes
Item
- Smart Humidifer 1
- Cleaning Brush 1
- Aroma Pads (1 Pre-Installed) 3
- Quick Start Guide 1
- User Manual 1
Specifications
- Power Supply AC 120V, 60Hz
- Rated Power 20W
- Water Tank Capacity 0.79 gal/3L
- Max Run Time (Low Mist Setting) Up to 30 hours
Note: The humidifier may run for a longer or shorter time depending on the environmental temperature and humidity. - Noise Level ≤ 28dB
- Effective Range 107–290 ft²/10–27 m²
- Dimensions 6.7x 6.7×11.6 inches/17x17x29.5cm
- Weight 2.65 lb/1.2kg
Getting to Know Your Smart Humidifier
- a. Mist Nozzle
- b. Water Tank Cover
- c. Max Water Line (Tank)
- d. Water Tank
- e. Mist Tube
- f. Filter
- g. Base
- h. Air Outlet
- i. Micro Switch
- j. Indicator Light
- k. Power Button
- l. Transducer
- m. Transducer Heat Sink
- n. Float
- o. Float Brackets
- p. Aroma Box
- q. Aroma Pad
- r. Air Inlet
- s. Screw Nut
- t. Noise Silencer
- u. Power Cord
- v. Cleaning Brush
Getting Started
- Remove all packaging, tape, and protective foam before first use.

- Place the humidifier on a hard, flat, water-resistant surface. The humidifier should be at least 12 inches/ 30cm away from any walls.

- Mist should be directed away from walls, furniture, bedding, and appliances.

Filling with Water
- Remove the water tank cover by holding the tank cover and pulling upward.
- Remove the tank from the base. Fill the tank with room-temperature water. Do not fill with hot water.
Note:
- We recommend using purified or distilled water to fill the tank.
- Do not fill past the tank’s max water line.

- Do not add water or essential oils directly into the base chamber.

- Do not add water or essential oils directly into the mist tube.

- Do not add essential oils directly into the humidifier. Only add essential oils to the aroma pad.

- Do not use water treatment liquids or third-party water filters with this humidifier.
Reattach the water tank cover and place the tank back on the base. 
Using Your Smart Humidifier
Note:
Besides the on-device buttons, Govee Home App can also be used to control the below functions (as well as other app functions).
Functions & Controls
- Plug in your humidifier. Press the Power Button repeatedly to cycle through the following mist settings: Custom Mode, High, Low, and Off.
- During the pairing process, follow in-app instructions to press the Power Button to connect the humidifier with Govee Home App. Press the Power Button for 10 seconds to restore the humidifier to factory settings and disconnect it from Bluetooth and Wi-Fi network.
Note:
- Custom Mode: The humidifier will produce mist at the high and the medium setting, before switching to the low setting.
- Auto Mode: When connected to a Govee thermometer hygrometer, the humidifier will adjust its mist according to the humidity value provided by the thermohygrometer.
- When detaching the tank from the base: The humidifier’s fan will stop within 5 seconds and mist will stop being produced. If the tank is properly placed back onto the base within 3 minutes, the
humidifier will continue working; if not, the humidifier will automatically turn off. - No water left in the tank: The humidifier will stop producing mist when there is not enough water in the tank. The fan will stop working within 5 seconds. Once sufficient water is added back into the tank, the humidifier will restart after the Power button is pressed.
Rotate the nozzle to adjust mist direction.
Press the Power Button to turn off the humidifier.
LED Indicators
Working Status Working Status
- High mist High Mist indicator light shows solid blue
- High mist High Mist indicator light shows solid blue
- Low mist Low Mist indicator light shows solid blue
- Tank is detached from base High/Low Mist indicator lights flash red and dim in 3 minutes
- No water left in the tank High/Low Mist indicator lights show solid red and dim in 3 minutes
- Custom mode or Auto mode High/Low Mist indicator lights show solid blue
- Display off All indicator lights dim
- Ready for Wi-Fi connection Wi-Fi indicator light slowly flashes blue
- Wi-Fi connecting Wi-Fi indicator light quickly flashes blue
- Wi-Fi connected Wi-Fi indicator light shows solid blue
Pairing Your Smart Humidifier with Govee Home App
Due to ongoing updates and improvements, Govee Home App’s interface and features may be slightly different than those shown in the manual. In case of differences, follow the
in-app instructions.
- To download Govee Home App, scan the QR code or search for “GOVEE” in the Apple App Store (iOS devices) or Google Play Store (Android devices)

Note: Choose “Allow” to the permissions requested when opening Govee Home App for the rst time. - Turn on your smartphone’s Bluetooth.
- Open Govee Home App, tap the “+” icon in the top right corner, and search for “H7141.”
- Tap the device icon and follow the on-screen instructions to complete pairing.
Note: You can use Govee Home App to connect your smart humidifier to Amazon Alexa or Google Assistant. Follow the in-app instructions to connect Govee Home App to each voice assistant.
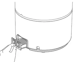
Using the Aroma Box
- Pull out the aroma box from the back of the base.

- Put 8 to 10 drops of essential oil on the aroma pad.

- Push the aroma box back into the humidiFer.
- Turn on the humidifier. The humidifier will automatically diFuse the essential oil.
Note:
- Do not add essential oils, water treatment liquids, or third-party water filters directly into the water tank or base chamber. Only add essential oils to the aroma pad.
- The aroma pads can be cleaned and reused after diffusing essential oils.
- The aroma effect is intended to be light. This humidifier is not a dedicated aroma diffuser.
Care & Maintenance
Cleaning the Humidifier
The humidifier should be cleaned after a week of use or before being stored away.
Cleaning Steps
- Unplug the humidifier.
- Remove and rinse the water tank cover.

- Remove the water tank from the base and pour out any water from the tank and base chamber.

- Rinse the tank and base chamber with room temperature water.

Note:
- Do not let water into the air inlet or outlet when cleaning the humidifier’s base with running water.
- If water does accidentally enter the base’s inlet or outlet, place the humidifier base in a ventilated place to dry before using.
Descaling the Humidifier
- Fill the tank with 3 cups/ 710 mL of distilled white vinegar.

- Put the tank cover on and swish the vinegar around the tank.

- Place the tank on the base and soak for 15–20 minutes. Vinegar will drain into the base chamber and loosen scale (mineral buildup) in the tank and in the base chamber (including the transducer and float).

- Remove the tank, remove the tank cover, and pour out all vinegar.

- Remove the float from the base chamber by pulling it out of the float bracket. One side of this bracket is open to allow the float’s prongs to be removed from the bracket.

Note:- It is unnecessary to remove the float for cleaning in normal circumstances.
- If the float is removed, make sure to place it back in the correct position as inaccurate positioning may cause the humidifier to leak.
- Place the float in a small container. Fill with enough vinegar to cover the float. Let it soak for 15–20 minutes.

- Use a soft cloth and the included cleaning brush to remove scale from all parts.

- Rinse all parts until the vinegar smell is completely gone.

- Dry all parts with a cloth. Make sure all parts are completely dry before reassembling or storing.
Cleaning the Aroma Pad
- Pull out the aroma box from the back of the base.

- Remove the aroma pad and rinse under warm running water.

- Dry with a clean cloth and place back into the aroma box.

Note: Do not pour liquid cleaners or detergents into the aroma pad or box.
Reassembling
The float must be correctly reconnected if removed. Inaccurate positioning may cause the humidifier to leak.
- Reinsert the float back into the base chamber.
- Lower the float into the base chamber.

- Make sure the correct side of the float is facing up.

- Place the larger prong into the open side of the float brackets.
- Lower the float into the base chamber.
- Place the tank back on the base. Refill the tank if necessary.
- Finally, place the tank cover back on the water tank.
Storing
Follow the cleaning instructions and allow all parts to dry completely before storing. Store the humidifier in a cool, dry place.
Troubleshooting
The troubleshooting section below is for solving frequently asked questions for the humidifier. If your problem persists, please contact customer support.
For Smart Humidifier


For App & Connectivity
- 1. Cannot connect to Govee Home App.
- Make sure the Bluetooth of your smartphone is enabled and your smartphone is not connected with other Bluetooth Humidifiers.
- Enable the smartphone’s Location Services.
- Try connecting with another smartphone.
- Make sure your app is updated to the latest version.
- Make sure you have connected to the 2.4GHz network, and confirm the network is working correctly.
- Make sure the Wi-Fi password you entered is correct.
- Shorten the distance between the humidifier, Wi-Fi router, and the smartphone.
- Make sure your humidifier and the Wi-Fi router are not placed near. appliances that produce electromagnetic radiation (e.g. microwave ovens, refrigerators, etc.).
- If you are using a VPN, try turning it off and then connecting the humidifier. Disable portal authentication for your Wi-Fi network. If portal authentication is enabled, this humidifier will not be able to access your Wi-Fi network, and setup will fail. Portal authentication means that you need to sign in to your Wi-Fi network through a web page before you can use
the Internet.
- Cannot find the humidifier within in nearby Bluetooth humidifiers list.
The humidifier may be connected with another smartphone. Disconnect it from the other smartphone first. - The humidifier is offline.
- Make sure the humidifier is plugged in and powered on, then refresh “My Humidifiers” in Govee Home App by swiping down on the screen.
- Make sure your router is connected to the internet, and your phone’s network connection is working.
- If the Wi-Fi password has changed, the humidifier will automatically go offline. Try connecting it to the network again.
- Delete the offline humidifier from Govee Home App, then add and reconfigure the humidifier again in the app
FCC Statement
This device complies with Part 18 of the FCC Rules. Operation is subject to the following two conditions:
- This device may not cause harmful interference, and
- This device must accept any interference received, including interference that may cause undesired operation.
Warning: Changes or modifications not expressly approved by the party responsible for compliance could void the user’s authority to operate the equipment.
Note: This equipment has been tested and found to comply with the limits for a Class B digital device, pursuant to Part 18 of the FCC Rules. These limits are designed to provide reasonable protection against harmful interference in a residential installation.
This equipment generates uses and can radiate radio frequency energy and, if not installed and used in accordance with the instructions, may cause harmful interference to radio communications. However, there is no guarantee that interference will not occur in a particular installation. If this equipment does cause harmful interference to radio or television reception, which can be determined by turning the equipment off and on, the user is encouraged to try to correct the interference by one or more of the following measures:
- Reorient or relocate the receiving antenna.
- Increase the separation between the equipment and receiver.
- Connect the equipment into an outlet on a circuit different from that to which the receiver is connected.
- Consult the dealer or an experienced radio/TV technician for help.
Customer Service
- Warranty: 12-Month Limited Warranty
- Support: Lifetime Technical Support
- Email: [email protected]
- Website: www.govee.com















































