Alza N3111 Universal Power Adapter User Manual
Safety Instructions and Warnings
Read the user manual before using the device.
Follow the safety instructions stated in the manual.
The product is designed to provide trouble-free service for many years if used properly
- Read the manual carefully before using this product.
- Do not expose the product to excessive force, impacts, dust, high temperatures or humidity – these may cause the product to malfunction or deform its plastic parts.
- Do not expose the product to rain or moisture if it is not designed for outdoor use.
- Do not use the product in close proximity to IT equipment and other electronic devices.
- Do not exceed the input voltage, or use voltage other than specified for the product. Make sure the voltage listed for the product is identical with the voltage in your area and do not short circuit the connectors.
- Do not disassemble, repair or modify the product. Have it repaired by the retailer you bought it from.
- Do not tamper with the internal electric circuits of the product
- doing so may damage the product and will automatically void the warranty.
- Do not replace any components of the product with non-original spare parts.
- To clean the product, use a slightly moistened soft cloth. Do not use solvents or cleaning agents – they could scratch the plastic parts and cause corrosion of the electric circuits.
Do not submerse the product in water or other liquids or expose it to dripping or splashing water. - This product may be used by persons with impaired physical, sensory or mental capabilities or persons without experience and knowledge only if they are supervised or instructed in the safe use of the product and understand the risks that may occur.
Instruction manual
Adjustable pulse power supply N3111 is designed for powering appliances operating under DC voltage and maximum current of 1,000 mA and input power of 12 W-valid for plugging in power connector no. 1. Output parameters for USB connector no.2 are 5 V; 2 A.
The power supply can be used for devices with the appropriate current and input power values on their label up to a maximum value of 1,000 mA (12 W) – valid for powering using the power connector or for powering/charging smartphones or tables via the USB (no. 2). Both sockets are independent; you can use only socket 1 or socket 2 or both together.
The output voltage of the pulse power supply is stabilised – the voltagevalue is kept at the set level regardless of the load.
Technical specifications
| Input voltage, frequency and current: | 100–240 V~; 50/60 Hz; 0.45 A |
| Output voltage: | 3 V / 4.5 V / 5 V / 6 V / 7.5 V /9 V / 12 V (+/-6 %) |
| Max. output current and input power: | 1,000 mA (12 W) + USB5 V-2 A (10 W) = 22 W |
| Cable length: | ca 1.5 m |
| Power consumption without load: | <0.5 W |
| Operating temperature: | 0~40 °C |
| Dimensions: | 50 × 80 × 32 mm |
| Exchangeable power connectors: | B 3.5/15; C 3.0× 1.0/10;D 5.0× 2.1/12; G 5.5× 2.5/10;H 3.5× 1.35/10; I 4× 1.7/10;S 2.35× 0.75/8.7 |
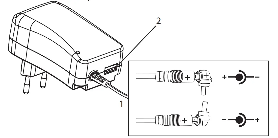
Connection procedure – socket no. 1
- . Current and input power – check the appliance’s label to make sure it uses the appropriate current and input power in mA and W. The value must be equal or lower than 1,000 mA and 12 W; valid for plugging in the cable via connector 1.
- Output voltage can be adjusted – use the turn switch to set the desired voltage based on the appliance. The turn switch is located on the bottom side of the power supply so that there is no risk of accidental switching of the voltage value during operation.
- Output connector – choose a connector suitable for your appliance (you can test by plugging into the socket in the appliance first).
- Choose the connector‘s correct polarity according to the label on your appliance. Then insert it into the socket at the end of the cable of the AC adapter. See the scheme below.

- If the appliance is not being charged or it doesn‘t work, the most probably the voltage polarity of the charging source needs to be changed. Disconnect the charging connector immediately from the socket of the charging source, turn it about 180 degrees and insert it into the cable again.
- If the appliance does not run or runs incorrectly, immediately disconnect the power supply from the appliance.
Connection procedure for socket no. 2 USB
- Socket no. 2 is a USB socket for powering/charging smartphones, tablets and other devices with the required voltage of 5 V.
- Output voltage is max. 5 V/2 A.
- Connect the USB cable–USB connector type A from your device (not included) into adapter socket no. 2.
- Connect the other end of the cable to your device (e.g. micro USB, USB-C, lighting).
- Plug the adapter into a power socket and your device will be powered /charged.
- After charging is complete, unplug the adapter from socket.

Do not dispose of electrical appliances as unsorted municipal waste; use sorted waste collection points. Contact local authorities for up-to-date information about collection points. If electrical appliances are deposited in waste landfills, hazardous substances may leak into the groundwater, enter the food chain and harm your health.
EMOS spol. s r.o. declares that product N3111 is in compliance with the essential requirements and other applicable provisions of directives.
The device can be freely operated in the EU. The Declaration of Conformity can be found at http://www.emos.eu/download.



















