Omega C2100S X-LARGECHUTE HIGH-SPEED CENTRIFUGAL JUICER

THANK YOU!
CONGRATULATIONS on the purchase of your new Omega.
At Omega, we strive to develop technologically advanced machines that help deliver nutrition and flavor of the highest kind and closest to nature’s purest form. We are driven by you, our brand supporters. Your enthusiasm helps us continue to reinvent and renew our line of juicers, high speed blenders and beverage equipment. Our team at Omega thanks you for supporting us for over 50 years!
Join us on:
INSTAGRAM@OmegaJuicing
FACEBOOK@OmegaJuicers
PRODUCT REGISTRATION, VISIT:
www.omegajuicers.com/omega-warranty-registration
RECIPES, VISIT:
www.omegajuicers.com/recipes
CUSTOMER SERVICE:
Call 1-800-633-3401
visit: www.omegajuicers.com/contact-omega-juicers
After using your Omega, we kindly ask you to rate the machine on www.OmegaJuicers.com
IMPORTANT SAFEGUARDS
- READ ALL INSTRUCTIONS BEFORE USING.
- To protect against electrical shock, do not immerse cord, plug, or main body (motor) in water or other liquid.
- Close supervision is necessary when any appliance is used by or near children.
- Unplug from outlet before assembling, before taking off parts, before cleaning and when not in use.
- Avoid contact with moving parts.
- Do not operate any appliance with a damaged cord or plug or after the appliance malfunctions or has been damaged in any manner. Return appliance to the manufacturer
(see warranty) for examination, repair, or electrical or mechanical adjustment. - The use of attachments not recommended or sold by manufacturer may cause fire, electric shock or injury.
- Do not let cord hang over edge of table or counter or touch heated surfaces.
- Always make sure juicer locking clip is locked when juicer is in operation.
- To disconnect, press/switch OFF then remove plug from wall outlet. Make sure the motor stops completely before disassembling.
- Do not put your fingers or other objects into the juicer while it is in operation. If food becomes lodged in opening, use food plunger or another piece of fruit or vegetable to push down the lodged food. When this method is not possible,turn off the machine, remove the plug from wall outlet and disassemble juicer to remove the remaining food.
- Do not use outdoors.
- Do not place on or near a hot gas or electric burner or in a heated oven.
- Do not use appliance for anything other than its intended use.
- Keep the appliance clean. Refer to the Care & Cleaning instructions in this manual.
All users of this appliance must read and understand these safety precautions before operating.
WARNING: Hazards or unsafe practices which could result in serious personal injury or death.
CAUTION: Hazards or unsafe practices which could result in minor personal injury or appliance damage.
- DO NOT PLUG IN OR UNPLUG WITH WET HANDS.
- It may cause an electric shock or an injury.
- DO NOT USE WITH OTHER THAN RATED VOLTAGE.
- It may cause an electric shock, a fire or abnormal performance.
- If the voltage is different, it may shorten the life of the motor or cause a failure.
- PLUG THE POWER CORD CORRECTLY AND PUSH IT TIGHT IN A WALL SOCKET.
- It may cause electric shock or a fire.
- IF THE SUPPLY CORD IS DAMAGED, IT MUST BE REPLACED BY THE MANUFACTURER, ITS SERVICE OR SIMILARLY QUALIFIED PERSONS IN ORDER TO AVOID A HAZARD. If the power cord is damaged, it may cause electric shock or a fire.
- NEVER ALTER THE APPLIANCE. ALSO, DO NOT DISASSEMBLE OR REPAIR BY YOURSELF. DO NOT INSERT FINGERS, FOREIGN SUBSTANCES OR OBJECTS SUCH AS PINS INTO GAPS OR HOLES IN THE BASE.
- It may cause a fire, an electric shock or a failure. For any technical support,contact the authorized local Customer Care Center.
- DO NOT MOISTEN THE BASE OR SPLASH WATER ON THE BASE.
- Be careful not to let any liquids or other substances get into the switch on the appliance.
- DO NOT OPERATE THE SWITCH WITH WET HANDS.
- It may cause electric shock or a fire.
- WHEN THE POWER CORD, WIRE IS BROKEN OR DAMAGED OR THE PLUG-IN PART BECOMES LOOSE, DO NOT OPERATE IT.
- It may cause an electric shock, a fire or an injury.
- FOR SAFETY, MUST DO GROUND CONNECTION DO NOT DO THE GROUNDING ON GAS PIPE, PLASTIC WATER PIPE, TELEPHONE WIRE, ETC.
- It could cause an electric shock, a fire, or a malfunction and an explosion. Be sure to use the socket with ground connection.
- NEVER DISASSEMBLE BOWL SET DURING OPERATION OR INSERT FINGERS, FOREIGN OBJECTS SUCH AS FORKS, SPOONS ETC. INTO FEEDING TUBE OR JUICE OUTLET.
- It may cause an injury, an accident or a failure.
- THIS APPLIANCE IS NOT INTENDED FOR USE BY PERSONS (INCLUDING CHILDREN) WITH REDUCED PHYSICAL, SENSORY OR MENTAL CAPABILITIES, OR LACK OF EXPERIENCE AND KNOWLEDGE, UNLESS THEY HAVE BEEN GIVEN SUPERVISION OR INSTRUCTION CONCERNING USE OF THE APPLIANCE BY A PERSON RESPONSIBLE FOR THEIR SAFETY.
- Children should be supervised to ensure that they do not play with the appliance.
- DO NOT OPERATE WITHOUT LOCKING THE PARTS PROPERLY.
- It may cause an injury or a failure.
- IF A GAS LEAK IS DETECTED, DO NOT PLUG IN THE APPLIANCE’S POWER CORD INTO A POWER OUTLET. IMMEDIATELY VENTILATE THE ROOM BY OPENING A WINDOW, AND ALLOW TO FULLY VENTILATE BEFORE PLUGGING IN THE APPLIANCE.
- It may cause an injury or a failure.
- IF SCREW ROTATION IS STOPPED IN NORMAL OPERATION, PRESS (REVERSE/REV) BUTTON AND HOLD FOR 2~3 SECONDS AND THEN AFTER REVERSE OPERATION IS COMPLETELY STOPPED, PRESS (ON) BUTTON AGAIN.
- If the problem continues during the operation, the parts may be damaged and performance may be deteriorated due to overheating in a motor. When the problem continues, immediately stop the appliance and contact the local Customer Care Center.
- NEVER PUT A FINGER, A FORK OR A SPOON ETC. INTO JUICE OUTLET.
- It may cause an injury or a failure.
- DURING THE OPERATION, DO NOT ATTEMPT TO MOVE THE BASE, DISASSEMBLE PARTS AND TRY TO LOCK THEM.
- It may cause an injury or a failure. Any act of event needed, switch off first and unplug the power cord.
- WHEN USING THE APPLIANCE, BE CAREFUL IF WEARING A NECKTIE, LONG NECKLACE, SCARF ETC. THAT IT DOES NOT BECOME ENTANGLED IN THE FEEDING TUBE.
- It may cause an injury, a failure or a breakage.
- PLACE THE APPLIANCE ON A FLAT AND STABLE SURFACE.
- It may cause an injury or a failure.
- DO NOT OPERATE THE APPLIANCE FOR MORE THAN 30 MINUTES AT A TIME.
- It may cause a motor failure due to overheating. Cool it down sufficiently for 5 minutes and operate it again.
- DO NOT ALLOW A SEVERE SHOCK TO THE APPLIANCE OR DROP IT.
- It may cause an electric shock, a fire or damage
- IF THE APPLIANCE GIVES OFF AN UNPLEASANT SMELL OR EXCESSIVE HEATING, SMOKE, STOP USING IMMEDIATELY AND CONTACT THE LOCAL CUSTOMER CARE CENTER.
- When using a new appliance, it gives off a smell and the smell disapears naturally over time.
- ALWAYS UNPLUG THE APPLIANCE AFTER USE.
- WHEN UNPLUGGING THE POWER CORD, MAKE SURE TO HOLD THE POWER CORD.
- If holding the wire to unplug, it may cause an electric shock or a fire.
- DO NOT WASH AT HIGH TEMPERATURES OF 176°F (80°C) OR MORE.
- DO NOT PUT THE APPLIANCE IN A DISHWASHER, A DRYER OR A MICROWAVE ETC.
- It may cause a failure or parts deformation.
- WHEN MOVING THE APPLIANCE, ENSURE TO MOVE IT HOLDING GRIPS TIGHTLY AT THE BASE BOTTOM WITH BOTH HANDS.
- If attempting to hold bowl or the edge of the base, the base falls causing an injury or a failure.
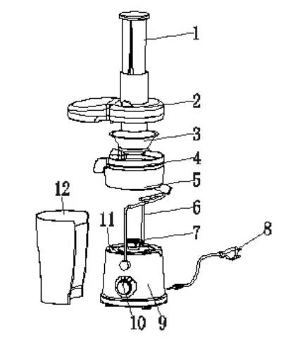
PARTS AND FUNCTIONS
| No. | Part Name | Function |
| 1 | PUSHER | WHEN ADDING INGREDIENTS, PUSH AND PRESS THE INGREDIENTS LIGHTLY WITH THE PUSHER DOWN INTO THE HOPPER TO IMPROVE JUICING EFFICIENCY |
| 2 | TOP COVER WITH CHUTE | COVERS BLADE AND MOTOR. FEED INGREDIENTS DOWN THE CHUTE |
| 3 | SCREW PROPELLER | SEPERATES JUICE FROM PULP |
| 4-5 | FILTER BASKET | CATCHES AND EJECTS PULP AND FLOWS JUICE TO DRINKING CONTAINER |
| 6 | SAFETY LATCH | SAFETY FEATURE THAT LOCKS PARTS IN PLACE FOR JUICING |
| 7 | MOTOR WHEEL | DRIVER OF CENTRIFUGAL SPIN |
| 8 | POWER CORD | USED FOR POWERING ON AND OFF |
| 9 | BODY | ELECTRICAL MOTOR IS HOUSED IN THE BODY DO NOT IMMERSE IN WATER |
| 10 | POWER SWITCH | CONTROLS THE POWER OF THE JUICER |
| 11 | SAFETY SWITCH (MICRO-SWITCH) | OVERLOAD PROTECTION |
| 12 | PULP CONTAINER | CATCHES PULP EJECTED DURING JUICING PROCESS |
DIRECTIONS FOR USE
Clean all parts before using juicer.
This product will not start working before all the parts and components are correctly assembled. Please install and use the product as follows:
![]() | GEARS · “0” GEAR: STOP · “1” GEAR: LOW-SPEED GEAR · “2” GEAR: HIGH-SPEED GEAR | |
|
1 | ![]() | PLACE FILTER BASKET BODY ON THE BODY. |
|
2 | ![]() | PLACE SCREW PROPELLER INTO FILTER BASKET BODY. |
|
3 | ![]() | PLACE THE TOP COVER WITH CHUTE ONTO THE SCREW PROPELLER AND FILTER BASKET BODY. LOCK IT BY PRESSING DOWN. LIFT THE SAFETY LATCH AND PRESS IT TOWARD TOP COVER BUTTON SOFTLY TO LOCK IT. *** PRODUCT WILL NOT WORK IF SAFETY LATCH IS NOT IN PLACE. |
|
4 | ![]() | 1. PLACE THE PULP CONTAINER UNDER PULP CHUTE. 2. LOCK THE PULP CONTAINER INTO POSITION. |
|
5 | ![]() | WHEN POWER IS ON MACHINE IS READY TO OPERATE. OPERATION TIME IS ≤1 MINUTE.(BE SURE THE SWITCH IS TURNED OFF BEFORE POWERING ON) |
|
6 | ![]() | WASH FRUITS OR VEGETABLES AND CUT INTO PIECES. (PLEASE REMOVE PITS, HARD SEEDS, THICK SKIN AND HARD SHELLS.) |
|
7 | ![]() | PLACE THE JUICE CUP UNDER JUICE OUTLET. THIS PRODUCT DOES NOT COME WITH A JUICE CUP. USE YOUR PREFERRED CUP. START THE SWITCH, YOU CAN CHOOSE SPEED. CONTINUOUS OPERATION TIME SHOULD BE LESS THAN 1 MINUTE. |
|
9 | ![]() | ADD CUT FRUIT INTO FEED CHUTE. PUSH FOOD DOWN CHUTE USING PUSHER. DO NOT PUSH TOO HARD. IF TOO MUCH PULP IN OUTLET OR IF OVERFLOWING JUICE IN JUICE CUP, SHUT OFF. DO NOT PUT YOUR FINGER OR OTHER OBJECTS INTO FEED INLET! |
|
10 | ![]() | AFTER FOOD IS COMPLETELY PROCESSED AND THERE IS NO JUICE OUTFLOW, TURN OFF SWITCH, CUT OFF POWER, |
UPKEEP AND MAINTENANCE
![]()
| 1 | BEFORE WASHING THIS PRODUCT, BE SURE TO TURN OFF THE SWITCH AND DISCONNECT FROM THE POWER SUPPLY. |
| 2 | WASH AFTER EVERY OPERATION. | |
| 3 | WIPE EXTERIOR WITH WET CLOTH. PLEASE DON’T SUBMERGE THE APPLIANCE INTO WATER OR OTHER LIQUIDS. | |
| 4 | STORE PRODUCT WHEN DRY AND AVOID DIRECT EXPOSURE TO THE SUN’S ULTRAVIOLET RAYS. | |
| 5 | BEFORE STORING THIS PRODUCT, MAKE SURE THAT THIS PRODUCT IS CLEAN AND DRIED. | |
|
6 |
REFER TO FOLLOWING STEPS TO WASH DETACHABLE PARTS: |
|
1 | ![]() | REMOVE PUSHER REMOVE PULP CONTAINER |
|
2 | ![]() | PULL THE LOCKING HATCH DOWN. OPEN THE TOP COVER. |
|
3 | ![]() | REMOVE PARTS ABOVE MOTOR HOUSING PARTS CAN BE WASHED WITH CLEAN WATER USE A CLEANING BRUSH TO REMOVE PULP FROM FILTER BASKET |
SAFETY INDEX
| RATED VOLTAGE | 120V~ |
| RATED POWER | 700W |
| RATED FREQUENCY | 50/60HZ |
| CONTINUOUS OPERATING TIME OF JUICING | ≤1 MINUTE |
| SPACING INTERVAL | ≥2 MINUTES |
TROUBLESHOOTING
| Fault phenomenon | Cause analysis | Cause analysis |
| UNABLE TO START, PRODUCT FAILS TO WORK. | 1. POWER PLUG NOT PLUGGED IN 2. HEAD COVER INSTALLED INCORRECTLY | 1. INSERT THE POWER PLUG AGAIN;
2. INSTALL HEADCOVER IN PLACE |
| ELECTRIC MOTOR HAS A ODOR THE FIRST FEW TIMES. | THIS IS NORMAL. | PLEASE CALL CUSTOMER SERVICE IF THE PRODUCT CONTINUES TO HAVE AN ODOR |
|
STOPS WHILE USING. | 1. LOW POWER VOLTAGE IS OFF 2. EXCESSIVE INGREDIENTS 3. PUSH THE ROD WITH EXCESSIVE FORCE 4. MOTOR OVERHEAT CONTROL PROTECTION | 1. CHECK IF POWER IS OFF 2. DISCONNECT POWER, TAKE OUT THE SURPLUS INGREDIENTS. 3. PUSH THE ROD GENTLY. 4. RESTART IT AFTER STOPPING 20-30 MINUTES. |
| TOO MUCH PULP IN THE JUICE | 1. JUICE EXTRACTION SCREEN IS DAMAGED. 2. TOO MUCH PULP IN THE CENTRAL RING. | 1. REPLACE THE SCREEN. 2. CLEAN THE CENTRAL RING. |
|
ABNORMAL VIBRATION OR LOUD NOISE. | 1. IMPROPER INSTALLATION OF JUICE EXTRACTION SCREEN OR IN BALANCED INSTALLATION. 2. UNSTABLE PLACEMENT OF PRODUCT OR CAME OFF OF FOOT PAD. 3. EXCESSIVE INGREDIENTS | 1. INSTALL JUICE EXTRACTION SCREEN IN PROPER PLACE. 2. PLACE PRODUCT STABLY OR INSTALL THE FOOT PAD IN PROPER PLACE. 3. DISCONNECT POWER AND TAKE OUT EXCESSIVE INGREDIENTS. |
| LOW QUANTITY OF JUICE | 1. TO MUCH PULP IN FILTER BASKET 2. PUSHING PUSHER WITH EXCESSIVE FORCE | 1. CLEAN CENTRAL RING. 2. PRESS THE PUSH ROD WITH LESS FORCE. |
CONTACT US:
Customer Service: 1-800-633-3401
Online: www.OmegaJuicers.com/contact-omega-juicers



































