Godox V1C V1 Flash for Canon

Dear customer,
Thank you for purchasing our product. Please read the following instructions carefully before first use and keep this user manual for future reference. Pay particular attention to the safety instructions. Please contact the customer line if you have any questions or comments about the device.
✉ www.alza.co.uk/kontakt
✆ +44 (0)203 514 4411
Importer Alza.cz a.s., Jankovcova 1522/53, Holešovice, 170 00 Prague 7, www.alza.cz
Foreword
Thank you for purchasing this product.
This V1C camera flash applies to Canon EOS series cameras and is compatible wit E-TTL II autoflash. With this E-TTL II compatible flash, your shooting will become simpler. You can easily achieve a correct flash exposure even in complex light-changing environments.
This camera flash features:
- With round flash head to achieve soft, even and more creative light effects. It has a 2W LED modeling lamp, which can be used off the camera
- 76Ws power output at the max step. 81 steps from 1/1 to 1/128
- Pro 2600mAh Li-ion Battery-max. 1.5s recycle-480 full power pops.
- Fully support Canon E-TTL II camera flash. Workable as Transmitter or Receiver unit in a wireless flash group.
- Use dot-matrix LCD panel to make clear and convenient operations.
- With built-in 2.4GHz wireless remote system to support transmitting and receiving.
- Provided multiple functions, include HSS (up to 1/8000s) FEC, FEB, etc.
- Stable consistency and color temperature with good even lighting.
- Support with firmware upgrade.
Warning
- Always keep this product dry. Do not use in rain or in damp conditions.
- Do not disassemble. Should repairs become necessary, this product must be sent to an authorized maintenance center.
- Keep out of reach of children.
- Stop using this product if it breaks open due to extrusion, falling or strong hit. Otherwise, electric shock may occur if you touch the electronic parts inside it.
- Do not fire the flash directly into the eyes (especially those of babies) within short distances. Otherwise, visual impairment may occur.
- Do not use the flash unit in the presence of flammable gases, chemicals and other similar material. In certain circumstance, these materials may be sensitive to the strong light emitting from this flash unit and fire or electromagnetic interference may result.
- Do not leave or store the flash unit if the ambient temperature reads over 50°C. Otherwise the electronic parts may be damaged.
- Turn off the flash unit immediately in the event of malfunction.
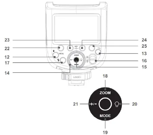
Name of Parts

Body
- Flash Head
- LED Modeling Lamp (01~10)
- Wireless Sensor
- Focus Assist Beam
- Sync Cord Jack
- Type-C USB Port
- Battery Cover
- Hotshoe
- LCD Panel
- Hotshoe Fixing Buckle
- Lithium Battery
Control Panel
- <MENU> Flash Menu Button/Locking Button
- Wireless Selection Button
- Select Dial
- Set Button
- ON/OFF Power Switch
- Test Button/Flash Ready Indicator
- <ZOOM> Focus Length Setting
- <MODE> Mode Selection Button
- Modeling Lamp Setting
- <+/->Power Output
- Function Button 1
- Function Button 2
- Function Button 3
- Function Button 4
LCD Panel
E-TTL Autoflash
Zoom: zoom display
- The display will only show the settings currently applied.
- The functions displayed above function button 1 to 4, such as SYNC and <A/B/C/D>, change according to settings status.
- When a button or dial is operated, the LCD panel illuminated.
M Manual Flash 
Multi Flash 
Radio Transmission Shooting
- Transmitter Unit (TX)

- Receiver Unit (RX)

Note: The flash unit attached to the camera is refereed to as the “Transmitter” and other flash units controlled wirelessly are referred to as “Receivers”
LCD Panel in Three Modes
- Attached to the Camera

- 2.4G Radio Transmission: As a Transmitter Unit

- 2.4G Radio Transmission: As a Receiver Unit

What’s in the Box of V1C Kit

- Flash Unit
- Lithium Battery
- USB Battery Charger
- USB Line
- Charger
- Mini Stand
- Protection Case
- Instruction Manual
Separately Sold Accessories
The product can be used in combination with the following accessories sold separately, so as to achieve best photography effects: XProC & X1C TTL wireless flash trigger, AK-R1 accessory kit for round flash head, etc.
Battery
Features
- This flash unit uses Li-ion polymer battery which has long runtime. The available charger-and-discharge times are 500.
- It is reliably safe. The inner circuit is against overcharge, over discharge, overcurrent, and short circuit.
- Take only 3.5 hours to fully charge the battery by using the standard battery charger.
Cautions
- Do not short circuit.
- Do not expose to the rain or immerse into water. This battery in not waterproof.
- Keep out of reach of children.
- No over 24 hours continuous charging.
- Store in dry, cool, ventilated places.
- Do not put aside or into fire.
- Dead batteries should be disposed according to local regulations.
- If the battery had ceased using for over 3 months, please make full recharge.
Loading and Unloading the Battery
To unload the battery, hold down the battery remove button and push the battery downwardly to take it out.
According to the triangle sign on the battery pack, insert it into the compartment until a while knob lock the battery with a click sound.
Battery Level Indication
Make sure the battery pack is securely loaded in the flash. Check the battery level indication on the LCD panel to see the remaining battery level.
| Battery Level Indication | Meaning |
| 3 grids | Full |
| 2 grids | Middle |
| 1 grid | Low |
| Blank grid | Lower battery, please recharge it |
| Blinking | The battery level is going to be used out immediately. And the flash will auto power in 1 minute. Note: Please recharge the battery as soon as possible (within 10 days). Then, the battery be used or be placed for long period. |
Led Modeling Lamp
Press the Modeling Lamp Setting button to set the modeling lamp. Short press the Set Button to turn on or off the modeling lamp. When turning the modeling lamp on, turn the select dial to set its brightness. There are 10 levels (01~10) for choice.
Attaching to a Camera

Power Management
Use ON/OFF Power Switch to power the flash unit on or off. Turn off it will not be used for an extended period of time. Setting as transmitter flash, it will turn the power off automatically after a certain period (approx. 90 seconds) od idle use. Pressing the camera shutter halfway or pressing any flash button will wake up the flash unit. Setting as a receiver flash, it will enter sleep mode after a certain period (adjustable, 60 minutes by default) of idle use. Pressing any flash button will wake it up.
Disabling Auto Power Off function is recommended when the flash is used off camera. (C.Fn-STBY)
Receiver Auto Power Off Timer is set to 60 minutes by default. Another option “30 minutes” is available (C.Fn-RX STBY)
Flash Mode—E-TTL AutoFlash
This flash has three flash modes: E-TTL, Manual (M), and Multi (Stroboscopic). In E-TTL mode, the camera and the flash will work together to calculate the correct exposure for the subject and the background. In this mode, multiple TTL functions are available: FEC, FEB, FEL, HSS, second curtain sync, modeling flash, control with the camera’s menu screen.
*Press <MODE> Mode Selection Button and three flash modes will display on the LCD panel one by one with each pressing.
ETTL
Mode
Press <MODE> Mode Selection Button to enter E-TTL mode. The mode LCD panel will display.
- Press the camera release button halfway to focus. The aperture and effective flash range will be displayed in the viewfinder.
- When the shutter button is fully pressed, the flash will fire pre-flash that the camera will use to calculate exposure and flash output the instant before the photo is taken.
FEC: Flash Exposure Compensation
With FEC function, this flash can adjust from -3 to +3 in 1/3 stops. It is useful in situations where minor adjusting of the TTL system is needed based on the environment.
FEC Setting:
FEB: Flash Exposure Bracketing
You can take three flash shots while automatically changing the flash output for each shot from -3 to +3 in 1/3rd stops. The camera will record three images with different exposures: one exposed according to camera calculations, one over-exposed and another under-exposed. Over and under exposure amount is user adjustable. This function helps get correct exposure especially in shooting moving objects or when environmental lights are complex.
- FEB will be cancelled after three photos are taken.
- For best result, set the camera drive mode to “single” and ensure the flash is ready before shooting.
- FEB can be used with FEC and FEL.
You can prevent the FEB from being cancelled automatically after three photos are taken. (C.Fn-FEB ACL)
FEL: Flash Exposure Lock
FEL can lock the correct flash exposure setting for any part of the scene.
With <ETTL> displayed on the LCD panel, press the camera’s <FEL> button. If the camera does not have the <FEL> button, press <*> button.
- Focus the subject
- Press the <FEL> button.
- Aim the subject at the center of the viewfinder and press <FEL> button.
- The camera flash will fire a preflash and the required flash output for the subject in retained in memory.
- Each time the <FEL> button is pressed, a preflash will be fired and a new flash exposure setting will be locked.
- If the subject is too far away and underexposure, the <
> icon will blink in the viewfinder. Move closer to the subject and try the FE lock again. - If <ETTL> is not displayed on the LCD panel, FE lock cannot be set.
- If the subject is too small, FE lock might not be very effective.
High-Speed Sync
High Speed Sync (FP flash) enables the flash to synchronize with all camera shutter speeds. This is convenient when you want to use aperture priority for fill-flash portraits.
- If you set a shutter speed that is the same as or slower than the camera’s maximum flash sync speed, <
> will not be displayed in the viewfinder. - With high-speed sync, the faster the shutter speed the shorter the effective flash range.
- To return to normal flash, press <SYNC> button again. Then <
> will disappear. - Multi flash mode cannot be set in high-speed sync mode.
- Over-temperature protection may be activated after 15 consecutive high-speed sync flashes.
Second-Curtain Sync
With a slow shutter speed, you can create a light train following the subject. The flash fires right before the shutter closes.
Press function button 2 <SYNC> button so that <
> is displayed on the LCD panel.
M: Manual Flash
The flash output is adjustable from 1/1 full power to 1/256th power in 1/10th stop increments. To obtain a correct flash exposure, use a hand-held flash meter to determine the required flash output.
- Optic S1 Secondary Unit Setting
In M manual flash mode, press <S1/S2> button so that this flash can function as an optic S1 secondary flash with optic sensor. With this function, the flash will fire synchronously when the main flash fires, the same effect as that by the use of radio triggers. This helps create multiple lighting effects. - Optic S2 Secondary Unit Setting
Press <S1/S2> button so that this flash can also function as an optic S2 secondary flash with optic sensor in M manual flash mode. This is useful when cameras have pre-flash function. Whit this function the flash will ignore a single “preflash” from the main flash and will only fire in response to the second, actual flash from the main unit.
S1 and S2 optic triggering is only available in M manual flash mode.
Multi: Stroboscopic Flash
With stroboscopic flash, a rapid series of flashes is fired. It can be used to capture multiple images of a moving subject in single photograph.
You can set the firing frequency (number of flashes per sec. expressed as Hz), the number of flashes, and the flash output.
Press <MODE> button so that <MULTI> is displayed.
Set the flash frequency and flash times.
- Press the Function Button 2 <Times> to select the flash times. Turn the Select Dial to set the number.
- Press the Function Button 3 <Hz> to select the flash frequency. Turn the Select Dial to set the number.

Turn the Select Dial to choose desired flash output. After you finish the setting, press Set Button and all the settings will be displayed.
Calculating the Shutter Sped
During stroboscopic flash, the shutter remains open until the firing stops. Use formula below to calculate the shutter speed and set it with the camera.
Number of Flashes / Flash Frequency = Shutter Speed
For example, it the number of flashes is 10 and the firing frequency is 5 Hz, the shutter speed should be at least 2 seconds.
To avoid overheating and deteriorating the flash head, do not use stroboscopic flash more than 10 times in succession. After 10 times, allow the camera flash to rest for at least 15 minutes. If you try to use stroboscopic flash more than 10 times in succession, the firing might stop automatically to protect the flash head. If this camera happens, allow at least 15 minutes rest for the camera flash.
- Stroboscopic flash is most effective with a highly reflective subject against a dark background.
- Using a tripod and remote control is recommended.
- A flash output of 1/1 and 1/2 cannot be set for stroboscopic flash.
- Stroboscopic flash can be used with “bulb”
- If the number of flashes is displayed as “–”, the firing will continue until the shutter closes or the battery is exhausted. The number of flashes will be limited ah shown by the following table:
Maximum Stroboscopic Flashes
- Flash Output / Hz
- Flash Output / Hz

Wireless Flash Shooting: Radio (2.4G) Transmission
- When the camera’s shooting mode is set to a fully automatic mode or an Image Zone mode, the operation in this chapter are no available. Set the camera’s shooting mode to P/Tv/Av/M/B (Creative Zone Mode).
- The V1C attach to the camera is called the transmitter unit, and a V1C that is wirelessly controlled is called the receiver unit.
- You can also wirelessly control the V1C set as the receiver unit with the transmitter X1T-C (sold separately). For details on setting the transmitter unit functions, see the transmitter’s instructions.
Using a flash (transmitter/receiver) with a radio transmission wireless shooting function make it easy to shoot with advanced wireless multiple flash lighting, in the same way as E-TTL II autoflash shooting.
The basic relative position and operation range are shown in the picture. You can then perform wireless E-TTL II autoflash shooting just by setting the transmitter unit to
<ETTL>.
Positioning and Operation Range (Example of wireless flash shooting)
- Autoflash Shooting with One Receiver Unit
- Use the supplied mini stand to position the Receiver unit.
- Before shooting, perform a test flash and test shooting.
- The transmission distance might be shorter depending on the conditions such as positioning of Receiver units, the surrounding environment and whether conditions.
Wireless Multiple Flash Shooting
You can divide the Receiver units, into two or three groups and perform E-TTL II autoflash while changing the flash ratio (factor). In addition, you can set and shoot with a different flash mode for each firing group, for up to 4 groups.
Auto Shooting with Two Receiver Groups
Auto Shooting with Three Receiver Groups 
Shooting with a Different Flash Mode set for Each Group 
- The flash mode setting are indicated only as an example
Wireless Settings
You can switch between normal flash and wireless flash. For normal flash shooting, be sure to set the wireless setting to OFF.
Transmitter Unit Setting
- Press <
> button so that <
> is displayed on the LCD panel.
Receiver Unit Setting 
- Press <
> button so that <
> or <
> displayed on the LCD panel.
Transmitter Unit’s Flash OFF
- When the Transmitter unit is set tot OFF, only the Receiver units will fire a flash.

- Press <MENU> Button to enter C.Fn Transmitter setting.

- Set Transmitter ON/OFF to control the On/Off the Transmitter unit.
<
>: The Transmitter unit flash firing is ON.
<
>: The Transmitter unit flash firing is OFF.
- Even if the Transmitter unit flash firing is disabled, it still fires a preflash to transmit wireless signals.
Setting the Communication Channel
If there are other wireless flash systems nearby, you can change the channel IDs to prevent signal interference. The channel IDs of the Transmitter unit and the Receiver unit(s) must be set to the same.
Wireless ID Settings
Change the wireless channels and wireless ID to avoid interference for it can only be triggered after the wireless IDs and channels of the Transmitter unit and the Receiver unit are set to the same. Press the <MENU> button to enter C.Fn ID. Press the Set Button to choose OFF channel expansion shutdown, and choose any figure from 01 to 99.
Scan the Spare Channel
To avoid the interference of using the same channel by others, this function can be used: enter the C.Fn settings and find the SCAN option. When setting it to START, it will scan from 1% to 100%. And 8 spare channels will be displayed after the scan is completed.
ETTL: Fully Automatic Wireless Flash Shooting
Using Automatic Wireless Flash with a Single Receiver Unit
- Transmitter Unit Setting
- Attach a V1C camera flash on the camera and set it as the Transmitter unit.
- X1T-C can also be used as Transmitter unit. X1T-C can control V1C’s ZOOM value when the ZOOM is adjusted to auto (A) mode.

- Receiver Unit Setting
- Set the other camera flash as the wireless Receiver Unit.

- Set the other camera flash as the wireless Receiver Unit.
- Check the communication channel.
- If the Transmitter unit Receiver unit(s) are set to a different channel, set them to the same channel.
- Position the camera and flashes
- Position the camera and flashes as the picture shows.
- Set the Transmitter unit’s flash mode to <ETT>
- Set the Transmitter unit’s flash mode to <ETTL>.
- For shooting <ETTL> will automatically be set for the Receiver unit.
- Set the Transmitter unit flash firing as ON to fire a flash.
- Check that the flash is ready
- Check that the Transmitter flash ready indicator is lightened.
- When the Receiver flash ready indicator is ready, the AF-assist beam lighting area will blink at 1 second intervals.
- Check the flash operation.
- Press the Transmitter unit’s Test Button <
> - Then, the Receiver unit will fire. If not, adjust the Receiver unit’s angle toward the Transmitter unit and distance from the Transmitter unit.
- Press the Transmitter unit’s Test Button <
- Using Automatic Wireless Flash with Multiple Receiver Units
When stronger flash output or more convenient lighting operation is needed, increase the number of Receiver units and set it as a single Receiver unit. To add Receiver units, use the same steps as setting “automatic wireless flash with a single Receiver unit”. Any flash group can be set (A/B/C/D/E). When the number of Receiver units is increased and the Transmitter unit flash firing is ON, automatic control is implemented to make all groups of flashes fire the same flash output and ensure the total flash output up is to standard exposure.
- Press the depth-of-field preview button on the camera to fire a modeling flash.
- If the Receiver unit’s auto power off function is workable, press the Transmitter unit’s test button to power it on. Please note that test firing is unavailable during the camera’s regular metering time.
- The effective time of Receiver auto power off is changeable (C.Fn-RX STBY)
- By making some settings, the auto AF-assist transmitter will not blink after the Receiver unit’s flash ready indicator is lightened. (C.Fn-AF)
- Using Fully Automatic Wireless Flash
The FEC and other setting that set on the Transmitter unit will also be appeared on the Receiver unit automatically. The Receiver unit does not need any operation. Use the following settings to make wireless flashes according to the same methods with normal flash shooting.- Flash Exposure Compensation

- Flash Exposure Lock
- Manual Flash
- Stroboscopic Flash
- Flash Exposure Compensation
- About the Transmitter Unit
Use two or more Transmitter units. By preparing several cameras that with Transmitter units flash attached, cameras can be changed in shooting while keeping the same lighting source. (Receiver unit). - M: Wireless Flash Shooting with Manual Flash
This describes wireless (multiple shooting) using manual flash. You can shoot with a different flash output setting for each Receiver unit (firing) group. Set all parameters on the Transmitter unit.
- Setting <M> Flash Mode
You can directly operate the Receiver unit to manually set the manual flash or stroboscopic flash.
- Setting the Receiver unit.
- Setting flash mode to <M>
- Press <MODE> button so that <M> is displayed.
- Set the manual flash output.
- Multi: Wireless Flash Shooting with Manual Flash

- Setting <MULTI> Stroboscopic flash
- Press <MODE> button so that <MULTI> is displayed.
- Setting the stroboscopic flash.
- Setting <MULTI> Stroboscopic flash
Other Applications
Sync Triggering
The Sync Cord Jack is a Φ2.5mm plug. Insert a trigger plug here and the flash will be fired synchronously with the camera shutter.
Modeling Flash
If the camera has a depth-of-field preview button, pressing it will fire the flash continuously for 1 second. This is called modeling flash. It enables you to see the shadow effects on the subject and the lighting balance. You can fire the modeling flash during wireless or normal flash shooting.
- To avoid overheating and deteriorating the flash head, do not fire the modeling flash for more than 10 consecutive times. If you fire the modeling flash 10 consecutive times, allow at least 10 minutes break for the camera flash.
- The modeling flash cannot be fired with the EOS 300 and Type-B cameras.
Auto Focus Assist Beam
In poorly lit or low contrast shooting environments, the built-in auto focus assist beam will automatically light on to make it easier for the autofocus. The beam will light up only when autofocus is difficult and get out as soon as the autofocus becomes correct.
If you want to turn off the auto focus assist beam, set the “AF” to “OFF” on the C.Fn settings.
- If you find he auto assist beam does not light up, this is because the camera has got a correct autofocus.
| Position | Effective Range |
| Center | 0.6~10m / 2.0~32.8 feet |
| Periphery | 0.6~5m / 2.0~16.4 feet |
Bounce Flash
By pointing the flash head toward a wall or ceiling, the flash will bounce off the surface before illuminating the subject. This can soften shadows behind the subject for a more natural-looking shot. This is called bounce flash.
To set the bounce direction, hold the flash head and turn it to a satisfying angle.
- If the wall or ceiling is too far away, the bounced flash might be too weak and result in underexposure.
- The wall or ceiling should be a plain, white color for high reflectance. If the bounce surface is not white, a color cast may appear in the picture.
ZOOM: Setting the Flash Coverage
The flash coverage can be set automatically or manually. It can be set to match the lens focal length from 28mm to 105mm.
- In Manual Zoom mode, press the <ZOOM> button.
- Turn the Select Dial to change the flash coverage.
- If <A> is displayed, the flash coverage will be set automatically.
- If you set the flash coverage manually, make sure it covers the lens focal length so that the picture will not have a dark periphery.
Low Battery Warning
If the battery power is low <
> will appear and blink on the LCD panel. Please replace the battery immediately.
C.Fn: Setting Custom Functions
The following table lists the available and unavailable custom functions of this flash.
| Custom Function Signs | Function | Setting No. | Setting & Description |
| m/ft | Distance indicator | m | m |
| Ft | Feet | ||
| AF | AF-assist beam | ON | ON |
| OFF | OFF | ||
| STBY | Auto sleep setting | ON | ON |
| OFF | OFF | ||
| RX STBY | Receiver auto power off timer | 60min | 60min |
| 30min | 30min | ||
| SCAN | Scan the spare channel | OFF | OFF |
| START | Start to find the spare channels | ||
| CH | Channel setting | 01~32 | Choose channels from 01-32 |
| ID | Wireless ID | OFF | Off |
| 01-99 | Choose any figure from 01-99 | ||
| BEEP | Beeper | ON | ON |
| OFF | OFF | ||
| LIGHT | Backlighting time | 12sec | Off in 12 sec |
| OFF | Always off | ||
| ON | Always lighting | ||
| LCD | LCD contras ratio | -3~+3 | 7 levels |
| FEB ACL | FEB auto cancel | ON | ON |
| OFF | OFF | ||
| TX | Transmitter unit control | OFF | |
| ON |
- Press <MENU> Button until C.Fn menu is displayed. The “Ver x.x” in the top right corner refers to the software version.
- Select the custom function No.
- Turn the Select Dial to select the Custom Function No.
- Change the Setting.
- Press Set Button and Setting No. Blinks.
- Turn the Select Dial to set the desired number. Pressing Set Button will confirm the settings.
- After you set the Custom Function and press <MENU> button, the camera will be ready to shoot.
- In the C.Fn states, long press the “Clear” button for 2 seconds until “OK” is displayed on the panel, which means the values in C.Fn can be reset.
If the camera flash is attached to an EOS camera which has a speedlite control function, the flash can be controlled using the camera’s menu screen. For the menu operation procedure, refer to your camera’s instruction manual.
- Setting Camera Flash Functions
The following function are settable according to different flash modes.- Flash mode
- Shutter sync (1st/2nd curtain, high speed sync)
- FEB
- Flash exposure compensation
- Flash firing
- Clear camera flash’s settings
- Custom Function of Camera Flash
C. Fn-00, C.Fn.01, C.Fn-03, C.Fn-08, C.Fn-10, C.Fn-20, C.Fn-22
Clear All Flash Custom Function
- If flash exposure compensation has already been set with the camera flash, flash exposure compensation cannot be set with the camera. To set it with the camera, the camera flash’s exposure compensation must be set to zero.
- If any Flash Custom Functions and flash settings other than flash exposure compensation have been set by both the camera and the flash, the latest settings will take effect.
Protection Function
Over-Temperature Protection
- • To avoid overheating and deteriorating the flash head, do not fire more than 30 continuous flashes in fast succession 1/1 full power. After 30 continuous flashes, allow a rest time of at least 10 minutes.
• If you fire more than 30 continuous flashes and the fire more flashes in short intervals, the inner over-temperature protection function may be activated. If this occurs, allow a rest time of about 10 minutes, and the flash unit will then return to normal. - When the over-temperature protection is started is shown on the LCD display.
Number of flashes that will activate over-temperature protection:
| Power Output Level | Number of Flashes |
| 1/1 | 30 |
| 1/2+0.7 | 40 |
| 1/2+0.3 | 50 |
| 1/2 | 60 |
| 1/4(+0.3, +0.7) | 100 |
| 1/8(+0.3, +0.7) | 200 |
| 1/16(+0.3, +0.7 | 300 |
| 1/32(+0.3, +0.7) | 500 |
| 1/64(+0.3, +0.7) | 1000 |
| 1/128(+0.3, +0.7) |
Number of flashes what will activate over-temperature protection in high-speed sync triggering mode:
| Power Output Level | Times |
| 1/1 | 15 |
| 1/2(+0.3, +0.7) | 20 |
| 1/4(+0.3, +0.7) | 30 |
| 1/8(+0.3, +0.7) | |
| 1/16(+0.3, +0.7 | 40 |
| 1/32(+0.3, +0.7) | |
| 1/64(+0.3, +0.7) | 50 |
| 1/128(+0.3, +0.7) |
Other Protections
The system provides real-time protection to secure the device and your safety. The following lists prompts for your reference:
| Prompts on LCD Panel | Meaning |
| E1 | A failure occurs on the recycling system so that the flash cannot fire. Please restart the flash unit. If the problem still exists, please send this product to a maintenance centre. |
| E2 | The system gets excessive heat. Please allow a rest time of 10 minutes. |
| E3 | The voltage on two outlets of the flash tube is too high. Please send this product to a maintenance centre. |
| E9 | There are some errors occurred during the upgrading process. Please using the correct firmware upgrade method. |
Technical Data
| Model | V1C |
| Compatible Cameras | Canon EOS cameras (E-TTL II autoflash) |
| Power (1/1 output) | 76Ws |
| Flash Coverage | 28 to 105mm |
| Auto zoom (Flash coverage set automatically to match the lens focal length image size) | |
| Manual Zoom ·Swinging/tilting flash head (bounce flash): 0 to 300° horizontally and – 7° to 120° vertically | |
| Flash Duration | 1/300 to 1/20000 seconds |
Exposure Control
| Exposure control system | E-TTL II autoflash and manual flash |
| Flash exposure compensation (FEC) | Manual. FEB±3 stops in 1/3 stop increments (Manual FEC and FEB can be combined) |
| FE lock | With <FEL> button or <*> button |
| Sync mode | High-speed sync (up to 1/8000 seconds first-curtain sync, and second-curtain sync |
| Multi flash | Provided (up to 100 times, 199Hz) |
Wireless Flash (2.4G Radio Transmission)
| Wireless flash function | Transmitter, Receiver, Off |
| Transmitter groups | A, B, C, D, |
| Controllable Receiver groups | A, B, C, D, E (E group can be controlled by X series flash trigger) |
| Transmission range (approx.) | 100m |
| Channels | 32 (1~32) |
| ID | 01~99 |
| Modeling flash | Fired with camera’s depth-of field preview button |
Auto Focus Assist Beam
| Effective range (approx.) | Center: 0.6~10m / 2.0-32.8 feet Periphery: 0.6~5m / 2.0~16.4 feet |
LED Modeling Lamp
| Power | 2W |
| Color Temperature | 3300K±200K |
Power Supply
| Power source | 7.2V/2600mAh Li-ion batter |
| Recycle time | Approx. 1.5 seconds. Green LED indicator will light up when flash is ready. |
| Full power flashes | Approx. 480 |
| Power saving | Power off automatically after approx. 90 seconds of idle operation. (60 minutes if set as Receiver) |
Sync Triggering Mode
| Sync Triggering Mode | Hotshoe, 2.5mm sync line |
Dimensions
| W x H x D | 76*93*197mm |
| Weight without battery | 420g |
| Weight with battery | 530g |
| 2.4G Wireless Frequency Range | 2413.0MHz-2464.5MHz |
| Max. Transmitting Power of 2.4G Wireless | 5dbm |
Troubleshooting
If there is a problem, refer to this Troubleshooting Guide.
The Camera Flash does not fire.
The camera flash is not attached securely to the camera.
- Attach the camera’s mounting foot securely to the camera.
- The electrical contacts of the Camera Flash and camera are dirty.
- Clean the contacts.
- Wait until the flash is fully recycled and the flash ready indicator lights up.
- If the flash ready indicator lights up, but <
> or <
> is not displayed in the view finder, check whether this flash unit is securely attached to the camera hotshoe. - If the flash ready indicator does not light up after a long wait, check whether the battery power is enough. If the battery power is low, <
> will appear and blink on the LCD panel. Please replace the battery immediately.
The power turns off by itself.
After 90 seconds of idle operation, auto power off took effect if the flash is set as Transmitter.
- Press the shutter button halfway or press any flash button to wake up.
After 60 minutes (or 30 minutes) of idle operation, the flash unit will enter sleep mode if it is set as Receiver.
- Press any flash button to wake up.
Auto zoom does not work.
The camera flash is not attached securely to the camera.
- Attach the camera flash’s mounting foot the camera.
The flash exposure is underexposed or overexposed.
There was a highly reflective object (e.g. glass window) in the picture.
- Use FE lock (FEL)
You used high-speed sync.
- With high-speed sync, the effective flash range will be shorter. Make sure the subject is within the effective flash range displayed.
You used Manual Flash Mode.
- Set the flash mode to ETTL or modify the flash output.
Photos have dark corners or only parts of the target subject are illuminated.
The local length of lens exceeds the flash coverage.
- Check the flash coverage you set. This flash unit has the flash coverage between 28 and 105mm, which fits medium-format cameras.
Firmware Upgrade
- The USB port is a Type-C USB socket. Type-C USB connection line is applicable.
- As the firmware upgrade needs the support of Godox G3 software, please download and install the “Godox G3 firmware upgrade software” before upgrading. Then choose the related firmware file.
- As the product needs to do firmware upgrade, please refer to instruction manual of the newest electric version as final.
Compatible Cameras Models
This flash unit can be used in the following Canon EOS series camera models:
This table only lists the tested camera models, not all Canon EOS series cameras. For the compatibility of other camera models, a self-test is recommended.
Rights to modify this table retained.
Maintenance
- Shut down the device immediately should abnormal operation be detected.
- Avoid sudden impacts and the product should be dedusted regularly.
- It is normal for the flash tube to be warm when in use. Avoid continuous flashes if unnecessary.
- Maintenance of the flash must be performed by our authorized maintenance department which can provide original accessories.
- Unauthorized service will void the warranty.
- If the product had failures or was wetter, do not use it until it is repaired by professionals.
- Change made to the specifications or design may not be reflected in this manual.
Warranty Conditions
A new product purchased in the Alza.cz sales network is guaranteed for 2 years. If you need repair or other services during the warranty period, contact the product seller directly, you must provide the original proof of purchase with the date of purchase.
The following are considered to be a conflict with the warranty conditions, for which the claimed claim may not be recognized:
- Using the product for any purpose other than that for which the product is intended or failing to follow the instructions for maintenance, operation, and service of the product.
- Damage to the product by a natural disaster, the intervention of an unauthorized person or mechanically through the fault of the buyer (e.g., during transport, cleaning by inappropriate means, etc.).
- Natural wear and aging of consumables or components during use (such as batteries, etc.).
- Exposure to adverse external influences, such as sunlight and other radiation or electromagnetic fields, fluid intrusion, object intrusion, mains overvoltage, electrostatic discharge voltage (including lightning), faulty supply or input voltage and inappropriate polarity of this voltage, chemical processes such as used power supplies, etc.
- If anyone has made modifications, modifications, alterations to the design or adaptation to change or extend the functions of the product compared to the purchased design or use of non-original components.
EU Declaration of Conformity
Identification data of the manufacturer’s / importer’s authorized representative:
Importer: Alza.cz a.s.
Registered office: Jankovcova 1522/53, Holešovice, 170 00 Prague 7
CIN: 27082440
Subject of the declaration:
Title: External Flash
Model / Type: V1C
The above product has been tested in accordance with the standard(s) used to demonstrate compliance with the essential requirements laid down in the Directive(s):
Directive No. 2014/53/EU
Directive No. 2011/65/EU as amended 2015/863/EU
WEEE
This product must not be disposed of as normal household waste in accordance with the EU Directive on Waste Electrical and Electronic Equipment (WEEE – 2012/19 / EU). Instead, it shall be returned to the place of purchase or handed over to a public collection point for the recyclable waste. By ensuring this product is disposed of correctly, you will help prevent potential negative consequences for the environment and human health, which could otherwise be caused by inappropriate waste handling of this product. Contact your local authority or the nearest collection point for further details. Improper disposal of this type of waste may result in fines in accordance with national regulations.


































