BOSCH SMI46CS01E-29 Semi-Integrated Dishwasher

WHAT’S INCLUDE

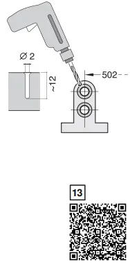
DIMENSION



INSTALLATION














WARNING





























Download manual
Here you can download full pdf version of manual, it may contain additional safety instructions, warranty information, FCC rules, etc.