43155262 Gaming Speaker Medium RGB
Instructions Manual

Please read all instructions carefully and keep for future use.
Specification
Bluetooth Version: V5.0
Speaker specifications: 2x3lnch
Supply Voltage: USB DC 5V
Audio input (PC) : 3.5 mm jack
Power: 2x3W
In the box
Speaker x1
Manual x
Important Precautions:
- Don’t expose the unit to liquid, moisture, or humidity, such as vases, which shall be placed on the speaker.
- Disconnect the unit with your Bluetooth device and move it to the safe area if the liquid gets inside the unit.
- Minimum distances of 50 cm around the apparatus for sufficient ventilation.
- The ventilation should not be impeded by covering the ventilation opening switch items, such as newspapers, tablecloths, or curtains.
- No naked flame sources such as lighted candles should be placed on the apparatus.
- The use of apparatus in moderate climates.
- Don’t expose the unit to extremely high temperatures or dispose of the unit in fire or it will result in an explosion
- Do not listen to excessively loud music over an extended period of time, as this can cause hearing damage.
- Don’t attempt to dissemble the unit change any part, except if there is an operation method mentioned in the manual.
- Don’t assemble or disassemble the unit to avoid electric shock, if there is water on your hands.
- Don’t place the unit in an electromagnetic interference environment to avoid malfunction.
- Don’t leave packaging material lying around carelessly, as it may become dangerous playing material for children.
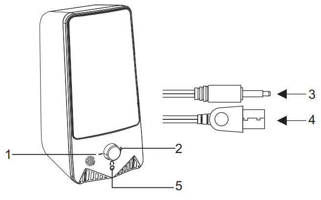
Function Overview

- Touch Panel: Light switching mode and function switching mode. – Single click to switch light mode.
• Six light effects for choosing.
• Long press the touch pattern to turn on or off the light. – Double click to switch AUX/Bluetooth mode. - Power and Volume(+/-) Knob
– Rotary the knob to power on/off the speaker.
– Rotary the knob to increase/decrease the speaker volume. - AUX audio input connector
-Insert to the PC computer audio output jack for audio sound output. - USB power supply interface
– Plug into the PC computer to ensure power supply to the speaker. - PC Headset output jack
– Connected with the PC headsets or gaming headsets.
How to use this speaker

Function Operation:
- Connect: Connect the USB power supply interface and the AUX audio input connector to the corresponding interface of the computer.
- Play: After connecting, you can play the audio on your computer.
- Volume control: “+” turned up “-“turned down; Or you can adjust the volume through the computer.
Bluetooth Instructions
- Power on the speaker.
- Double click on the Touch Panel to switch to Bluetooth mode, and you can hear the prompt tone from the speaker.
- Switch on your Bluetooth device and search for 43155262 and connect it, you can hear the prompt tone from the speaker.
- Quickly Double click on the Touch Pattern again to turn off to Bluetooth mode and enter into the AUX input mode.
12 Month Warranty
Thank you for your purchase from Kmart.
Kmart Australia Ltd warrants your new product to be free from defects in materials and workmanship for the period stated above, from the date of purchase, provided that the product is used in accordance with accompanying recommendations or Instructions where provided. This warranty is in addition to your rights under the Australian Consumer Law.
Kmart will provide you with your choice of a refund, repair, or exchange (where possible) for this product if it becomes defective within the warranty period. Kmart will bear the reasonable expense of claiming the warranty. This warranty will no longer apply where the defect is a result of alteration, accident, misuse, abuse or neglect.
Please retain your receipt as proof of purchase and contact our Customer Service Centre on 1800 124 125 (Australia) or 0800 945 995 (New Zealand) or alternatively, via Customer Help at Kmart.com.au for any difficulties with your product. Warranty claims and claims for expenses incurred in returning this product can be addressed to our Customer Service Centre at 690 Springvale Rd, Mulgrave Vic 3170.
Our goods come with guarantees that cannot be excluded under the Australian Consumer Law. You are entitled to a replacement or refund for a major failure and compensation for any other reasonably foreseeable loss or damage. You are also entitled to have the goods repaired or replaced if the goods fail to be of acceptable quality and the failure does not amount to a major failure.
For New Zealand customers, this warranty is in addition to statutory rights observed under New Zealand legislation.


















