AIGOSTAR 300004HEX 1800 Watts Deep Fryer

IMPORTANT SAFETY INSTRUCTIONS
Basic safety precautions should always be followed when using electrical appliances, including the following:
- Read all instructions before first use.
- Do not use the appliance with an extension cord.
- Do not touch any hot surface on the appliance. Use the handles or knobs provided.
- To protect against electric shock, do not immerse the cord, plug, or fryer in water or other liquids.
- Children should not use this product.
- When not in use and before cleaning, please unplug the fryer from the socket and allow it to cool before cleaning or moving.
- Do not operate any appliance with a damaged cord or plug. If the appliance is damaged or malfunctions, return it to the nearest authorized service facility for examination, repair, or adjustment.
- Do not use any additional accessories with this product, as doing so may cause injuries.
- Do not use the appliance outdoors.
- Do not allow the power cord to hang over the edge of a table or come into contact with a hot surface.
- Do not place the appliance in a heated oven or on or near a hot gas or electric burner.
- Extreme caution must be taken when moving an appliance that contains hot oil or other hot liquids.
- Do not use the appliance for any use other than that intended.
- This appliance complies with CE -Directives for EMC and has been engineered to the latest safety technical requirements.
- Do not use the fryer without oil or fat. The fryer will malfunction if it is heated dry.
- This fryer incorporates a thermal safety device. In the event of thermostat failure, the electrical circuit has an automatic cutout to prevent overheating.
- Should the fryer leak, stop using it immediately and contact the authorized service center for repair.
- To ensure safe operation, excessive food or utensils must not be inserted into the fryer.
Technical Specifications
- Model No. 300004HEX
- Power Supply 220-240V ~ 50 Hz
- Power Consumption 1650W
- Dimensions L295*W252*H230mm
- Pot Capacity 2.SL
All specifications and designs are subject to change without notice.
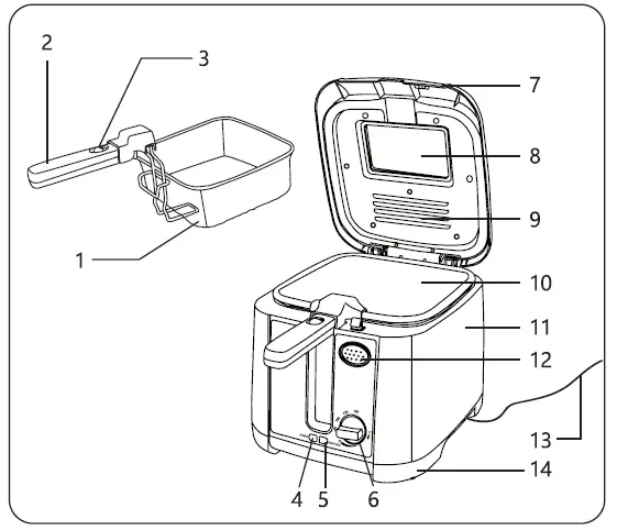
PRODUCT OVERVIEW

- Basket
- Basket handle
- Handle release button
- Allows you to fold the basket handle down
- Power light
- Will illuminate automatically when the appliance is plugged in.
- Temperature light
- Will illuminate automatically when the temperature is rising and go out when the set temperature is reached.
- Thermostat knob
- The thermostat is calibrated in steps marked 130° C,150° C, 170° C, and 190° C.
Users can select the appropriate temperature at which they wish to fry their food.
- The thermostat is calibrated in steps marked 130° C,150° C, 170° C, and 190° C.
- Lid
- To remove the lid, lift it to a vertical position and pull it upwards.
- Viewing window
- Before frying, smear the inner face of the viewing window with oil to prevent 0 condensation forming. This will ensure the window remains clear throughout the ~ cooking process, allowing you to verify ~ cooking progress.
- Filter system
- The lid is fitted with a permanent filter system that collects drops of oil from the steam as it passes through the filter. The filter should be replaced after every 60 uses. 4D
- Oil pot
- Housing
- Lid opening button
- Press the button, and the fry lid will release automatically. Allow the steam to escape from the deep fryer to avoid scalding your fingers. Keep your face and body away from the fryer to prevent burns.
- Power cord
- Base



BEFORE FIRST USE
- Remove all packaging materials and place the appliance on a flat, stable surface.
- Before using the fryer for the first time, wash the pot and basket thoroughly with warm, soapy water. Carefully dry the aluminum pot.
COOKING TIPS
- Use only metal kitchen utensils with insulated handles when cooking with hot oil.
- Select the temperature for frying according to the food type. As a general guide, food that has been pre-cooked in some way needs a higher temperature andless
cooking time than raw food.
COOKING REFERENCE
Note: Keep in mind that these settings are only intended for reference purposes. As ingredients differ in size, shape, weight, and consistency, we cannot guarantee that the times outlined below represent the best settings for your specific ingredients.
| FOOD | Temp. (0C) | Weight (g) | Estimated Time |
| Whole shrimp | 130 | 200 | 3-5 minutes |
| Mushrooms | 150 | 300 | 4-6 minutes |
| Fillet | 150 | 300 | 5-7 minutes |
| Crumbed chicken | 170 | 250 | 12-14 minutes |
| Fish cakes | 170 | 300 | 3-5 minutes |
| Onions | 190 | 350 | 2-4 minutes |
| French Fries | 190 | 400 | 8-10 minutes |
| potato chips | 190 | 400 | 10-12 minutes |
OPERATING INSTRUCTIONS
- Using the handle, remove the basket from the oil pot.
- Pour the oil into the fryer. The level of oil must be between the MAX and MIN level marked on the surface of the pot.
NOTE: Use only good-quality vegetable oil or all-purpose shortening for deep frying. Butter, margarine, olive oil or animal fat is not recommended due to its lower smoking temperatures. - Smear the viewing window with a little oil.
- Plug the appliance into the mains and set the thermostat to the required temperature (see the cooking reference above). The temperature light will go out when the set temperature has been reached.
- Add food (as dry as possible) into the basket. Do not overload the basket. Place food of uniform size into the basket for an even cooking result.
NOTE: Do not add water or wet foods to the cooking oil. Even small amounts of water will cause the oil to spatter.
- Place the basket back into the fryer and close the lid.
- After cooking, turn off the thermostat knob and press the LID-RELEASE BUTTON to open the lid.
Lift the basket out of the oil to drain and then serve.

CLEANING AND STORAGE
- Fully remove the appliance from the power supply before cleaning.
- Cool the oil completely. Oil or fat retains its temperature for a long time after use.
Do not attempt to move or carry the fryer while it is still hot. - Oil can be reused several times. Get the maximum use from your fryer by always having it ready for use. One way of doing this is to store the cooled and strained oil inside the fryer ready for the next frying session with the lid acting as a dust cover.
- Oil should be filtered after each use.
- After draining the oil, the fryer should be wiped down, first with absorbent paper and then with a cloth dampened with a little detergent. Finally, dry the appliance with a clean, dry cloth.
- The interior of the fryer has an aluminum surface. To avoid damage, do not use any abrasives or sharp instruments with the appliance.
- The exterior can be cleaned with a damp cloth. Do not use abrasives or scouring pads.
- The basket can be washed in warm soapy water.
- Remove the used filter and replace it with a new one after approximately 60 frying sessions.
DISPOSAL
As a responsible retailer, we care about the environment.
As such, we urge you to follow the correct disposal procedures for the appliance and its packaging materials. This will help conserve natural resources and ensure items are recycled in a manner that protects health and the environment.
You must dispose of the appliance and its packaging according to local laws and regulations.
As this appliance contains electronic components, the appliance and all associated accessories must be disposed of separately from household waste when the appliance reaches the end of its life.
Contact your local authority to learn about your disposal and recycling options.
The appliance should be taken to your local recycling centre. Some collection points accept appliances for recycling free of charge.





















