
WOOD BURNING BBQ PITS &SMOKERS
MODEL SC-200-SM
(2007-2009
OWNERS / OPERATIONS MANUAL


*** CONGRATULATION***
In selecting SOUTHERN PRIDE, you have chosen the finest, most advanced, and fully automatic smoker/oven available. With us, ”It’s A Matter Of Pride”.
Please read this INSTRUCTION MANUAL carefully prior to installation and operation.
Proper installation, operation, and cleaning are essential for your satisfaction and safe operation
KEEP THIS MANUAL FOR REFERENCE
SAFETY INFORMATION
- Be sure all untrained employees, who may operate this oven, are instructed on the proper operation and safety information prior to working with this oven.
- Oven surfaces are HOT when the oven is in operation. Proper utensils and protective gear should be used with this appliance.
- Oven cleaners can be HAZARDOUS. Read and follow all labeled instructions.
- The frame of the oven MUST be electrically grounded at all times. See “Electrical Instructions” in this manual. FAILURE TO GROUND THIS UNIT MAY RESULT IN AN ELECTRICAL SHOCK.
- Do not remove the service compartment access panel unless the power to the oven is OFF.
- Do not allow unqualified personnel to perform service work. To do so will VOID WARRANTY and could be hazardous.
- CAUTION: Ashes removed from ovens equipped with smokers should be extinguished immediately with water.
- Daily cleaning is extremely important to ensure FIRE SAFETY and FOOD SAFETY
OVEN CONTROLS & FEATURE
- Digital Roast & Hold Control – Programmable (140˚-325˚F) with off position. Maintains the desired oven temperature by controlling the main heat element, convection fan, and smoker element.
- Drip Pan – Slides out on rails located under the oven, should be emptied after each cooking.
- Flue Damper – Has an adjustable slide that allows the operator to regulate the amount of smoke retained in the oven.
- Control Panel Cover – Houses the convection fan motor and all electrical components.
- Food Racks – 5 – 18” x 26” nickel chrome plated wire food racks that slide out for easy loading and unloading of product.
- Casters – For ease of moving the oven, the front casters are locked.
- Side Channels – Acts as an air channel to direct airflow in the oven, and has the slides for the food racks. Easily removable for cleaning.
- Smoker Chip Box – Load with wood chips to smoke product. To fill or empty the box, slide it off of the element bracket.
- Blower Wheel & Fan Shroud – Main element and blower wheel cover can be removed for cleaning.
The blower wheel located behind the fan shroud circulates heat and smoke inside the oven.

OPERATING INSTRUCTIONS
WARNING – The element cover and both side channels must be in place before loading or operating the Smoke Chef oven!
Loading the product:
- The SC-200-SM convection oven is equipped with “five”- 18” x 26” food racks for the loading of food products.
The racks slide in and out for easy loading and unloading. Sheet pans may be used instead of the food racks.
Lay the product directly on the food racks. Flat items such as ribs, pork chops, half chickens, etc. can be loaded on each shelf. Larger items, depending on size, may require the removal of every other food rack. - The drip pan should be emptied and slid into place under the oven. If the drip pan is not in place, grease will drip onto the floor under the oven.
If the product is to be smoked: - Slide the chip box off the element bracket, (CAUTION: This box is HOT when the oven has been in operation) load wood chips in the box, close the lid, and slide the box onto the element bracket.
Note: The flavor and amount of smoke generated can vary with the type and amount of hardwood chips used. (If your oven is equipped with a 2nd chip box, it will only turn on after 4 hrs. of cooking, and the 1st chip box will turn off.)(2nd chip box is not needed for cooks under 4 hrs.) - Adjust the flue damper (attached to the outlet of the flue pipe, located on the top right back corner of the oven). This will control the amount of smoke retained in the oven. Closing the damper will increase the amount of smoke retained in the oven; opening it will decrease the amount of smoke.
To Program a menu and start the cook cycle:
The menu consists of a cooking temperature, cook time, hold temperature, and CHIPS which turns the smoker on or off for the menu. - The control must be in the “IDLE” mode. If the control is “OFF” a press of any button will bring the control back to “IDLE”.

- PRESS the cook temp button, (the actual cook temperature will appear in the display): PRESS the up/down buttons to obtain the desired cook temperature.

- PRESS the cook time button, (tinE1 will appear in the display): PRESS the up/down buttons to obtain the desired cook time.

- PRESS the hold temp button, (HtEnP will appear in the LED display): PRESS the up/down buttons to obtain the desired hold temp. If a holding temp is not desired: PRESS the down button until “OFF” is displayed in the LED.

Programming the menu is complete: - To start the menu, PRESS the start/stop button one time. “CHIPS” will appear on the LED display. Two actions are possible, a touch on the up button will start the menu with the wood chip smoker “ON” or a touch on the down button will start the menu with the wood chip smoker “OFF”. The control will begin the menu.

- To pause the menu, press the start/stop button; to resume the menu, press the start/stop again.
- To cancel or stop a menu, press and hold the start/stop button until “IDLE ” shows in the LED.
When the cook cycle is complete
- Two actions are possible after the cooking time expires. If a hold temperature was programmed into the menu, then the control will sound an audible alarm momentarily, and “Hold” will appear on the LED display. The length of time the control has been in the hold mode, and the word “Hold” will be displayed alternately in the LED display. The control will maintain the hold temperature until the start/stop button is depressed to “END” the menu, and bring the control to the “IDLE” mode.

If the hold temperature was programmed to “OFF” then “END” will be displayed on the LED, and an audible alarm will sound continuously until the start/stop button is depressed, to end the menu, and bring the control to the “IDLE” mode. - The control should be in the “IDLE” mode. (The main heater element, convection fan motor, and the smoker will be off).

- If the smoker was used for the menu, remove the chip box extinguish the wood chips with water, and properly dispose of the ashes, CAUTION! This box will be HOT use protective gear.
- Unload the food product and properly dispose of the grease drippings in the drip pan.
- When the control has been in the “IDLE” mode for five minutes, without touch to any button, it will go to “OFF”. A press of any button will bring the control back to “IDLE”.
OPERATING A DIGITAL CONTROL WITH AN OPTIONAL MEAT PROBE
This oven is programmed to cook one of two ways
- Timed Cook – Cook to a set oven temperature using the time to control the length of the cook cycle.
- Internal Temperature of Product Cook – Cook with a set oven temperature until the internal temperature of the product reaches the temperature that the meat probe is set for.
To choose to cook by time the control has to be set P-off.
- With the control of the idle press the up button, and the display will read either P-on or P-off, one press of the up button will change the setting, choose P-off.

- There is a three-second pause until the control returns to idle and then a menu can be programmed.

- Use the instructions on the control panel of the Smoke Chef to program a menu.
To choose to cook to an internal product temperature using the meat probe the control has to be set P-on.
- With the control of the idle press the up button, and the display will read either P-on or P-off, one press of the up button will change the setting, choose P-on.

- There is a three-second pause until the control returns to idle and then a menu can be programmed.
- Make sure the meat probe is plugged into the socket inside the oven and then insert the probe into the meat. The tip of the probe should be inserted into the thicker part of the meat and make sure it isn’t against a bone.
- Use the instructions on the control panel of the Smoke Chef to program a menu. The cook time button will now be used to select the temperature at which the meat probe will cook the product.
CLEANING INSTRUCTIONS
The oven should be cleaned daily to remove any grease or carbon deposits. Poor cleaning habits can be both a food and fire hazard.
Mild dish detergents will remove most of the grease on all the surfaces of the oven. For areas with buildup that cannot be removed with soapy water, use conventional oven cleaners.
CAUTION: Always wear protective clothing and eyewear when using oven cleaners. Read labeled directions and warnings.
The area above the heating element cover on top of the inside can be cleaned by removing the front element cover. Remove the two (2) 5/16 bolts. Let the front drop down and then pull straight out to remove.
AFTER CLEANING, THE COVER MUST BE REINSTALLED BEFORE OPERATING THE OVEN.
Clean the outside of the oven with commercial stainless steel cleaners and polishes.
NEVER use any abrasive scrub pads on the outside of the oven.
INSTALLATION and VENTING INSTRUCTIONS
- Read and follow the electrical requirements on the next page to ensure the proper connection of the oven.
- While this oven is in operation, it will emit smoke from the vent stack on the back of the top of the oven, or from the meat door if it is opened. Adequate space should be allowed for this oven under a vent hood system to ensure that the hood will capture the smoke.
- Venting for the SC-200-SM must be with an exhaust ventilation system in accordance with the National Fire Protection Association standard, NFPA 96. Local codes may supersede this recommendation. Check your local building codes prior to installation.
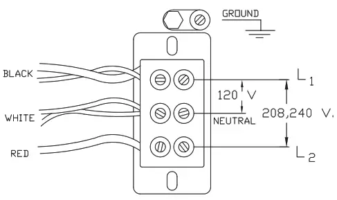
ELECTRICAL
120/208 or 120/240 Volts AC
60 Hz
Single Phase
30 AMP wiring required
NOTE: MAKE SURE THE SUPPLY POWER CORRESPONDS WITH THE VOLTAGE SPECIFIED ON THE NAMEPLATE OF YOUR OVEN.
WARNING: THE CHASSIS MUST BE GROUNDED TO PREVENT POSSIBLE SHOCK HAZARDS.
THE WARRANTY IS VOID IF THE OVEN IS CONNECTED TO ANY VOLTAGE OTHER THAN THOSE SPECIFIED ABOVE.
ELECTRICAL INSTRUCTIONS
- The SC-200-SM is shipped with no wire and plug due to varients in 208/240-volt plugs.
Your electrician must provide 10 AWG-stranded four-wire cables and an appropriate plug for hookup in your situation. - Power must be OFF during the installation of the wire and plug.
- Electrical service is provided at the terminal block, located behind the access panel which is in the lower-left corner of the back of the oven.
- After connecting the proper electrical service, test the voltage at the terminal block with a voltmeter.
- If the power is correct, replace the access panel and power up the oven.

PARTS LIST
| 1046 | 240 VOLT MAIN HEATING ELEMENT | ![]() |
| 1046-1 | 208 VOLT MAIN HEATING ELEMENT | |
| 2173 | FLUE DAMPER | ![]() |
| 1093 | OPTIONAL TEMPERATURE PROBE | |
| 1094 | OPTIONAL TEMPERATURE PROBE SOCKET | ![]() |
| 2422S | BLOWER WHEEL | ![]() |
| 1040SC | CONVECTION FAN MOTOR | ![]() |
| 2417 | 6” COOLING FAN BLADE | ![]() |
| 1092 | 10 AMP SMOKER OR CONTROL RELAY | ![]() |
| 1091 | 40 AMP MAIN ELEMENT RELAY | ![]() |
| 1090E | 140-325˚F DIGITAL CONTROL | ![]() |
| 2423 | DRAIN PAN | ![]() |
| 1098 | S.S. THERMOCOUPLE | ![]() |
| 9830 | WOOD CHIP BOX | ![]() |
| 9172 | 340˚F HIGH LIMIT SWITCH | ![]() |
| 1045 | CONTACTOR, FOR THE MAIN ELEMENT | ![]() |
| 1010 | TERMINAL BLOCK | ![]() |
| 2116 | DOOR HINGE | ![]() |
| 2438 | DOOR LATCH AND CATCH | ![]() |
| 1049 | 300 WATT SMOKER ELEMENT | ![]() |
| 1254 | FOOD RACK | ![]() |
| 4179 | SC-200 – MEAT DOOR GASKET (Attached to the back of the Door) | ![]() |
| 4179G | SC-200 – NEW MEAT DOOR GASKET (Around Door Opening) | |
| 9932 | DOOR LATCH TIE BAR (connects the two door latches) |
ONE-YEAR LIMITED WARRANTY
(CONSULT FACTORY FOR DETAILS)
90-DAY LABOR WARRANTY (PRE-AUTHORIZED)
Southern Pride guarantees all new equipment of its manufacture to be free of defects in material and factory workmanship for a period of one year provided that the equipment is installed in the Continental United States, Alaska, or Hawaii and operated according to the Owner’s Manual while located at the original address of installation, the warranty registration card has been completed and returned to the factory within fifteen (15) days after installation and a start-up has been performed by an authorized service agent. Southern Pride’s obligation under this warranty is limited to one of the following options with the option applicable to be selected by Southern Pride at the sole discretion of Southern Pride.
- Owner to return a part, freight PREPAID. Southern Pride is to repair at its own expense if defective, and ship part back to owner freight collect.
- Southern Pride to furnish a replacement part, freight collect, without requesting the return of the defective part.
- Southern Pride to furnish a replacement part, freight collect, in exchange for the return of the defective part, freight collect.
Under certain circumstances, Southern Pride will reimburse the owner for limited labor costs in replacing parts during a period of not more than ninety (90) days after installation, (provided that work is prior authorized and confirmed by Southern Pride’s Service Manager.)
Because Southern Pride does not and cannot control the owner’s installation, use, and maintenance of equipment manufactured by Southern Pride, this warranty does not cover: any equipment installed improperly; any equipment calibrated after start-up and acceptance; any component disassembled in the field; damaged due to improper cleaning, i.e. burner (hosing or “watering down” machines will cause electrical failures not covered by warranty); blown fuses, light bulbs, gaskets, electric elements and accessory components not installed or manufactured by Southern Pride.
Shipping damage must be reported to the carrier and is not covered under this warranty.
Southern Pride will not be liable for damage as a result of improper installation, misuse, abuse, alteration of the original design, incorrect voltage, unauthorized service, or breakage of fragile items, Southern Pride will not be liable for any loss or consequential damage or expense accruing directly or indirectly from the use of equipment covered by this warranty including any production or product losses or other damages which may occur as a result of equipment malfunction or failure. This warranty does not cover cooking performance, which is a function of food types, textures, temperatures, and other variables chosen by the owner and over which Southern Pride has no control. The effect of corrosion, fire, and normal wear on the equipment or component parts is not covered by this warranty. This warranty does not apply to damage caused by accident or to damage caused by the negligence of the owner and the employees of the owner or to damage caused by lightning-generated electrical current or any other Act of God whatsoever.
This warranty does not apply to any equipment bearing a serial number that has been tampered with or altered.
This warranty is exclusive and is in lieu of all other warranties, express or implied, including any implied warranty or merchantability or fitness for a particular purpose, each of which is hereby expressly disclaimed, the remedies described above are exclusive and in no event shall Southern Pride be liable for special, consequential or incidental damages for the breach or delay in performance of the warranty.
TERMS AND CONDITIONS
For purposes of definition and interpretation, the term “Seller” as used herein refers to Southern Pride and the term “Buyer” refers to the originator of a specific purchase order to Southern Pride.
Possession of a price list does not necessarily constitute an offer to sell by Southern Pride. Prices and specifications are subject to change without notice. All items will be invoiced at prices in effect at the time of shipment. Equipment prices do not include federal, state, city, or local taxes which may apply and all sales are subject thereto. No order, whether written or oral, shall result in contact, unless it is accepted and acknowledged in writing by Seller at Seller’s office in Marion, Illinois.
Shipping weights are approximate and all prices are quoted F.O.B. Marion, Illinois. All “common carrier” shipped equipment shall be domestic crated; all others shall be created and subject to a delivery charge per zone chart. Any equipment held for shipment upon Buyer’s request beyond the delivery date specified on the original purchase order will be due and payable within terms and will result in storage charges.
Delivery estimates are figured from the date written orders are received and accepted by the Seller. Seller will meet Buyer’s delivery request as nearly as possible but does not guarantee shipment nor delivery on any particular date. Seller reserves the right to ship merchandise via any responsible carrier. The seller’s responsibility ceases upon acceptance by the carrier. The buyer is expected to examine the contents of shipments and immediately report any damage to carrier authorities. Payment terms shall be 30% deposit with order; balance prior to delivery unless otherwise agreed in writing by Seller.
Returns of any merchandise may not be made without the Seller’s written approval, prior to return. Seller shall impose a 20% restocking charge for the handling of any returns. All cancellations must be in writing. Cancellations are also subject to a 20% fee.
472 South Mill Street, Alamo TN 38001
SALES: 800-851-8180 FAX: 618-993-5960
www.southern-pride.com [email protected] [email protected]
SERVICE: 800-437-2679 SERVICE FAX: 618-993-0378 [email protected]

















































