John Lewis Stacked Cane Side Table User Guide

Stock number: 862 28301
H55.5 W45 D45cm
Thank you for purchasing the Stacked Cane Side Table. Please read the instructions and warnings carefully before use, to ensure safe and satisfactory operation of this product.
At John Lewis, we are committed to making great products possible.
From our in-house Design Team, to our Buyers, we work together to bring great design to life.
Our expert Product Technologists work collaboratively with our buyers and suppliers to assure the legality, safety and quality of the product we sell.
We are all committed to designing and developing products to the highest industry standards.
We hope you are happy with your product and welcome any feedback or comments you may have.
The John Lewis Team
Time to assemble
15 Min
People to assemble

Important safety information
Warnings
The product should only be used on firm, level ground.
Keep small parts out of reach of children.
Ensure the product is fully assembled as illustrated before use.
Do’s
✓ Check the pack and make sure you have all the parts listed.
✓ Check all screws or bolts are tightened and inspect regularly.
✓ Make sure the legs remain in contact with the ground all times.
Don’t
X Do not over tighten screw or bolts.
X Do not stand on the product.
X Do not use power tools to construct as overtightening and panel failure may occur.

Your Stacked Cane Side Table

Fixtures and fittings

Fixtures and fittings supplied (actual size)

Fixtures and fittings supplied (not actual size)

Product assembly
Stacked Cane Side Table
862 28301
Step 1
Parts

Step 2
Parts and fittings

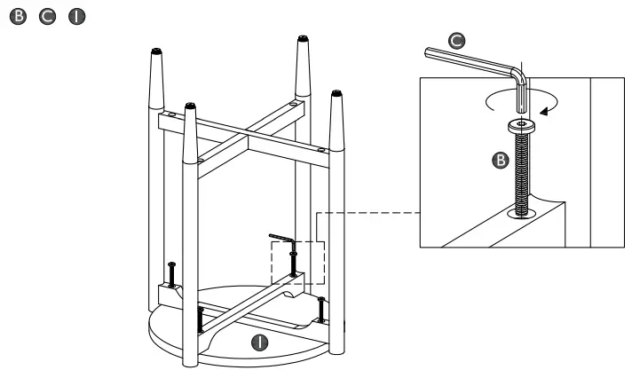
Step 3
Parts

Step 4
Parts and fittings

Care guide
Care and maintenance
Wood furniture
Wood displays different grain patterns depending on which way they are cut – for example, the ‘medullary ray’ which can appear on oak furniture is a mark of good quality timber – these are just characteristics of the natural beauty of the wood. Some furniture is also deliberately aged and rustic.
Wood veneers also allow a distinctive pattern to be created on some surfaces, such as tabletops and drawer fronts by the way slivers are arranged.
All timber and veneer surfaces will change colour and mellow over time. New furniture will initially vary in shade from items that have been previously purchased.
How to care for your wood furniture
Furniture with a hard lacquer, wax polish or painted surface should be dusted with a dry cloth. Waxed furniture will need to be given a coat of beeswax a couple of times a year to help maintain its lustre. Spray polishes are best avoided as thay contain silicones which may spoil the furniture’s surface when building up over time.
Make sure all surfaces are protected from heat and liquids by mats and coasters. Wipe up spills immediately and ensure that a mat or pad is placed under paper if you are writing.
Our furniture will endure most temperatures in the home, but it is best to avoid placing furniture next to heat sources such as radiators or fires. Be particularly careful with solid wood as the lack of humidity caused by home heating can cause damage such as warping.
Safety instructions
Never drag furniture when moving it, always lift it.
Periodically check all fixings to ensure none have come loose and retighten when necessary.
Please take care when handling or moving the furniture as careless handling may cause damage or injury.
Furniture can be dangerous if incorrectly installed. Assembly should be carried out by a competent person. No liability will be accepted for damage or injury caused by incorrectly installed or assembled furniture.
Retain these instructions for future reference.
Your feedback is very important to us and we would love to hear your comments on your new furniture. Please visit our website to leave a review. Thank you.
John Lewis Partnership
171 Victoria Street
London SWIE 5NN
johnlewis.com



















