Extension Dining Table

Alba 4-6/6-8 Extension Dining Table Stock number: 83600602, 83600603
83608802, 83608803
IW-17-73XX-010 H77 W120/160 D86cm H77 W160/200 D86cm
Thank you for purchasing the Alba 4-6 extension dining table. Please read the instructions and warnings carefully before use, to ensure safe and satisfactory operation of this product. At John Lewis, we are committed to making great products possible. From our in-house Design Team, to our Buyers, we work together to bring great design to life. Our expert Product Technologists work collaboratively with our buyers and supplier to assure the legality, safety and quality of the product we sell. We are all committed to designing and developing products to the highest industry standards. We hope you are happy with our product and wellcome any feedback or comments you may have.
The John Lewis Team
![]()
Tools required
Time to assemble 30 Minutes People to assemble

Important safety information
Warnings
⚠️Keep small parts out of reach of children.
⚠️Ensure the product is fully assembled as illustrated before use.
Do’s
✔Check the pack and make sure you have all the parts listed.
✔Check all screws or bolts are tightened and inspect regularly.
Don’ts
✘Do not over tighten screws or bolts.
✘Do not stand on the product.
✘Do not use power tools to construct as over tightening and panel failure may occur.

Your 4-6 extension dining table

| Ref | Description | Dimension (mm) | Qty |
| 1 | Top frame | 1600 x 860 x 109 | 1 |
| 2 | Leg | 744 x 64 x 64 | 4 |
Internal dimensions:
Stock number: 83600602, 83600603, 83608802, 83608803
4-6 Extension dining table overall size: H77 W120/160 D86cm
6-8 Extension dining table overall size: H77 W160/200 D86cm
Fixtures and fittings

Fixtures and fittings supplied ( actual size )
| Ref | Description | Dimension (mm) | Qty | |
| A | Cross dowel | M8 x 12 x 60 | 4 | ![]() |
| B | Threaded bolt | M8 x 100 | 8 | ![]() |
Fixtures and fittings supplied (not actual size)
| Ref | Description | Dimension (mm) | Qty | |
| C | Flat washer | 8 | ![]() | |
| D | Lock washer | 8 | ![]() | |
| E | Hex nut | 8 | ![]() | |
| F | Spanner | 1 | ![]() |
Product assembly
Alba 4-6/6-8 Extension Dining Table 83600602, 83600603, 83608802, 83608803
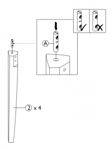
Step 1
Parts, fittings and tools
A B 2


Alba 4-6/6-8 Extension Dining Table 83600602, 83600603, 83608802, 83608803
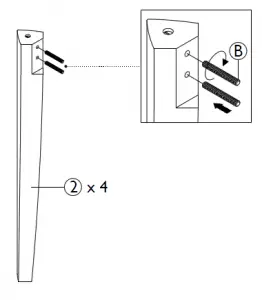
Step 2
Parts, fittings and tools
C D E F 1 2

Alba 4-6/6-8 Extension Dining Table 83600602, 83600603, 83608802, 83608803
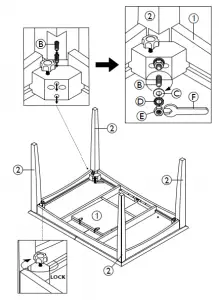
Step 3
Parts, fittings and tools
IW-17-73XX-010
Alba 4-6/6-8 Extension Dining Table 83600602, 83600603, 83608802, 83608803
Step 4
Parts, fittings and tools

Step 5
Parts, fittings and tools

Alba 4-6/6-8 Extension Dining Table 83600602, 83600603, 83608802, 83608803
Step 6
Parts, fittings and tools

Care guide
Care and Maintenance
Wood Furniture
Wood displays different grain patterns depending on which way they are cut – for example, the ‘medullary ray’ which can appear on oak furniture is a mark of good quality timber – these are just characteristics of the natural beauty of the wood. Wood veneers also allow distinctive patterns to be created on some surfaces, such as table tops and drawer fronts by the way slivers are arranged. All timber and veneer surfaces will change colour and mellow over time. New furniture will initially vary in shade from items that have been previously purchased.
How to care for your wood furniture
Dust with a clean, dry lint free cloth. Frequent dusting will remove abrasive build up, which can damage the finish over time. Spray polishes are best avoided as they contain silicones which may spoil the furniture’s surface when building up over time. Make sure all surfaces are protected from heat and liquids by mats and coasters. Wipe up spills immediately and ensure that a mat or pad is placed under paper if you are writing. Our furniture will endure most temperatures in the home but it is best to avoid placing furniture next to heat sources such as radiators or fires. Be particularly careful with solid wood as the lack of humidity caused by home heating can cause damage such as warping.
WARNING
Never drag furniture when moving it. Always lift it. Periodically check all fixings to ensure none have come loose. Re-tighten when necessary. Please take care when handling or moving the furniture as careless handling may cause damage or injury. Furniture can be dangerous if incorrectly assembled. Assembly should be carried out by a competent person. No liability will be accepted for damage or injury caused by incorrectly installed or assembled furniture.
It is recommended that before moving a heavy object to a new location it is completely dis-assembled to avoid personal injury or damage to the furniture. Please be careful to retain all fittings when doing this. ( For fully or partial assemble items ).
Retain these instructions for future reference.
Your feedback is very important to us and we would love to hear your comments on your new furniture. Please visit our website to leave a review. Thank you.
John Lewis Partnership 171 Victoria Street London SW1E 5NN johnlewis.com
IW-17-73XX-010

























