Lumineux 10W LIFFORD Floodlight Instruction Manual

READ THESE INSTRUCTIONS THOROUGHLY BEFORE INSTALLATION KEEP THESE INSTRUCTIONS FOR FUTURE REFERENCE
IMPORTANT: This product must be installed by a qualified electrician or competent person, and in accordance with current building and IEE wiring regulations.
GENERAL:
This lighting fixture is designed for permanent connection to fixed wiring which must have suitable circuit protection by the means of the appropriate MCB or fuse.
The product is suitable for installation on surfaces with normal flammability e.g. wood, plasterboard and masonry. It is not suitable for highly flammable surfaces such as polystyrene or textiles.
LED Chips can be susceptible to damage by vapours, gases, etc emitted by other materials, especially rubber, which can cause a reduction in light output performance.
Therefore DO NOT introduce any parts such as alternative grommets etc. to the inside of this fixture, other than what has been provided. Failing to observe this and any damage caused thereby, may invalidate the warranty.
MAINTENANCE:
To avoid personal injury or damage to equipment, disconnect the power to the light fitting before conducting any maintenance WARNING: No user serviceable parts inside of the fixture, risk of electric shock.
Clean the lens periodically as needed to ensure continued light output performance. Clean only with non-abrasive cloth and mild detergent if required.
WARRANTY:
This luminaire is warranted for a period of 3 years from the date of purchase. The warranty could be invalidated should the light fitting not be installed according to these instructions, outside the scope of the specification or the product has been altered or tampered with in any way. Please see website for terms and conditions.
DISPOSAL:
The light source of this unit is not replaceable; when the light source reaches its end of life the whole luminaire shall be replaced.
Disposal of Electronic Equipment WEEE Directive 2002/96/EC This product falls within the scope of the Waste Electrical & Electronic Equipment Directive (WEEE), which means the product should not be disposed of as normal household waste. Please recycle where facilities exist or check with your Local Authority . RoHS – All components and materials used in this product are RoHS 2002/95/EC compliant.
*Specifications may change from time to time. The information contained in this leaflet is for guidance only and should not be consid- ered as always accurate and should be treated as not representative.
UNPACKING:
This lighting fixture has been properly packed to avoid damage during transit. Before commencing with the installation carefully inspect the luminaire to confirm there is no damage. DO NOT
INSTALL if any damage has occurred to the fixture or any of its components.
CARTON CONTENTS:
- Fixture Instruction Sheet
INSTALLATION :
WARNING: Risk of damage to the light fitting! Isolate the AC power before proceeding.
- Select the position as required for the
- Remove the mounting bracket from the floodlight (bracket can be left on the fitting)
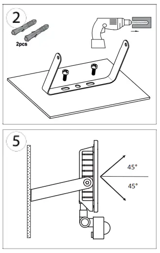
- Secure the luminaire mounting bracket to the surface location using the appropriate screws and wall (2)
- Re-assemble the luminaire to the fixing bracket using the original fasteners and ensuring no cables are trapped between the bracket and the light (3)
- Connect the floodlight to the AC supply, with an appropriate junction box or connection fitting, making sure any exposed connections and joints are sufficiently weatherproofed. Use an IP65 rated junction box if located outside.
- Make the electrical connections as follows: (4)
BROWN = LIVE BLUE = NEUTRAL
GREEN/YELLOW = EARTH
- Adjust the angle of the floodlight by the retaining/adjustment bolt, making sure the bolt is re-tightened when
Do not exceeding the mounting angle limits (5).
- Switch the AC power on to check the light fitting
- (PIR Model) Adjust PIR settings to your
PRODUCT SPECIFICATIONS:
| Luminaire Type: | LED Floodlight |
| Model | Lifford |
| Operating Temp: | -20°C to +30° |
| IP Rating: | IP65 |
| Input Voltage | 220-240VAC |
PIR Set up
Daylight settings:
The sensor detects the level of ambient light before the lamp turns on, this can be adjusted via the dial with the “sun and moon” symbol. Turning the dial fully (towards the sun) will enable operation during daylight and night-time (high and low LUX levels)
Turning the dial fully (towards the moon) will enable operation during darkness only. (Low LUX levels) Turning the dial half way will enable operation from dusk till dawn.
It is recommended to set the dial at dusk, or at the light level at which you want the unit to begin to operate at, you can do this by rotating the dial fully towards the moon position then gradually turning the dial the opposite way until the unit illuminates, the unit should now only operate once the LUX level has dropped below the ambient light just set.
Time Setting:
This is adjustable from 10 (+/-5) seconds to 7 (+/-2) minutes, rotate the control to increase/decrease the illuminated time.
Sensitivity Control:
Increase/decrease the detection distance by rotating the dial, this ranges from 2-8 meters, Note: the detection rates will reduce the further the distance is set.
























