GeMINO 30 Comfort Rollator

Overview
- A Pushing handle
- B Brake lever
- C Seat
- D Basket
- E Brake cable
- F Side frame
- G Hinge
- H Tipping bar
- I Catch for height adjustment
- J Strap for folding the rollator
- K Brake block with side deflector
- L Lifting handle and holder for basket

For Gemino with Conpal SpeedControl wheels, this manual is only valid in combination with the SpeedControl user manual.
Procedure for reuse
Checklist before reuse
The rollator is intended/fit for reuse.
- Check that the brakes function correctly
- Adjust the brakes if necessary
- Check that the brake levers are in the correct position
- Clean the brake blocks
- Clean the brake springs
- Check that the wheels are in good condition and that they have not been damaged
- Replace any damaged or worn wheels
- Check that all moving parts are working
- Check and if necessary adjust all screwed connections
- Check the wheel suspension and change if necessary
- Ensure the rollator is clean and hygienic
Congratulations on your choice of new rollator
Quality and functionality are keywords for all Sunrise Medical products. We are very keen to receive any feedback from you about your experiences of using this rollator. In this way we can produce an even better product. For your own safety, and in order to derive the greatest benefit from the features of your new rollator, we recommend that you read this user manual carefully before you start to use the rollator.
Gemino in brief
Gemino is designed for both indoor and outdoor use. It is easy to adjust Gemino to the needs of individual users. Gemino is equipped with stable wheels that roll easily and brakes that are easy to use.
Gemino can be folded for easier transport.
Warning:
The content of this user manual is only intended as information. This information may be changed without warning and must not therefore be interpreted as an obligation on the part of Sunrise Medical. Sunrise Medical is not responsible, either legally or financially, for any errors or inaccuracies that may appear in this user manual. All products that are mentioned in this user manual are registered trademarks and cannot be used in other contexts without the consent of Sunrise Medical.
Assembly
The rollator is supplied completely as standard. All you need to do is:
- Unfold the rollator.
- Set the pushing handles to the correct height.
- Fit and adjust any accessories
- Check the brakes and adjust them if necessary

Packaging
Take the packaging to an appropriate waste reception center. The plastic and cardboard used in the packaging can be recycled.
Using the rollator
Driving brake
Always check that the brakes are working before starting to use the rollator.
- If you need to brake while pushing the rollator, squeeze the brake lever a little to reduce your speed.
- Do not push the rollator with the brakes in the locked position. If you attempt to push the rollator with force when the brakes are locked or partially locked, this will result in damage to the tires and brakes, which in turn can stop the brakes from working properly.
- Do not use the rollator if the brakes are defective.

Parking brake
- Push the brake lever down to activate the parking brake. You will hear a faint click when the parking brake has activated.
- Pull the brake lever up to release the parking brake.
Warning!
- Always use the parking brake when you stop or park the rollator.
- Always use the parking brake when you are going to sit on the seat.
Seat
- Ensure that the parking brake is on before you sit down.
- Always sit with your back towards the direction of travel.
- A sling-style backrest for better support can be purchased as an accessory.

Walking with the rollator
For the best support and the safest movement, walk fully upright with the rollator near your body. Tuck your bottom in. Look forwards, not downwards.
Warning!
- Do not push the rollator a long way in front of your body. This can lead to falls and incorrect loadings.
- Do not lean or reach too far to the side when using the rollator as the sideways weight will make the rollator unstable.
Negotiating obstacles, tipping bar
Step on the tipping bar to tip up the front wheels of the rollator when you need to negotiate curbs, sills, or other obstacles.
Side deflector
Gemino is equipped with a side deflector A, which prevents the back wheel from catching on protruding obstacles such as door frames and corners.
Folding the rollator
The rollator locks automatically in the completely folded position.
- Pull strap A to fold up the rollator. When the rollator is completely folded, it locks and you will hear a faint click.
Warning!
Be aware of the danger of trapping injuries when folding and unfolding the rollator.
Unfolding the rollator
The rollator locks automatically in the completely open position.
- Pull the operating handles apart.
- Press the side bars down until you hear a small click in the fully unfolded position.
- Before using the rollator, make sure that the folding mechanism is locked in place.

Lifting and carrying the rollator
The lifting handles are most easily accessible when the rollator is folded.
- Fold the rollator before lifting it, as this is the best way to lift it and the easiest because of the relation between weight and the lifting handles.
Adjusting the rollator
Height of the pushing handles
To achieve the correct pushing position and avoid incorrect loadings, the pushing handles must be adjusted so that the user walks upright into the rollator and does not need to bend his or her back while pushing.
- Lift the catch.
- Push or pull the pushing handle to the correct height.
- Release the catch. The pushing handle will now be automatically locked at the correct height.

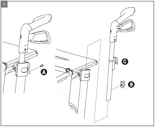
Memory function for correct height of pushing handle
The memory function enables you to quickly set the pushing handle back to the correct height if the height has been changed during transport etc.
- Before activating the memory function, you must decide the correct height of the push handles
- Loosen the screw A using a 3 mm Allen key.
- Lift out the pushing handle.
- Turn the memory block B through 90° and pull it right out.
- Position the block at the correct height. Now the pushing handle cannot be positioned higher than the point at which the memory block has been set, but you can still push it right down for transport.
- Tightly close the height adjustment catch C once you have positioned the pushing handle correctly.
- Retighten screw A.

Adjusting the brakes
The brakes should be adjusted so that they brake all wheels equally. The distance between the brake block and the brake should be about 2 mm. When the parking brake is applied, the brake block should not press into the rubber of the wheel, as this can damage the wheel.
- Loosen the locking nut A.
- Adjust the brake by screwing the cable adjuster nut B inwards or outwards.
- Test the brakes by spinning the wheel and squeezing the brake levers. The wheels should run easily.

Safety
Warning!
- Always check that the brakes are working before using the rollator.
- Make sure that the folding mechanism is locked in place after unfolding the rollator.
- Always use the parking brake when stopping or parking.
- Ensure that the rollator has been adjusted to the correct height to avoid incorrect loadings and falls. Do not push the rollator a long way in front of your body.
- Be aware of the possibility of trapping injuries; avoid putting your fingers between the rollator’s moving parts. Pay particular attention when folding and unfolding the rollator.
- If the rollator is subject to direct sunlight / cold temperature for a long period of time, then surfaces of the rollator may become hot (>41°C) / very cold. Be careful when touching the rollator in these conditions as skin burns or freeze can occur. People with Hypoesthesia should be extra careful.
- Users must move among pedestrians and not on trafficked roadways. Use reflectors when using the rollator outdoors.
- Do not use the rollator for any purpose other than that it was intended for. It must not be used to transport people or heavy loads.
- Be careful when there are children in the vicinity. Do not let children play with the rollator.
- The maximum user weight for the rollator is:
- 150 kg Gemino 30
- 130 kg Gemino 30 M
- 125 kg Gemino 30 S
- The maximum user weight for the rollator with SpeedControl is: 100 kg
- The maximum weight to be held in the basket is 5 kg.
- You should regularly inspect the rollator to make sure that all screws, bolts and other fastenings are secure.
- Avoid making modifications or conversions to the rollator that could affect its safety, which is designed into the rollator’s construction.
- Do not use the rollator if it is damaged or has any malfunction. Contact your dealer for repair.
Do not use any accessories that is not approved by Sunrise Medical.
Maintenance
Maintenance described in this section can be carried out by the user. Other maintenance work should be carried out by qualified personnel at the supplier in your municipality or at the technical aids centre. For information about repairs and servicing, please contact the technical aids centre in your county.
Washing the frame
The frame should be washed regularly with warm soapy water. If the frame is very dirty, a degreasing agent may be used. The frame may be washed with a high-pressure hose. If you use this method, avoid directly spraying the ball bearings. Dry the rollator thoroughly after washing it or after it has been used in rainy conditions. If a degreasing agent
is used, moving parts should be greased afterwards.
Clean the brake blocks and brake springs regularly.
Cleaning the basket
The basket can be removed and washed separately. Machine wash 60°, hand wash 40° or disinfection. To disinfect; use approved chemical disinfectant. Do not use heat disinfection.
Conditions that could damage the rollator
The rollator should not be used at temperatures below -35 °C or above 60 °C. No specific requirements are made in connection with humidity or air pressure. No further requirements are made regarding storage conditions.
Screws and nuts
Screws and nuts can become loose over time. Therefore, remember to check and if necessary retighten all screws and nuts on a regular basis. A thread-locking product, such as Loctite Blue No. 243, may be used. If self-locking nuts have been removed they lose some of their locking ability and should be replaced.
Disinfection
Disinfection should only be carried out by qualified personnel. The rollator can be disinfected using a disinfectant containing 70–80 percent ethanol. Do not use disinfectants that contain bleach or phenols.
Regular inspection
- Check that the brakes function correctly. Adjust if necessary.
- Check that the wheels are in good condition and that they have not been damaged.
- Ensure that the rollator is clean and that all moving parts function correctly.
- Check and if necessary adjust all screwed connections.
Repairs
Apart from small repairs to paintwork, the replacement of wheels, and the adjustment of the brakes, all repairs must be undertaken by qualified personnel at the supplier in your municipality or at the technical aids center. For information about repairs and servicing, contact the technical aid center in your county.
Storage
Store the rollator in a standing position. The rollator can be kept outdoors.
Transport
Fold the rollator before transport. It should be lifted and carried using the lifting handles. Never lift the rollator by the brake cables or the seat strap.
Technical specifications
Materials used
The rollator and most of the parts are manufactured using a special aluminum alloy.
Areas of application
The rollator is intended for both indoor and outdoor use on a flat and firm surface. It has been developed for individuals with reduced muscle strength, reduced movement, reduced mobility, and reduced stability.
Waste handling
Waste relating to packaging, parts of the rollator, or the rollator itself can be treated as general waste. The main component of the rollator is aluminum, which can be melted down for reuse. The plastic and cardboard used in the packaging can be recycled.
CE labeling
The product fulfils the requirements of the EU-Directive 93/42 EEC for medical devices. Based on the classification rules in Attachment IX of this directive the product is classified into class I. The declaration of conformity has been done under the own responsibility of Sunrise Medical based on Attachment VII of this directive.
Guarantee
THIS GUARANTEE DOES NOT AFFECT YOUR LEGAL RIGHTS IN ANY WAY.
Sunrise Medical* provides a guarantee, as set out in the warranty conditions, for products to its customers covering the following.
Warranty conditions:
- Should a part or parts of the product require repair or replacement as a result of a manufacturing and/or material fault within 24 months, then the affected part or parts will be repaired or replaced free of charge. The warranty will only cover manufacturing defects
- To enforce the warranty, please contact Sunrise Medical Customer Service with the exact details of the nature of the difficulty. Should you be using the product outside the area covered by the Sunrise Medical customer service agent, repairs or replacement will be carried out by another agency as designated by the manufacturer The product must be repaired by a Sunrise Medical designated Customer Service agent, (dealer).
- For parts, which have been repaired or exchanged within the scope of this warranty, we provide a warranty in accordance with these warranty conditions for the remaining warranty period for the product in accordance with point 1).
- For original spare parts which have been fitted at the customer’s expense, these will have a 12 months guarantee, (following the fitting), in accordance with these warranty conditions.
- Claims from this warranty shall not arise, if a repair or replacement of a product or a part is required for the following reasons:
- Normal wear and tear, which include but is not limited to the following parts where fitted; batteries, armrest pads, upholstery, tyres, brakes shoes, ferrules, etc.
- Any overloading of the product, please check the EC label for maximum user weight.
- The product or part has not been maintained or serviced in accordance with the manufacturer’s recommendations as shown in the user instructions and/or the service instructions.
- Accessories have been used which are not specified as original accessories.
- The product or part having been damaged by neglect, accident or improper use.
- Changes/modifications have been made to the product or parts, which deviate from the manufacturer’s specifications.
- Repairs have been carried out, before our Customer Service has been informed of the circumstances.
- This guarantee is subject to the law of the country in which the product was purchased from Sunrise Medical“
Means the Sunrise Medical facility from which the product was purchased.
Additional Notes For Australia Only:
- For goods provided by Sunrise medical Pty Ltd in Australia, our goods come with a guarantee by Sunrise Medical that cannot be excluded under Australian Consumer Law.
- You are entitled to a replacement or refund for a major failure and for compensation for any foreseeable loss or damage.
- You are also entitled to have the goods repaired or replaced if the goods fail to be of acceptable quality and the failure does not amount to a major failure.
- The benefits to you given by this warranty are in addition to your other rights and remedies under a law in relation to the goods to which the warranty relates
Specification

Contact Information
AU
Sunrise Medical Pty. Ltd. 6 Healey Circuit, Huntingwood NSW 2148 Australia
T: +61 (2) 9678 6600
E: [email protected]
www.SunriseMedical.com.au.
CA
Distributed in Canada by:
Sunrise Medical Canada Inc.
237 Romina Drive, Unit 3 Concord, ON L4K 4V3 Canada
T: 1-800-263-3390
E: [email protected]
www.sunrisemedical.ca.
IT
Sunrise Medical S.r.l.
Via Riva, 20 – Montale 29122 Piacenza Italia
T: +39 0523 573111
E: [email protected]
www.SunriseMedical.it.
UK
Sunrise Medical
Thorns Road Brierley Hill West Midlands DY5 2LD United Kingdom
T: +44 (0) 845 605 66 88
E: [email protected]
www.SunriseMedical.co.uk.
References
Forside - Legemiddelverket
Wózki manualne, elektryczne i dzieciÄ™ce. | Sunrise Medical
Rolstoelen | Zitkussens | Scootmobielen | Sunrise Medical
Wheelchairs, Seating & Mobility Solutions | Sunrise Medical
Rollstühle, Elektromobile und Sitzsysteme | Sunrise Medical
Wheelchairs, Seating & Mobility Scooters | Sunrise Medical
Wheelchairs, Mobility Scooters & Custom Seating | Sunrise Medical
Rollstühle, Rollstuhlzubehör & Elektromobile | Sunrise Medical
Kørestole, rollatorer, siddesystemer | Sunrise Medical
Sillas de ruedas, grúas y scooters eléctricos | Sunrise Medical
Wheelchairs, Mobility Scooters, Rollators | Sunrise Medical
Fauteuils roulants, scooters & positionnement | Sunrise Medical
Carrozzine, postura e ausili per la mobilità | Sunrise Medical
Rolstoelen | Zitkussens | Scootmobielen | Sunrise Medical
Hjem | Sunrise Medical



























