SPEEDTEC® 400SP & 500SP
OPERATOR’S MANUAL
400SP Electric Speedtec
THANKS! For having chosen the QUALITY of the Lincoln Electric products.
- Please Examine Package and Equipment in case of Damage. Claims for material damaged in shipment must be notified immediately to the dealer.
- For future reference record in the table below your equipment identification information. Model Name, Code & Serial Number can be found on the machine rating plate.
Model Name:
Code & Serial number:
Date & Where Purchased:
Technical Specifications
| NAME | INDEX | |||||||||||
| SPEEDTEC® 400SP | K14258-1 | |||||||||||
| SPEEDTEC® 400SP (VRD) | K14258-2 | |||||||||||
| SPEEDTEC® 500SP | K14259-1 | |||||||||||
| SPEEDTEC® 500SP (VRD) | K14259-2 | |||||||||||
| INPUT | ||||||||||||
| Input Voltage U1 | EMC Class | Frequency | ||||||||||
| 400SP | 380V ± 10% 3-phase | 400V ± 15% 3-phase | 440V ± 10% 3-phase | A | 50/60Hz | |||||||
| 500SP | ||||||||||||
| Input Power at Rated Cycle | Input Amperes I1max | PF | ||||||||||
| 380 V | 400 V | 440 V | 380 V | 400 V | 440 V | |||||||
| 400SP | 20 kVA @ 100% Duty Cycle (40°C) | 30 A | 28 A | 27 A | 0,89 | 0,93 | 0,87 | |||||
| 500SP | 25 kVA @ 60% Duty Cycle (40°C) | 40 A | 36 A | 35 A | 0,90 | 0,94 | 0,88 | |||||
| RATED OUTPUT | ||||||||||||
| Open Circuit Voltage | Duty Cycle 40°C (based on a 10 min. period) | Output Current | Output Voltage | |||||||||
|
400SP | GMAW | 65Vdc | 100% | 420A | 35Vdc | |||||||
| FCAW | 100% | 420A | 35Vdc | |||||||||
| SMAW | 100% | 420A | 36,8Vdc | |||||||||
| GTAW | 100% | 420A | 26,8Vdc | |||||||||
|
500SP | GMAW | 65Vdc | 60% | 500A | 39Vdc | |||||||
| 100% | 420A | 35Vdc | ||||||||||
| FCAW | 60% | 500A | 39Vdc | |||||||||
| 100% | 420A | 35Vdc | ||||||||||
| SMAW | 60% | 500A | 40Vdc | |||||||||
| 100% | 420A | 36,8Vdc | ||||||||||
| GTAW | 60% | 500A | 30Vdc | |||||||||
| 100% | 420A | 26,8Vdc | ||||||||||
| WELDING CURRENT RANGE | ||||||||||||
| GMAW | FCAW | SMAW | GTAW | |||||||||
| 400SP | 20A÷420A | 20A÷420A | 15A÷420A | 15A÷420A | ||||||||
| 500SP | 20A÷500A | 20A÷500A | 15A÷500A | 15A÷500A | ||||||||
| WELDING VOLTAGE REGULATION RANGE | ||||||||||||
| GMAW | FCAW | |||||||||||
| 400SP | 10V÷ 45V | 10V÷ 45V | ||||||||||
| 500SP | ||||||||||||
| RECOMMENDED INPUT CABLE AND FUSE SIZES | ||||||||||||
| Fuse Type gR or Circuit Breaker Type Z | Power Lead | |||||||||||
| 380V | 400V/440V | |||||||||||
| 400SP | 32A | 25A | 4 Conductor, 4mm2 | |||||||||
| 500SP | 40A | 32A | 4 Conductor, 4mm2 | |||||||||
| DIMENSION | ||||||||||||
| Weight | Height | Width | Length | |||||||||
| 400SP | 53,5 kg | 550 mm | 295 mm | 625 mm | ||||||||
| 500SP | 54,5 kg | 550 mm | 295 mm | 625 mm | ||||||||
| OTHERS | ||
| Protection Rating | Operating Humidity (t=20°C) | |
| 400SP | IP23 | ≤ 90 % |
| 500SP | ||
| Operating Temperature | Storage Temperature | |
| 400SP | from -10 ºC to +40 ºC | from -25 ºC to +55 ºC |
| 500SP | ||
ECO design information
The equipment has been designed in order to be compliant with the Directive 2009/125/EC and the Regulation 2019/1784/EU.
Efficiency and idle power consumption:
| Index | Name | Efficiency when max power consumption / Idle power consumption | Equivalent model | |
| K14258-1 K14258-2 | SPEEDTEC® 400SP | 85% | Level I: 39W | No equivalent model |
| Level II: 2,5W | No equivalent model | |||
| K14259-1 K14259-2 | SPEEDTEC® 500SP | 85% | Level I: 39W | No equivalent model |
| Level II: 2,5W | No equivalent model | |||
Idle state occurs under the condition specified in below table
| IDLE STATE | ||
| Condition | Presence | |
| Level I | Level II | |
| MIG/TIG/STICK modes | X | X |
| Water Cooler off | X | X |
| Fan off | X | X |
| Wire Feeder / Remote Control off | – | X |
| After X* minutes of non-working | X | X |
| * – adjusted in range of 10÷300 minutes | ||
The value of efficiency and consumption in idle state have been measured by method and conditions defined in the product standard EN 60974-1:20XX.
Manufacturer’s name, product name, code number, product number, serial number and date of production can be read from rating plate.

Where:
- Manufacturer name and address
- Product name
- Code number
- Product number
- Serial number
5A- country of production
5B- year of production
5C- month of production
5D- progressive number different for each machine
Typical gas usage for MIG/MAG equipment:
| Material type | Wire diameter [mm] | DC electrode positive | Wire Feeding [m/min] | Shielding Gas | Gas flow [l/min] | |
| Current [A] | Voltage [V] | |||||
| Carbon, low alloy steel | 0,9 ÷ 1,1 | 95 ÷ 200 | 18 ÷ 22 | 3,5 – 6,5 | Ar 75%, CO2 25% | 12 |
| Aluminium | 0,8 ÷ 1,6 | 90 ÷ 240 | 18 ÷ 26 | 5,5 – 9,5 | Argon | 14 ÷ 19 |
| Austenic stainless steel | 0,8 ÷ 1,6 | 85 ÷ 300 | 21 ÷ 28 | 3 – 7 | Ar 98%, O2 2% / He 90%, Ar 7,5% CO2 2,5% | 14 ÷ 16 |
| Copper alloy | 0,9 ÷ 1,6 | 175 ÷ 385 | 23 ÷ 26 | 6 – 11 | Argon | 12 ÷ 16 |
| Magnesium | 1,6 ÷ 2,4 | 70 ÷ 335 | 16 ÷ 26 | 4 – 15 | Argon | 24 ÷ 28 |
Tig Process:
In TIG welding process, gas usage depends on cross-sectional area of the nozzle. For comonnly used torches:
Helium: 14-24 l/min
Argon: 7-16 l/min
Notice: Excessive flow rates causes turbulence in the gas stream which may aspirate atmospheric contamination into the welding pool.
Notice: A cross wind or draft moving can disrupt the shielding gas coverage, in the interest of saving of protective gas use screen to block air flow.
End of life
At end of life of product, it has to be disposal for recycling in accordance with Directive 2012/19/EU (WEEE), information about the dismantling of product and Critical Raw Material (CRM) present in the product, can be found at https://www.lincolnelectric.com/en-gb/support/Pages/operator-manuals-eu.aspx
Electromagnetic Compatibility (EMC)
This machine has been designed in accordance with all relevant directives and standards. However, it may still generate electromagnetic disturbances that can affect other systems like telecommunications (telephone, radio, and television) or other safety systems. These disturbances can cause safety problems in the affected systems. Read and understand this section to eliminate or reduce the amount of electromagnetic disturbance generated by this machine.
This machine has been designed to operate in an industrial area. The operator must install and operate this equipment as described in this manual. If any electromagnetic disturbances are detected the operator must put in place corrective actions to eliminate these disturbances with, if necessary, assistance from Lincoln Electric.
This equipment does not comply with IEC 61000-3-12. If it is connected to a public low-voltage system, it is responsibility of the installer or user of the equipment to ensure, by consultation with the distribution network operator if necessary, that the equipment may be connected.
Before installing the machine, the operator must check the work area for any devices that may malfunction because of electromagnetic disturbances. Consider the following.
- Input and output cables, control cables, and telephone cables that are in or adjacent to the work area and the machine.
- Radio and/or television transmitters and receivers. Computers or computer controlled equipment.
- Safety and control equipment for industrial processes. Equipment for calibration and measurement.
- Personal medical devices like pacemakers and hearing aids.
- Check the electromagnetic immunity for equipment operating in or near the work area. The operator must be sure that all equipment in the area is compatible. This may require additional protection measures.
- The dimensions of the work area to consider will depend on the construction of the area and other activities that are taking place.
Consider the following guidelines to reduce electromagnetic emissions from the machine.
- Connect the machine to the input supply according to this manual. If disturbances occur if may be necessary to take additional precautions such as filtering the input supply.
- The output cables should be kept as short as possible and should be positioned together. If possible connect the work piece to ground in order to reduce the electromagnetic emissions. The operator must check that connecting the work piece to ground does not cause problems or unsafe operating conditions for personnel and equipment.
- Shielding of cables in the work area can reduce electromagnetic emissions. This may be necessary for special applications.
WARNING
EMC classification of this product is class A in accordance with electromagnetic compatibility standard EN 60974-10 and therefore the product is designed to be used in an industrial environment only.
WARNING
The Class A equipment is not intended for use in residential locations where the electrical power is provided by the public low-voltage supply system. There can be potential difficulties in ensuring electromagnetic compatibility in those locations, due to conducted as well as radio-frequency disturbances.

Safety
WARNING
This equipment must be used by qualified personnel. Be sure that all installation, operation, maintenance and repair procedures are performed only by qualified person. Read and understand this manual before operating this equipment.
Failure to follow the instructions in this manual could cause serious personal injury, loss of life, or damage to this equipment.
Read and understand the following explanations of the warning symbols. Lincoln Electric is not responsible for damages caused by improper installation, improper care or abnormal operation.
| WARNING: This symbol indicates that instructions must be followed to avoid serious personal injury, loss of life, or damage to this equipment. Protect yourself and others from possible serious injury or death. | |
| READ AND UNDERSTAND INSTRUCTIONS: Read and understand this manual before operating this equipment. Arc welding can be hazardous. Failure to follow the instructions in this manual could cause serious personal injury, loss of life, or damage to this equipment. | |
| ELECTRIC SHOCK CAN KILL: Welding equipment generates high voltages. Do not touch the electrode, work clamp, or connected work pieces when this equipment is on. Insulate yourself from the electrode, work clamp and connected work pieces. | |
| ELECTRICALLY POWERED EQUIPMENT: Turn off input power using the disconnect switch at the fuse box before working on this equipment. Ground this equipment in accordance with local electrical regulations. | |
| ELECTRICALLY POWERED EQUIPMENT: Regularly inspect the input, electrode, and work clamp cables. If any insulation damage exists replace the cable immediately. Do not place the electrode holder directly on the welding table or any other surface in contact with the work clamp to avoid the risk of accidental arc ignition. | |
| ELECTRIC AND MAGNETIC FIELDS MAY BE DANGEROUS: Electric current flowing through any conductor creates electric and magnetic fields (EMF). EMF fields may interfere with some pacemakers and welders having a pacemaker shall consult their physician before operating this equipment. | |
![]() | CE COMPLIANCE: This equipment complies with the European Community Directives. |
| ARTIFICIAL OPTICAL RADIATION: According with the requirements in 2006/25/EC Directive and EN 12198 Standard, the equipment is a category 2. It makes mandatory the adoption of Personal Protective Equipment (PPE) having filter with a protection degree up to a maximum of 15, as required by EN169 Standard. | |
| FUMES AND GASES CAN BE DANGEROUS: Welding may produce fumes and gases hazardous to health. Avoid breathing these fumes and gases. To avoid these dangers the operator must use enough ventilation or exhaust to keep fumes and gases away from the breathing zone. | |
| ARC RAYS CAN BURN: Use a shield with the proper filter and cover plates to protect your eyes from sparks and the rays of the arc when welding or observing. Use suitable clothing made from durable flameresistant material to protect you skin and that of your helpers. Protect other nearby personnel with suitable, non-flammable screening and warn them not to watch the arc nor expose themselves to the arc. | |
| WELDING SPARKS CAN CAUSE FIRE OR EXPLOSION: Remove fire hazards from the welding area and have a fire extinguisher readily available. Welding sparks and hot materials from the welding process can easily go through small cracks and openings to adjacent areas. Do not weld on any tanks, drums, containers, or material until the proper steps have been taken to insure that no flammable or toxic vapors will be present. Never operate this equipment when flammable gases, vapors or liquid combustibles are present. | |
| WELDED MATERIALS CAN BURN: Welding generates a large amount of heat. Hot surfaces and materials in work area can cause serious burns. Use gloves and pliers when touching or moving materials in the work area. | |
| CYLINDER MAY EXPLODE IF DAMAGED: Use only compressed gas cylinders containing the correct shielding gas for the process used and properly operating regulators designed for the gas and pressure used. Always keep cylinders in an upright position securely chained to a fixed support. Do not move or transport gas cylinders with the protection cap removed. Do not allow the electrode, electrode holder, work clamp or any other electrically live part to touch a gas cylinder. Gas cylinders must be located away from areas where they may be subjected to physical damage or the welding process including sparks and heat sources. | |
| MOVING PARTS ARE DANGEROUS: There are moving mechanical parts in this machine, which can cause serious injury. Keep your hands, body and clothing away from those parts during machine starting, operating and servicing. | |
| SAFETY MARK: This equipment is suitable for supplying power for welding operations carried out in an environment with increased hazard of electric shock. |
The manufacturer reserves the right to make changes and/or improvements in design without upgrade at the same time the operator’s manual.
Intoduction
SPEEDTEC® 400SP&500SP are multi-process inverter power sources that work with digital wire feeders and the ArcLink® protocol is used for communication.
Power source with wire feeder allows the welding of:
- GMAW (MIG/MAG)
- FCAW-GS / FCAW-SS
- SMAW (MMA)
- GTAW (arc ignition using lift TIG).
- GOUGING CAG
SPEEDTEC® 400SP&500SP work with the water cooler COOLARC® 60.
The complete packaging includes the following items:
- Power source
- USB with Operator’s Manual
- Welding cable with ground clamp- 3m
- Slow-blow fuse – 2A (2 units)
- Slow-blow fuse – 6,3A (1 unit)
- Slow –blow fuse – 12.5A (1 unit).
- Gas hose -2m
Recommended option and accessories, which can be bought separatelly by user, you can find in the chapter “Accessories”.
Installation and Operator Instructions
Read this entire section before installation or operation of the machine.
Location and Environment
This machine will operate in harsh environments.
However, it is important that simple preventative measures are followed to assure long life and reliable operation.
- Do not place or operate this machine on a surface with an incline greater than 15° from horizontal.
- Do not use this machine for pipe thawing.
- This machine must be located where there is free circulation of clean air without restrictions for air movement to and from the air vents. Do not cover the machine with paper, cloth or rags when switched on.
- Dirt and dust that can be drawn into the machine should be kept to a minimum.
- This machine has a protection rating of IP23. Keep it dry when possible and do not place it on wet ground or in puddles.
- Locate the machine away from radio controlled machinery. Normal operation may adversely affect the operation of nearby radio controlled machinery, which may result in injury or equipment damage.
Read the section on electromagnetic compatibility in this manual. - Do not operate in areas with an ambient temperature greater than 40°C.
Duty cycle and Overheating
The duty cycle of a welding machine is the percentage of time in a 10 minute cycle at which the welder can operate the machine at rated welding current.
Example: 60% duty cycle

Excessive extension of the duty cycle will cause the thermal protection circuit to activate.

Input Supply Connection
WARNING
Only a qualified electrician can connect the welding machine to the supply network. Installation the outlet plug to power lead and connecting the welding machine had to be made in accordance with the appropriate National Electrical Code and local regulations.
Check the input voltage, phase, and frequency supplied to this machine before turning it on. Verify the connection of grounding wires from the machine to the input source.
SPEEDTEC® 400SP&500SP can only be connected to a mating grounded receptacle.
The machine is designed for operates on 380V, 400V, or 440V 50Hz or 60Hz three phase power. Switching between voltages is made simple via a reconnect panel located inside the machine. For more information about input supply refer to the technical specification section of this manual and to the rating plate of the machine.
Make sure that the amount of mains power available from the input supply is adequate for normal operation of the machine. The type of protection and cable sizes are indicated in the technical specification section of this manual.
WARNING
The welding machine can be supplied from a power generator of output power at least 30% larger than input power of the welding machine.
See “Technical Specifications” chapter.
WARNING
When powering welder from a generator be sure to turn off welding machine first, before generator is shut down, in order to prevent damage to welding machine!
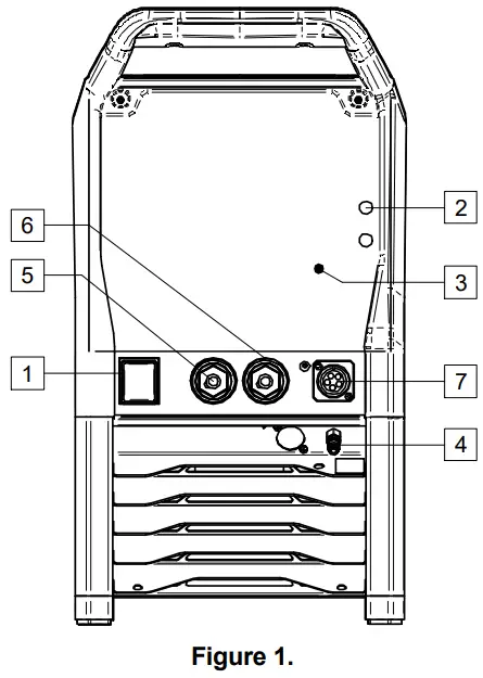
Refer to points [1], and [8] of the images below.
Output Connections
Refer to points [5], [6] and [7] of the Figures below.
Controls and Operational Features
![]()
- Power Switch ON/OFF (I/O): Controls the input power.
Be sure the power source is properly connected to the mains supply before turning power on (“I”). - Status Light: A two color light that indicates system errors. Normal operation is steady green light. Error conditions are indicated, per
Table 1.
NOTE: The status light will flash green, and sometimes red and green, for up to one minute when the machine is first turned on. When the power source is powered it can take as long as 60 seconds for the machine to be ready to weld. This is a normal situation as the machine goes through initialization.
Table 1.LED Light Condition Meaning Only machines which using ArcLink® protocol for communication Steady Green System OK. Power source is operational, and is communicating normally with all healthy peripheral equipment. Blinking Green Occurs during power up or a system reset, and indicates the power source is mapping (identifying) each component in the system. Normal for first 1-10 seconds after power is turned on, or if the system
configuration is changed during operation.
Alternating Green and Red If the status lights are flashing any combination of red and green, errors are present in the power source. Individual code digits are flashed in red with a long pause between digits. If more than one code is present, the codes will be separated by green light. Read the error code before the machine is turned off. If occurs, to clear the error try to turn Off the machine, wait for a few seconds, then turn ON again. If the error remains, a maintenance is required. Please contact the nearest authorized technical service center or Lincoln Electric and report the error code read. Steady Red Indicate no communication between the power source and device which has been connected to this power source. - Light indicator:
•
Thermal Overload [yellow]: It indicates that the machine is overloaded or that the cooling is not sufficient.
• VRD [green]: It indicates status of the VRD light on VRD machine version only (see “VRD” chapter).
Gas Connector: For connection a gas hose from interconnecting cable.
Negative Output Socket for the Welding Circuit: Depending on the configuration of power source, for connecting a work lead, the electrode holder with lead or the source/wire feeder welding cable.
Positive Output Socket for the Welding Circuit: Depending on the configuration of power source, for connecting a work lead, the electrode holder with lead or the source/wire feeder welding cable..
Control Receptacle: 5 pins receptacle for wire feeder or remote controller connection. To communication wire feeder or remote controller with power source is used ArcLink® protocol.
- Power lead (5m without plug): Connect the supply plug to the existing input cable that is rated for themachine as indicated in this manual, and conforms to all applicable standards. This connection shall beperformed by a qualified person only.
- Fuse F3: Use the 12,5A/400V (6,3x32mm) slow-blowfuse. See “Spare Parts” chapter.
- Fuse F4: Use the 6,3A/400V (6,3x32mm) slow-blowfuse. See “Spare Parts” chapter.
- Fuse F1: Use the 2A/400V (6,3x32mm) slow-blowfuse. See “Spare Parts” chapter.
- Fuse F2: Use the 2A/400V (6,3x32mm) slow-blowfuse. See “Spare Parts” chapter.
Ethernet Socket: Allows to connect the power source directly to a computer or to a network for software updates , diagnostics (Power Wave Manager) or production monitoring (CheckPoint®).- Gas Heater Socket: Usup = 24VAC, Pmax = 80W.
- Gas Connector: For connection a gas hose from cylinder.
- Cover bracket: To install the welding and control sockets on the rear panel of the machine (see “Accessories” chapter) to connect the wire feeder.
- Reconnect Terminal Block: It is placed inside machine. To reconnect auxiliary transformer for the proper input voltages (see “Input Voltage Selection” chapter).

Input Voltage Selection
SPEEDTEC® 400SP&500SP are shipped connected for 380V and 400V input voltage.
If it is necessary to change the input voltage:
- Switch off the machine.
- Unscrew the left side of case.
- Put the X20 plug (see Fig. 3) in the proper position:
- For 380V or 400V connect with X21
- For 440V connect with X22
- Screw the the left side of case.
VRD (VRD machine version ONLY)
The VRD (Voltage Reduction Device) feature provides additional safety in the CC-Stick mode. The VRD reduces the OCV (Open Circuit Voltage) at the welding output terminals while not welding to less than 35VDC peak.
The VRD requires that the welding cable connections be kept in good electrical condition because poor connections will contribute to poor starting. Having good electrical connections also limits the possibility of other safety issues such as heat-generated damage, burns and fires.
The machine is shipped with VRD “Enabled”. The VRD function can be disabled or enabled via X22 plug on the inverter P.C. board. The inverter board and plug can be accessed by removing the right side of case (see Fig. 4).
If it is necessary to enable/desable the VRD feature:
- Switch off the machine.
- Unscrew the right side of case.
- Connecte/Disconnect X22 plug with J22 socket:
- Connected – VRD is off.
- Disconnected – VRD is on.

WARNING
Only a qualified electrician can enable/desable the VRD in the welding machine.
When VRD is active, a green light indicates the open circuit voltage is less than 35V peak. Light will illuminate for 5 seconds upon power up. The behavior of the VRD light is listed in the table 2.
The VRD applies to the constant current modes of operation. Only in these modes will the OCV be reduced.
Table 2.
| VRD light indicator status | ||
| CC modes | CV modes | |
| OCV off | ON | OFF |
| OCV on | ON (OCV reduced) | OFF |
| While Welding | OFF | OFF |
Welding Cables Connection
Insert the plug of the work lead into the socket [5]. The other end of this lead connects to the work piece with the work clamp.
Connect the wire feeder to the power source:
- Insert the positive welding cable into the output socket [6].
- Insert the wire feeder control cable into the socket [7] (see “Accessories” chapter, Source/wire feeder cable K10198-PG-xM or K10199-PGW-xM).
Use the shortest possible cable lengths.
Water Cooler Connection
SPEEDTEC® 400SP&500SP work with the water cooler COOLARC® 60 (see “Accessories” chapter).
WARNING
Read and understand the cool er manual before connecting it to the power source.
Before connecting cooler, refer to the manual of wire feeder.
The COOLARC® 60 is supplied by welding power sources using 10-PIN socket. Input voltages is 400V, 50/60Hz. Connect the cooler in accordance with the instructions supplied with COOLARC® 60.

Connection to the Ethernet network
SPEEDTEC® 400SP&500SP is equipped with an ethernet communication interface (RJ45 socket).
Default power source settings are designated to Direct Connection where PC IP address is set to range 169.254.0.
| SPEEDTEC® default factory settings | |
| DHCP | off |
| IP Address | 169.254.0.2 |
| Subnet Mask | 255.255.255.0 |
| Default gateway | 169.254.0.1 |
SPEEDTEC® with PC Connection
According to network infrastructure we can distinguish 2 different connection types:
- Direct Connection
- Local Area Network
a) with static IP addresses
b) with dynamic IP addresses (DHCP server, e.g. Router)

The simplest case where SPEEDTEC® is connected to PC with one, common ethernet cable.
Use above network settings for your PC.
Please refer guide how to change TCP/IP settings (IP address) in your PC operating system available in your system help or internet.
WARNING
Sometimes 5 minutes delay is require after ethernet cable was connected to establish the connection between SPEEDTEC® and PC (especially when your PC was set to Obtain an IP address automatically” from DHCP server before).
2. Local Area Network
a) Static IP Addresses
When SPEEDTEC® is connected to the network which equipped with a Hub or Switch (no DHCP server) it irequired to set proper IP address from the actusubnetwork range to SPEEDTEC® and PC.
Example:
Please refer guide how to change TCP/IP settings (IP address) in your PC operating system available in your system help or internet.
In order to change SPEEDTEC IP address use Direct Connection first (see chapter 1) to change SPEEDTEC® configuration.
- connect to SPEEDTEC® by Direct Connection
- run Power Wave Manager software on your PC (available on www.powerwavesoftware.com)
- Step 1: choice “I do not know the IP address of the welder”
- Step 2: click on row with SPEEDTEC® IP Address and Model Name
- Step 3: click on “Configure” button
- Step 4: change IP address, Subnet mask, Default gateway
- Step 5: click “OK” button
- Confirm new settings by clicking “Yes”. Machine will be restarted.
- Connect SPEEDTEC® to Network Switch back.

b) Dynamic IP Addresses (DHCP Server, e.g. Router)
When SPEEDTEC® is connected to the network which is equipped with a DHCP server it is required to set proper configuration of the SPEEDTEC® and PC.
Please refer guide how to change TCP/IP settings to Obtain an IP address automatically in your PC operating system available in your system help or internet.
In order to switch SPEEDTEC® to “Obtain an IP address automatically” use Direct Connection first (see chapter a) to change SPEEDTEC® configuration.
- connect to SPEEDTEC® by Direct Connection
- run Power Wave Manager software on your PC® (available on
- www.powerwavesoftware.com)
- Step 1: choice “I do not know the IP address of the welder”
- Step 2: click on row with SPEEDTEC® IP Address and Model Name
- Step 3: click on “Configure” button
- Step 4: choice “Obtain an IP address automatically”
- Step 5: click “OK” button
- Confirm new settings by clicking “Yes”. Machine will be restarted.
- Connect SPEEDTEC® to Network Router.

Machine and Circuit Protection
Power Source is protected against overheating, overload and accidental short-circuits.
If the machine is overheated, the thermal protection circuit will decrease the output current to 0. The thermal protection indicator [3] will turn on.
The Power Source is also electronically protected against overload and accidental short-circuit. The overload and short-circuit protection circuit automatically reduces the output current to a safe value when it detects an overload.
Transport & Lifting
WARNING
Falling equipment can cause injury and damage to unit.

During transportation and lifting with a crane, adhere to the following rules:
- Power source does not include the eye bolt which can be used to transport or lifting the machine.
- To lift use of suitable lifting equipment capacity.
- To lifting and transport use a travers and minimum two belts.
- Lift only power source without gas cylinder, cooler and wire feeder, or/and any other accessories.
Maintenance
WARNING
For any repair operations, modifications or maintenances, it is recommended to contact the nearest Technical Service Center or Lincoln Electric. Repairs and modifications performed by unauthorized service or personnel will cause, that the manufacturer’s warranty will become null and void.
Any noticeable damage should be reported immediately and repaired.
Routine maintenance (everyday)
- Check condition of insulation and connections of the work leads and insulation of power lead. If any insulation damage exists replace the lead immediately.
- Remove the spatters from the welding gun nozzle. Spatters could interfere with the shielding gas flow to the arc.
- Check the welding gun condition: replace it, if necessary.
- Check condition and operation of the cooling fan.
Keep clean its airflow slots.
Periodic maintenance (every 200 working hours but at list once every year)
Perform the routine maintenance and, in addition:
- Keep the machine clean. Using a dry (and low pressure) airflow, remove the dust from the external case and from the cabinet inside.
- If it is required, clean and tighten all weld terminals.
The frequency of the maintenance operations may vary in accordance with the working environment where the machine is placed.
WARNING
Do not touch electrically live parts.
WARNING
Before the case of welding machine will be removed, the welding machine had to be turned off and the power lead had to be disconnected from mains socket.
WARNING
Mains supply network must be disconnected from the machine before each maintenance and service. After each repair, perform proper tests to ensure safety.
Customer Assistance Policy
The business of The Lincoln Electric Company is manufacturing and selling high quality welding equipment, consumables, and cutting equipment. Our challenge is to meet the needs of our customers and to exceed their expectations. On occasion, purchasers may ask Lincoln Electric for advice or information about their use of our products. We respond to our customers based on the best information in our possession at that time. Lincoln Electric is not in a position to warrant or guarantee such advice, and assumes no liability, with respect to such information or advice. We expressly disclaim any warranty of any kind, including any warranty of fitness for any customer’s particular purpose, with respect to such information or advice. As a matter of practical consideration, we also cannot assume any responsibility for updating or correcting any such information or advice once it has been given, nor does the provision of information or advice create, expand or alter any warranty with respect to the sale of our products Lincoln Electric is a responsive manufacturer, but the selection and use of specific products sold by Lincoln Electric is solely within the control of, and remains the sole responsibility of the customer. Many variables beyond the control of Lincoln Electric affect the results obtained in applying these types of fabrication methods and service requirements.
Subject to Change – This information is accurate to the best of our knowledge at the time of printing. Please refer to www.lincolnelectric.com for any updated information.
WEEE
Do not dispose of electrical equipment together with normal waste!
In observance of European Directive 2012/19/EC on Waste Electrical and Electronic Equipment (WEEE) and its implementation in accordance with national law, electrical equipment that has reached the end of its life must be collected separately and returned to an environmentally compatible recycling facility. As the owner of the equipment, you should get information on approved collection systems from our local representative.
By applying this European Directive you will protect the environment and human health!
Spare Parts
Part List reading instructions
- Do not use this part list for a machine if its code number is not listed. Contact the Lincoln Electric Service Department for any code number not listed.
- Use the illustration of assembly page and the table below to determine where the part is located for your particular code machine.
- Use only the parts marked “X” in the column under the heading number called for in the assembly page (# indicate a change in this printing).
First, read the Part List reading instructions above, then refer to the “Spare Part” manual supplied with the machine, that contains a picture-descriptive part number cross-reference.
REACh
Communication in accordance with Article 33.1 of Regulation (EC) No 1907/2006 – REACh.
Some parts inside this product contain:
| Bisphenol A, BPA, Cadmium, Lead, Phenol, 4-nonyl-, branched, | EC 201-245-8, CAS 80-05-7 EC 231-152-8, CAS 7440-43-9 EC 231-100-4, CAS 7439-92-1 EC 284-325-5, CAS 84852-15-3 |
in more than 0,1% w/w in homogeneous material. These substances are included in the “Candidate List of Substances of Very High Concern for Authorisation” of REACh.
Your particular product may contain one or more of the listed substances.
Instructions for safe use:
- use according to Manufacturer instructions, wash hands after use;
- keep out of reach of children, do not put in mouth,
- dispose in accordance with local regulations.
Authorized Service Shops Location
- The purchaser must contact a Lincoln Authorized Service Facility (LASF) about any defect claimed under Lincoln’s warranty period.
- Contact your local Lincoln Sales Representative for assistance in locating a LASF or go to www.lincolnelectric.com/engb/Support/Locator.
Electrical Schematic
Refer to the “Spare Part” manual supplied with the machine.
Accessories Suggested
| K14335-1 | LF 52D |
| K14336-1 | LF 56D |
| K14297-1 | COOLARC® 60 |
| K14347-1 | PANEL U7 |
| K14348-1 | 12PIN REMOTE CONTROL KIT |
| K14203-1 | REMOTE CONTROL RC-U7 ADVANCED |
| W000010167 | FREEZCOOL 9,6L |
| K14298-1 | 4-WEELS CART |
| K14337-1 | OUTPUT CONNECTION KIT (400SP&500SP) |
| Welding cables | |
| GRD-400A-70-5M | GROUND CABLE 400A/70MM²; 5 m |
| GRD-400A-70-10M | GROUND CABLE 400A/70MM²; 10 m |
| GRD-400A-70-15M | GROUND CABLE 400A/70MM²; 15 m |
| GRD-600A-95-5M | GROUND CABLE 600A/95MM²; 5 m |
| GRD-600A-95-10M | GROUND CABLE 600A/95MM²; 10 m |
| E/H-400A-70-5M | ELECTRODE HOLDER 400A/70MM² – 5 m |
| W000010136 | FLAIR 600 GOUGING TORCH with airflow regulated on the torch |
| Intermediate hose package AIR | |
| K14198-PG | CABLE PACK 5PIN G 70MM2 1M |
| K14198-PG-3M | CABLE PACK 5PIN G 70MM2 3M |
| K14198-PG-5M | CABLE PACK 5PIN G 70MM2 5M |
| K14198-PG-10M | CABLE PACK 5PIN G 70MM2 10M |
| K14198-PG-15M | CABLE PACK 5PIN G 95MM2 15M |
| K14198-PG-20M | CABLE PACK 5PIN G 95MM2 20M |
| K14198-PG-25M | CABLE PACK 5PIN G 95MM2 25M |
| K14198-PG-30M | CABLE PACK 5PIN G 95MM2 30M |
| Intermediate hose package WATER | |
| K14199-PGW | CABLE PACK 5PIN W 95MM2 1M |
| K14199-PGW-3M | CABLE PACK 5PIN W 95MM2 3M |
| K14199-PGW-5M | CABLE PACK 5PIN W 95MM2 5M |
| K14199-PGW-10M | CABLE PACK 5PIN W 95MM2 10M |
| K14199-PGW-15M | CABLE PACK 5PIN W 95MM2 15M |
| K14199-PGW-20M | CABLE PACK 5PIN W 95MM2 20M |
| K14199-PGW-25M | CABLE PACK 5PIN W 95MM2 25M |
| K14199-PGW-30M | CABLE PACK 5PIN W 95MM2 30M |
Connection configuration

Lincoln Electric Bester Sp. z o.o.
ul. Jana III Sobieskiego 19A, 58-260 Bielawa, Poland
www.lincolnelectric.eu




















