CAMPER-POINT 32908405988 500W Wind Turbine with Controller

The Safety Warning and the Attention
Attention
- The main shaft’s nut is the self-locking nut , please fasten the nut to avoid the hub and blades both dropping town.
- For the correct installation and use of this equipment, please read the safety warning and attention carefully before using it and strictly follow the instruction.
Basic requirements
- Do not disassemble the equipment by you. Please contact the specified maintenance department when the equipment is out of order.
- Without any authority, any company or individual mustn’t change the equipment structure, the safety and performance design.
Assembly Requirements
- Before the assembly of the wind generator or in the process of maintenance, please be sure to read the manual first..
- Please don’t install the wind turbines in rainy days or when the wind scale is at Level 4 or above.
- After dismantling the package, you are proposed to short the three leads of the wind turbines (the exposed copper parts should be screwed together).
- Before the installation of the wind turbine, lightning grounding must be prepared. You can arrange the facilities according to national standards, or you may your own idea to arrange them according to the local environment and soil condition. Table 1 is for reference.

When assembling the Wind turbine, all the parts should be fixed according to the parametersSerial numb er
Fasteners name Type and specificat ion
quantity Nuts tightening torque (cow. Meters)
remarks
Executive standard 1 Flange bolts M12*55 4 galvanized 2 Flat gasket D12.2 4 galvanized 3
Elastic gasket D12.2
4
galvanized 4
nut
M12
4
58
galvanized 5 Stainless steel flange bolts M6*40 6 galvanized 6 Stainless steel against pine nuts
M6*40 6 not less than 13.6
one-time use 7
Stainless steel against pine blind nut M16
1
not less than 68
one-time use
- Before the connection between the wind turbine base and the bracket flange, please link the three leads of the wind turbine to the three leads of the bracket accordingly. When using the hinge method, every pair of wires should be no less than 30mm in length and be wrapped with Acetate cloth tape for three plies. Then please throw on glass paint tube. With this method, please connect the three pairs of wires (attention: the joint of the wires can’t bear the weight of the tower leads directly, so it must be 100mm away from the joint and be fastened with rubber belt, and then stuffed into the supporting stand of the steel pipe. After that, it can be connected with the flange.)
- Before hoisting the wind turbines, the end of the tower lead should be cut away the insulating layer for 10mm or so. Then screw the three exposed leads stubs (shot circuit) together.
- During the installation, it is prohibited to revolve the rotor blades roughly (the ends of wind turbine leads or the tower leads are short-circuited at this moment). Only after all the installation and the examination is finished and the security of the erection crew is guaranteed, it is allowed to dismantle the terminal short circuit and be connected with the charger and battery to test the function.
Attention:
The battery should be connected with the controller before wind turbine is connected with the controller. If above-stated instructions are not followed when assembling and installing the wind turbines,
we are sorry that any problem or failure resulting are not to be covered by warranty.
Product Description
- Starting with low speed; high wind energy utilization; beautiful appearance; low vibration on operation.
- Being installed by human design and easy for installation, maintenance and repair.
- Being molded through precise injection with new process, together with the optimized design of aerodynamic contour and structure, our wind turbine blades have such advantages: high utilization of wind energy which contributes to the annual energy output.
- Our generators, adopting patented permanent magnet rotor alternator, with a special kind of stator design, efficiently decrease resistance torque of the generators. Meanwhile, it makes the wind turbines match the generators quite well and increase the reliability of their operation.
- Using the maximum power intelligent tracking microprocessor so as to effectively adjust the current and voltage.
Tower and Accessories Production
- In terms of this type of wind turbine in our company, its flange base is installed on the barrel-type tower whose iron pipe OD is 75mm and wall thickness is 4.5 mm.
- Being the main body of a barrel-type tower, the iron pipe’s length can be adjusted according to the wind and environment of the place where the user is going to install the wind turbines.
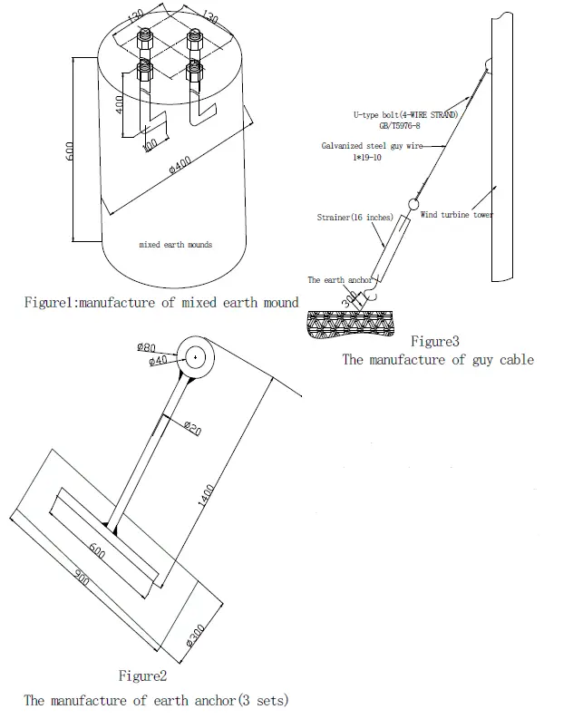
- Tower accessories include (1) the production of the upper tower. (2) The cable group. (3) Tightening line device. (4) Anchor. (5) Line hook. (6) Base pier. (7) Anti-tarnish, anticorrosive, surface coating materials.
- The production style and size of the upper tower size is shown in Figure II. Its requirement: solid welding; no leak at the weld zone; the earth lug must be welded 20cm away from the ground. It will be connected to the lightning grounding device.

Technical requirement
- L-type bolts for four galvanized wire strands; screws should be 60 higher from the mixed earth surface.
- C25 mortar can be used for mixed earth.
- The metal parts should be under the treatment of anti-corrosion and rustproofing.
Table 1 the fabrication of anchor, lasso, and guy cable

- The arrangement of the lightening protection earth resistance can refer to the national standard, the European standard, and American standard. You can also refer to the figure1 on the manual to help arrange.
- We are able to provide the towers and accessories according to the special requirements of the users.
The Wind Turbine Installation Steps
It is prohibited to assemble and install wind turbines in rainy days.
- The current transmission and insulated wires: transmission lines are built in the bracket iron pipe. Their upper parts can be led out through the bore of the flange joint while the bottom ones are led out from the opening which is 30cm away from the ground. The section from the bore to the point which is 60cm away from the earth surface should be protected by iron pipes whose O.D should be 17mm to 21mm. The underground paths of the transmission lines can be combined together with an iron pipe or a plastic pipe, and then be connected to the place where the controller is located.
- The installation sequence of the wind turbines can follow the steps as illustrated in figure3.
- Place the steel bracket on the ground; block up the flange joint to 1.3m.
- Remove the wind turbine flange base to the flange joint. According to the seventh article in the Safety Manual, please connect the leads and transmission lines respectively.
- After the flange bolt (9) is mounted on the flap gasket (10), plug it in the correspondent jacks of the flange base with the bolt’s head being up. Set the bolt silk into the elastic washer and then use a spanner to tighten the nut with the flange bolts silk. Similarly, plug other bolts, flat gasket, elastic washer, and nuts in the corresponding jacks. Screw down four nuts. Please refer to table 2 about the efforts needed to tighten up them.
- The installation of the wind wheel blades: install the diplopia of the wind wheel blades (6) onto the groove of the wind wheel hub(5). You shall match them perfectly. Otherwise, you can turn one blade back and then do the installation work. Please penetrate the stainless flange screw(13) into the pore from the front, then tighten up the anti-slack nut(14) (attention: the anti-slak nut is disposable, so it can only be screwed, but not be loosened). The operation on the other baldes is similar. Please refer to table2 about the efforts needed on them.
- First, put the big head end in the hexagonal hole of the wind wheel hub, then put them into the threaded spindle of the wind turbine. Press on the nut with your left hand while twist the wind wheel clockwise with your right hand. When the nut propels, use the extended hex wrench to lock the nut together with the dental wind wheel blades.
- The installation of the fairing: the fit between the fairing(8) and the wind wheel hub(5) belongs to the clasp. The three gaps of the fairing are for the three blades, thus use your hands to clap the fairing pyramid so as to help them get into the seams of the wind wheel hub.
- The lifting of the wind turbines and tower should be finished with the presence of skilled slingers and the security should be guaranteed. The tower’s stance should be executed on the basis of the relevant requirement of permanent constuction.
- After the installation of the tower and the lightning protection, use a megger of 500W to measure the resistance between the transmission lines and the earth ( the lightning protection line can represent the earth) in the case of not loosening the transmission short-circuiting ends. The value should not be less than 5 MΏ. Otherwise, it may cause the insulating layer crushed or the joint to be moistened.

The Transmission Line Connecting With Inverter.
Avoid heavy rain days for the first commissioning. Priority should be given to the days with the gentle breeze of strong wind( wind speed: 5~13m/s).
- Please correctly connect the positive and negative poles of the storage battery to the ones of the binding posts( solar cell-binding posts for spare use) on the controller( exclusive for wind turbines).
- The load circuit is connected to the plug seat on the back of the controller through the fuse, switch, and plug.
- The three transmission lines of a wind turbine are connected to the three-terminal (hole) on the back of the controller. As for the connection theory, you can refer to the relevant manual of the dedicated controller for wind generators, wind solar hybrid streetlight controller and the dedicated inverter for wind-solar generators.
- The D.C. voltmeter, being equipped with the inverter, indicates the storage battery’s voltage while the charging current shows the storage battery’s charging current. The alternating output voltmeter indicates the output voltage of the day. The red switch takes charge of the AV output. That is to say, the break of AC output will not influence the charging of the wind generator to storage battery. There are many indicating lamps with different colors on the central panel of the inverter ‘s frontage. They indicate the working condition when the inverter has different functions and give warnings when the inverter deviates the normal operation condition.
- Usually, it is suggested to choose the fixed type lead-acid storage battery at a cheap price. For instance, you can choose a 100AH storage battery for the 200w wind generator, 400~600AH for 500w. The span of charging voltage is totally controlled by the inverter. The wind generators adopt the float-filling system to charge the storage battery. As for the float-filling current, it is related to the degree of depreciation, depth of discharge and maintenance. Usually, after the initial charge or the deep discharge, the beginning value will not be less than 8A per 100AH. With the time going, it may reduce to 3~1A. After it charges up, it can reach to 50~100MA or so.
- The inverter should be put in dry and draughty places so as to resist the humid air and dust. Please make sure that the inverter’s jacket is connected to the earth and over 1.5m away from the storage battery.
- In order to maintain its charge and discharge capacity as well as its life expectancy, the storage battery should be installed in such places where they are dry, cool and ventilated in summer and warm in winter.

Connection diagram of a wind turbine, solar panel, and electrical appliance.
Maintenance and Precautions
- Wind generators often work in poor environments, thus please make sure you have time to check them with your sight and hearing; check whether the tower is swaying or whether the cable is loose (using a telescope is also a good idea).
- A timely inspection should be made after a heavy storm. If there is any problem, please put down the tower slowly for maintenance. With regard to the wind turbines for streetlights, there should be electrician climbing the pole to check if there is any problem when the security protection measures are prepared.
- The free maintenance batteries should be kept clear.
- Do not disassemble the equipment by yourself. Please contact the specified maintenance department when the equipment is out of order.
Quality Guarantee
- To ensure quality, Napier products will go through strict examination before leaving the factory. Therefore we promise to customers that the generators are in excellent quality and complete.
- Napier products have a year’s warranty since the day they are bought. In regard to the failure of the products because of one’s repack or without authorization a year’s guarantee,We don’t keep the maintenance, occurred in the following situation: Dismantle and repair it by yourself or seriously violate compasses operation (not according to instructions use)
- The documents were as a product Warranty certificate, please properly preserved.
User information table
| Sales company: | Purchase company: |
| Purchase time: | Contact person: |
| SBBH: | Contact: |
| Model: | Zip code: |
Maintenance records
| Date | Maintenance species | Summary | SMT rework |





















