OCTAVE-1 Lunii Headphones User Manual

Octave uses a sound control circuit that is always active and reliable. It is durable and built to last. Maximum volume is limited to 85 decibels, the level recommended by the WHO and by many leading health organisations in the US and the EU.
KEEP SHARING
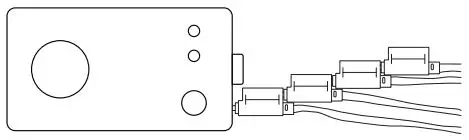
The headphones are equipped with a built-in audio splitter, enabling you to share your stories and music by connecting a second audio cable perfect for listening with your best friends. Up to four headsets can be connected to one device.

SUPER DURABLE
Designed specifically for children, the Octave headset is robust and built to last.

CAUTION
- Do not immerse or even splash the headphones with water. The product is not waterproof.
- Do not expose to extreme temperatures.
- Do not attempt to open the earphones, there are no user serviceable parts and you will invalidate your warranty.
- Clean the headphones only with a soft dry cloth. Do not use any abrasive cleaners.
- Do not use in situations that require your full awareness such as driving or cycling.
- Not for use with high powered amplifiers. Please use with care.
WARNING: Do not use the cable for any other purposes than those included in the user manual. Do not plug the cable to an electrical socket.
![]()
Complies with the European Union’s “Restriction of Hazardous Substances Directive”, which protects the environment by restricting specific hazardous materials and products.
This product bears the CE mark in accordance with the provisions of the RoHS Directive (2011/65/EU). Lunii & One-off hereby declare that the product complies with the essential requirements and other relevant provisions indicated in the Directive 2011/65/EU. The user is prohibited from making changes or modifications of any kind to the device. Changes or modifications to the product not expressly approved by Lunii will void the user’s permission to operate the device.
INSTRUCTIONS FOR THE DISPOSAL OF EQUIPMENT FOR HOUSEHOLD USERS (Applicable to countries in the European Union and those that use waste separation systems). The marking on the product or documentation indicates that the product should not be disposed along with other household waste at the end of its life. To prevent potential harm to the environment or human health caused by unmonitored waste disposal, the user is advised to separate this product from other types of waste and to responsibly recycle it, in order to promote the sustainable re-use of material resources. Household users are invited to contact either the retailer where the product was purchased, or their relevant local government office for information on separate collection and recycling for this type of product. Professional users are invited to contact their supplier to verify the terms and conditions of the purchase agreement.
Powered by One-off / Designed in Iceland & Hong Kong. Made in China. All rights reserved. More information at www.lunii.com & www.onanoff.com.


















