ifi iEMatch+ User Manual
Product Overview

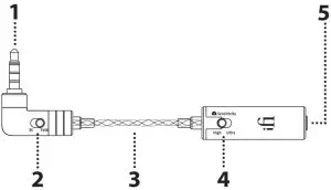
- Audio signal input (3.5mm male plug)
Connect to the output of the smartphone, digital audio player or music source. - TRRS-Balanced® switch
Select single-ended (SE) or Balanced (BAL) operation.
Tip: There is no need to switch to SE to use a single-ended headphone with a TRS (3-connection) plug. The conversion to single-ended is automatic. The switch can be set to BAL or SE with no ill effect.
If using a balanced headphone with the TRRS connection, leave the switch on BAL. If you discover a channel is missing, please switch to SE as your music source only supports single-ended operation.
If using a headphone with microphone, please switch to SE. The microphone will be disabled. - Cable
The minZ™ cable construction is a custom helix design, minimised both in capacitance and inductance. The minZ™ helix construction also provides intrinsic shielding and protects the cable from RFI and EMI noise. This ensures the cleanest possible transfer medium. - iEMatch+® for headphones/In-Ear-Monitors
Adjust the desired volume ‘on-the-go’ to ensure a safe, comfortable listening level whilst, at the same time, enjoying lower background noise and maximum dynamics.
There are two sensitivity settings:- High: For high-sensitivity headphones.
- Ultra: For ultra-sensitivity headphones.
Tip: Feel free to try both and see which listening level works best with your headphones and your listening preferences.
For the technically-inclined, High-sensitivity and Ultra-sensitivity reduce gain by -12dB and -24dB respectively.
Please note that with the iEMatch+® in-line, you are able to turn up the volume on the music source far more. In extreme cases, this may cause the internal amplifier of the music source to enter into ‘clipping mode’ and produce unwanted audio distortion. This is no cause for alarm. If this occurs, please reduce the volume or the sensitivity level of the iEMatch+® accordingly.
- Audio signal output (3.5mm female socket)
Headphone output.
Specifications
- Ultra (-24dB) & High-Gain (-12db) sensitivity adjustment
- TRRS-Balanced® for Single-Ended and Balanced operation
- Custom minZ™ helix construction design, intrinsic shielding provided by minZ™ helix
- 6N silver/copper matrix wiring with FINAL6063-T5 aluminium-magnesium alloy shell
- Gold-plated printed circuit board with audiophile components (eg MELF resistors)
- Gold-plated 3.5mm male/female connectors
- Input Impedance: > 16 Ohm
- Output Impedance:
< 2.5 Ohms (High-Sensitivity)
< 1 Ohms (Ultra-Sensitivity) - Weight: 12.8 g (0.45 oz)
- Total Length : 116 mm (4.6″)
- Warranty period: 12 months
Specifications are subject to change without notice.
Travel accessories included
- Gold plated airplane adapter
- Soft foam contoured ear plugs (-37dB)
- Fabric travel pouch
Website: ifi-audio.com



















