River OF GOODS 20598 Laurel 1-Light Gold Metal Floor Lamp with Cream Fringe Shade

Product Information
This portable lamp is equipped with a polarized plug, designed to reduce the risk of electric shock. The plug has one blade that is wider than the other, allowing it to fit in a polarized outlet in only one way. This lamp is compatible with E26 Type A bulbs with a maximum wattage of 60W or E26 CFL bulbs with a maximum wattage of 13W. Please note that the bulbs are not included with the lamp.
Product Usage Instructions
- Ensure that the lamp is placed on a stable and level surface.
- Locate a polarized outlet and ensure it is in good condition.
- Insert the plug into the outlet, making sure to align the wider blade with the wider slot in the outlet.
- If the plug does not fit fully into the outlet, do not force it. Instead, remove the plug and reverse its orientation.
- If reversing the plug still does not allow it to fit fully into the outlet, it is recommended to contact a qualified electrician for assistance.
- It is important to note that this lamp should not be used with an extension cord unless the plug can be fully inserted into the extension cord’s outlet.
- Do not attempt to alter or modify the plug in any way as it may compromise safety.
- Once the lamp is properly connected, you can install the appropriate bulb. Use either an E26 Type A bulb with a maximum wattage of 60W or an E26 CFL bulb with a maximum wattage of 13W.
- Ensure that the bulb is securely screwed into the lamp socket.
- Finally, turn on the lamp using the designated switch or control mechanism.
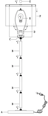
ASSEMBLY INSTRUCTIONS
- Place all parts on a flat smooth surface
- Attach Post “B” To Base “A”
- Attach Assembly “C” To Post “B”
- Clip Harp “D” To Harp Holder “C” Squeezing The Two Posts.
- Mount Shade “F” And Secure With Finial “G”
- Install Bulb “E”(Not included)
CAUTION – Refer to the wattage caution label located near the lamp holder for maximum wattage – do not exceed the maximum wattage.
WARNING – Do not attempt to replace the bulb(s) while the lamp is plugged into a wall receptacle
CARE INSTRUCTIONS – Use only a soft cloth; do not use any chemicals or abrasive cleaners.
IMPORTANT SAFETY INSTRUCTIONS
- This portable lamp has a polarized plug (one blade is wider than the other) as a safety feature to reduce the risk of electric shock.
- This plug will fit in a polarized outlet only one way. If the plug does not fit fully in the outlet, reverse the plug.
- If it still does not fit it, contact a qualified electrician.
- Never use with an extension cord unless plug can be fully inserted. Do not alter the plug.

E26 Type A.60W X 1 (Not included)
E26 CFL 13W X 1 (Not included)










