August 2020
QSG1_A_EN
Reolink WiFi IP Camera
Quick Start Guide
What’s in the Box
![]() | ![]() | ![]() |
| Camera | Antenna | Power Adapter |
![]() | ![]() | ![]() |
| 1m Network Cable | 4.5m Power Extension Cable | Mounting Hole Template |
![]() | ![]() | ![]() |
| Pack of Screws | Surveillance Card | Quick Start Guide |
NOTE: Camera and accessories vary with different camera models that you purchase.
Camera Introduction
![]() | ![]() |
Connection Diagram

Set up the Camera
Download and Launch the Reolink App or Client software, and follow the onscreen instructions to finish initial setup.
• On Smartphone
Scan to download the Reolink App.
![]() | ![]() |
| https://reolink.com/wp-json/reo-v2/app/download | |
• On PC
Download path of the Reolink Client: Go to https://reolink.com>Support>App&Client.
Install the Camera
Installation Tips
- Do not face the camera towards any light sources.
- Do not point the camera towards a glass window. Or, it may result in poor image performance because of the window glare by infrared LEDs, ambient lights, or status lights.
- Do not place the camera in a shaded area and point it towards a well-lit area. Or, it may result in poor image performance. For better image quality, please make sure that the lighting condition for both the camera and the capture object is the same.
- For better image quality, it’s recommended to clean the lens with a soft cloth from time to time.
- Make sure the power ports are not exposed to water or moisture or blocked by dirt or other elements.
- The camera comes with a waterproof design so it can work properly under conditions like rain and snow. However, it doesn’t mean the camera can work underwater.
- Do not install the camera at places where rain and snow may hit the lens directly.
- The camera may work in extremely cold conditions as low as -25°C. Because when it is powered on, the camera will produce heat. You may power on the camera indoors for a few minutes before installing it outdoors.
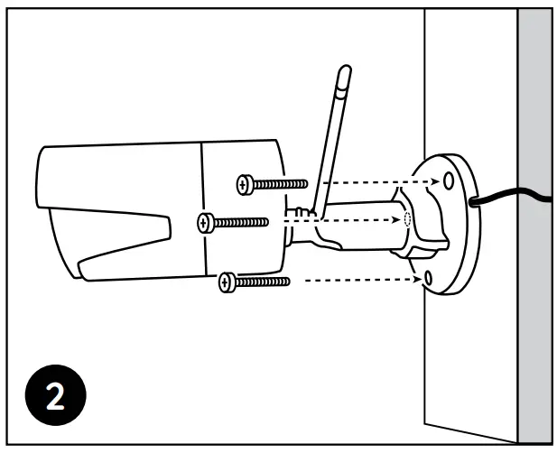
Mount the Camera

Drill holes in accordance with the mounting hole template.
NOTE: Use the drywall anchors included in the package if needed.

Install the mount base with the mounting screws included in the package.
NOTE: Run the cable through the cable notch on the mount base.

Twist the screws with the wrench to unlock the camera and adjust its direction.

After adjustment, twist the screws back to lock the camera.
Troubleshooting
IP Camera Is Not Powering on
If you find your camera is not powering on, try the following solutions:
- Please check whether the outlet is working properly or not. Try to plug the camera into a different outlet and see if it works.
- Please check whether the DC adapter is working or not. If you have another 12V DC power adapter that is working, please use another power adapter and see if it works.
If these won’t work, please contact Reolink Support https://support.reolink.com/.
IR LEDs Stop Working
If you find the IR LEDs of your camera stop working, try the following solutions: - Go to Device Settings and check whether you have enabled Infrared LEDs. If the LEDs are disabled, please enable them.
- Please go to Live View and check the Day/Night mode. Set the mode to Auto to activate the IR lights.
- Upgrade your camera’s firmware to the latest version.
- Restore the camera to the factory settings and check the IR light settings again. If these won’t work, please contact Reolink Support https://support.reolink.com/.
Failed to Upgrade the Firmware
If you cannot upgrade the firmware for the camera, try the following solutions:
- Confirm the current firmware version to see if it is the latest one.
- Make sure that you download the correct firmware from the download center.
- Make sure the network of your computer is stable. If these won’t work, please contact Reolink Support https://support.reolink.com/.
Specifications
Hardware Features
IR Distance: 30 meters (100ft) Day/Night Mode: Auto switchover
General
Operating Temperature: -10°C to 55°C (14°F to 131° F) Operating Humidity: 10%-90% Weather Resistance: IP66 waterproof
Notification of Compliance
FCC Compliance Statement
This device complies with Part 15 of the FCC Rules. Operation is subject to the following two conditions: (1) this device may not cause harmful interference, and (2) this device must accept any interference received, including interference that may cause undesired operation. Changes or modifications not expressly approved by the party responsible for
compliance could void the user’s authority to operate the equipment.
NOTE: This equipment has been tested and found to comply with the limits for a Class B digital device, pursuant to Part 15 of the FCC Rules. These limits are designed to provide reasonable protection against harmful interference in a residential installation. This equipment generates, uses, and can radiate radio frequency energy and, if not installed and used in accordance with the instructions, may cause harmful interference to radio communications. However, there is no guarantee that interference will not occur in a particular installation. If this equipment does cause harmful interference to radio or television reception, which can be determined by turning the equipment off and on, the user is encouraged to try to correct the interference by one or more of the following measures:
- Reorient or relocate the receiving antenna.
- Increase the separation between the equipment and receiver.
- Connect the equipment into an outlet on a circuit different from that to which the receiver is connected.
- Consult the dealer or an experienced radio/TV technician for help.
Simplified EU Declaration of Conformity
Reolink declares that this device is in compliance with the essential requirements and other relevant provisions of Directive 2014/53/EU.
Correct Disposal of This Product
This marking indicates that this product should not be disposed of with other household wastes throughout the EU. To prevent possible harm to the environment or human health from uncontrolled waste disposal, recycle it responsibly to promote the sustainable reuse of material resources. To return your used device, please use the return and collection systems or contact the retailer where the product was purchased. They can take this product for environmentally safe recycling.
Limited Warranty
This product comes with a 2-year limited warranty that is valid only if purchased from Reolink official stores or Reolink authorized resellers. Learn more: https://reolink.com/warranty-and-return/.
NOTE: We hope that you enjoy the new purchase. But if you are not satisfied with the product and plan to return, we strongly suggest that you reset the camera to factory default settings and take out the inserted SD card before returning.
Terms and Privacy
Use of the product is subject to your agreement to the Terms of Service and Privacy Policy at reolink.com. Keep out of the reach of children.
End-User License Agreement
By using the Product Software that is embedded on the Reolink product, you agree to the terms of this End User License Agreement (“EULA”) between you and Reolink. Learn more: https://reolink.com/eula/.
ISED Radiation Exposure Statement
This equipment complies with RSS-102 radiation exposure limits set forth for an uncontrolled environment. This equipment should be installed and operated with a minimum distance of 20cm between the radiator & your body.
FCC Cautions
This device complies with part 15 of the FCC Rules. Operation is subject to the following two conditions: (1) This device may not cause harmful interference, and (2) this device must accept any interference received, including interference that may cause undesired operation.
Any changes or modifications not expressly approved by the party responsible for compliance could void the user’s authority to operate the equipment.
Note: This equipment has been tested and found to comply with the limits for a Class B digital device, pursuant to part 15 of the FCC Rules. These limits are designed to provide reasonable protection against harmful interference in a residential installation. This equipment generates uses and can radiate radio frequency energy and, if not installed and used in accordance with the instructions, may cause harmful interference to radio communications. However, there is no guarantee that interference will not occur in a particular installation. If this equipment does cause harmful interference to radio or television reception, which can be determined by turning the equipment off and on, the user is encouraged to try to correct the interference by one or more of the following measures:
-Reorient or relocate the receiving antenna.
-Increase the separation between the equipment and receiver.
-Connect the equipment into an outlet on a circuit different from that to which the receiver is connected.
-Consult the dealer or an experienced radio/TV technician for help.
This equipment complies with FCC radiation exposure limits set forth for an uncontrolled environment. This equipment should be installed and operated with a minimum distance 20cm between the radiator & your body.
IC Caution:
This device complies with Industry Canada’s license-exempt RSS. Operation is subject to the following two conditions:
- This device may not cause interference; and
- This device must accept any interference, including interference that may cause undesired operation of the device.
To maintain compliance with RF exposure guidelines, this equipment should be installed and
operated with a minimum distance of 20cm between the radiator and your body.

OPERATING FREQUENCY
(the maximum transmitted power)
2412MHz—2472MHz(15dBm)
5180 MHz -5240 MHz(17dBm)
5745 MHz -5825 MHz (16dBm)
Technical Support
If you need any technical help, please visit our official support site and
contact our support team before returning the products,
https://support.reolink.com.
































