
Reolink Argus PT / Reolink Argus PT Pro
Quick Start Guide

@ReolinkTech
https://reolink.com
What’s in the Box

Camera Introduction

Red Light: WiFi connection failed
Blue Light: WiFi connection succeeded
Blinking: Standby status
On: Working status
Set up the Camera
Set up the Camera Using a Smartphone
Step 1 Scan to download the Reolink App from the App Store or Google Play store.
https://reolink.com/wp-json/reo-v2/app/download
Step 2 Turn on the power switch to power on the camera.

Step 3 Launch the Reolink App, click the “ +” button in the top right corner to add the camera.
Scan the QR code on the device and follow the onscreen instructions to finish the initial setup.

Set up the Camera on PC (Optional)
Step 1 Download and install the Reolink Client: Go to https://reolink.com > Support > App&Client.
Step 2 Launch the Reolink Client, click the “ +” button, input the UID code of the camera to add it and follow the onscreen instructions to finish the initial setup.
Charge the Camera
It’s recommended to fully charge the battery before mounting the camera outdoors.
Charge the battery with a power adapter. (not included)
Charge the battery with the Reolink Solar Panel (Not included if you only purchase the camera).
Charging Indicator:
Orange LED: Charing
Green LED: Fully charged
For better weatherproof performance, please always cover the USB charging port with the rubber plug after charging the battery.
Install the Camera
- For outdoor use, the camera MUST be installed upside down for better waterproof performance and better PIR motion sensor efficiency.
- Install the camera 2-3 meters (7-10 ft) above the ground. This height maximizes the detection range of the PIR motion sensor.
- For better motion detection performance, please install the camera angularly.
NOTE: If a moving object approaches the PIR sensor vertically, the camera may fail to detect motion.

Mount the Camera


Install the antenna to the camera.
Screw the camera to the security mount and adjust to the proper direction.
NOTE: For better WiFi connection, it is recommended to install the antenna upward or horizontally.
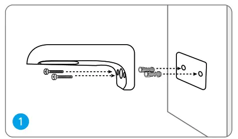
Mount the Camera to Ceiling
Pull the button of the security mount and unscrew the bracket to separate the two parts.
Install the bracket to the ceiling. Align the camera with the bracket and turn the camera unit clockwise to lock it in position.
Install the Camera with Loop Strap
You are allowed to strap the camera to a tree with both the security mount and ceiling bracket.
Thread the provided strap to the plate and fasten it to a tree. Next, attach the camera to the plate and you are good to go.

Safety Instructions of Battery Usage
The camera is not designed for running 24/7 at full capacity or around-the-clock live streaming.
It’s designed to record motion events and to live view remotely only when you need it. Learn useful tips on how to extend the battery life in this post: https://support.reolink.com/hc/en-us/articles/360006991893
- The battery is built-in, so do not remove it from the camera.
- Charge the rechargeable battery with a standard and high-quality DC 5V/9V battery charger or Reolink solar panel. Do not charge the battery with solar panels from any other brands.
- Charge the battery when temperatures are between 0°C and 45°C and always use the battery when temperatures are between -20°C and 60°C.
- Keep the USB charging port dry, clean and free of any debris and cover the USB charging port with the rubber plug when the battery is fully charged.
- Do not charge, use or store the battery near any ignition sources, such as fire or heaters.
- Do not use the battery if it gives off an odor, generates heat, becomes discolored or deformed, or appears abnormal in any way. If the battery is being used or charged, remove the battery from the device or the charger immediately, and stop using it.
- Always follow the local waste and recycle laws when you get rid of the used battery.
Troubleshooting
Camera is Not Powering On
If your camera is not powering on, please try the following solutions:
- Make sure the power switch is turned on.
- Charge the battery with a DC 5V/2A power adapter. When the green light is on, the battery is fully charged
If these won’t work, contact Reolink Support.
Failed to Scan QR Code on the Phone
If you cannot scan the QR code on your phone, please try the following solutions:
- Remove the protective film from the camera lens.
- Wipe the camera lens with a dry paper/ towel/tissue.
- Vary the distance between your camera and the mobile phone so that the camera can focus better.
- Try to scan the QR code under sufficient lighting.
If these won’t work, contact Reolink Support.
Failed to Connect to WiFi During Initial Setup Process
If the camera fails to connect to WiFi, please try the following solutions:
- Ensure that you have entered the correct WiFi password.
- Put the camera closer to your router to ensure a strong WiFi signal.
- Change the encryption method of the WiFi network to WPA2-PSK/WPA-PSK (safer encryption) on your router interface.
- Change your WiFi SSID or password and make sure that SSID is within 31 characters and password is within 64 characters.
If these won’t work, contact Reolink Support.
Specification
Video
Field of View: 105° diagonal
Night Vision: Up to 10m (33 ft)
PIR Detection & Alerts
PIR Detection Distance: Adjustable up to 10m (33ft)
PIR Detection Angle: 90° horizontal
Audio Alert: Customized voice-recordable alerts
Other Alerts: Instant email alerts and push notifications
General Operating Temperature: -10°C to 55°C (14°F to 131°F)
Size: 98 x 112 mm
Weight (Battery included): 470g (16.5 oz)
For more specifications, visit the Reolink official website.
Notification of Compliance
FCC Compliance Statement
This device complies with Part 15 of the FCC Rules. Operation is subject to the following two conditions: (1) this device may not cause harmful interference, and (2) this device must accept any interference received, including interference that may cause undesired operation. Changes or modifications not expressly approved by the party responsible for compliance could void the user’s authority to operate the equipment.
NOTE: This equipment has been tested and found to comply with the limits for a Class B digital device, pursuant to Part 15 of the FCC Rules. These limits are designed to provide reasonable protection against harmful interference in a residential installation. This equipment generates, uses, and can radiate radio frequency energy and, if not installed and used in accordance with the instructions, may cause harmful interference to radio communications. However, there is no guarantee that interference will not occur in a particular installation.If this equipment does cause harmful interference to radio or television reception, which can be determined by turning the equipment off and on, the user is encouraged to try to correct the interference by one or more of the following measures:
- Reorient or relocate the receiving antenna.
- Increase the separation between the equipment and receiver.
- Connect the equipment into an outlet on a circuit different from that to which the receiver is connected.
- Consult the dealer or an experienced radio/TV technician for help.
FCC RF warning statement:
The device has been evaluated to meet general RF exposure requirements. The device can be used in portable exposure conditions without restriction.
Simplified EU Declaration of Conformity
Reolink declares that this device is in compliance with the essential requirements and other relevant provisions of Directive 2014/53/EU.
Correct Disposal of This Product
This marking indicates that this product should not be disposed of with other household wastes. throughout the EU. To prevent possible harm to the environment or human health from uncontrolled waste disposal, recycle it responsibly to promote the sustainable reuse of material resources. To return your used device, please use the return and collection systems or contact the retailer where the product was purchased. They can take this product for environmentally safe recycling.
Limited Warranty
This product comes with a 2-year limited warranty that is valid only if purchased from Reolink Official Store or a Reolink authorized reseller. Learn more: https://reolink.com/warranty-and-return/.
NOTE: We hope that you enjoy the new purchase. But if you are not satisfied with the product and plan to return it, we strongly suggest that you reset the camera to factory default settings and take out the inserted SD card before returning.
Terms and Privacy
Use of the product is subject to your agreement to the Terms of Service and Privacy Policy at reolink.com. Keep out of reach of children.
End-User License Agreement
By using the Product Software that is embedded on the Reolink product, you agree to the terms of this End User License Agreement (“EULA”) between you and Reolink. Learn more: https://reolink.com/eula/.
ISED Radiation Exposure Statement
This equipment complies with RSS-102 radiation exposure limits set forth for an uncontrolled environment. This equipment should be installed and operated with a minimum distance 20cm between the radiator & your body.
OPERATING FREQUENCY
(the maximum transmitted power)
2412MHz—2472MHz (18dBm)
5GHz (For Argus PT Pro Only):
5180-5240MHz(16.09dBm)
5745-5825MHz(14.47dBm)
Technical Support
If you need any technical help, please visit our official support site and contact our support team before returning the products, https://support.reolink.com.



















