HACH PHC705 Laboratory General Purpose RedRod Refillable Glass pH Electrode User Manual
Product overview
The Intellical PHC705 pH probes are digital, combination electrodes that measure the pH of general water samples. The probes use the Red Rod technology and a saturated KCl electrolyte for high performance. The probes are refillable and have a built-in temperature sensor. A 59-mL bottle of reference electrolyte filling solution (saturated KCl solution) is supplied with the probe. Refer to Figure 1.
Note: Do not use the probe to measure the pH of organic solvents, emulsions or samples with many solids. For the best accuracy, do not use the probe to measure the pH of very alkaline samples.
Figure 1 Probe overview
| 1 | Probe soaker bottle with storage solution | 5 | Probe soaker bottle holder |
| 2 | Filling-hole plug | 6 | Electrode filling and storage solution |
| 3 | Protective tape and filling hole | 7 | Reference junction |
| 4 | Cable | 8 | Glass bulb and temperature sensor |
Specifications
Specifications are subject to change without notice
| Specifications | Details |
| Probe type | Digital combination glass pH probe with refillable electrolyte and built- in temperature sensor |
| pH range | 0 to 14 pH |
| pH accuracy | ±0.01 pH |
| Reference type | Red Rod (Ag/AgCl in protective tubes) |
| Reference junction | Porous pin |
| Slope | –59 mV/pH (85 to 115% at 25 °C (77 °F) per Nernstian theoretical value) |
| Isopotential point | 6.00 pH |
| Sodium (alkalinity) error | <0.3 pH at pH 13 in 0.1 M NaOH |
| Temperature accuracy | ±0.3 °C (±0.54 °F) |
| Temperature sensor type | 30 kΩ NTC thermistor |
| Operating temperature | –10 to 100 °C (14 to 212 °F) |
| Storage temperature | 5 to 40 °C (41 to 104 °F) |
| Minimum immersion depth | 18 mm (0.71 in.) |
| Body material | Glass |
| Electrolyte filling solution | Saturated KCl |
| Storage solution | Saturated KCl |
| Cable connection | M12 digital output and connector |
| Dimensions | Diameter: 12 mm (0.47 in.) Length: 200 mm (7.9 in.) total; 103 mm (4.1 in.) below head Cable length: 1 m (3.3 ft) |
| Weight (includes cable) | ~0.4 kg (0.9 lb) |
| Warranty | 1 year on the probe. This warranty covers manufacturing defects, but not improper use or wear. |
| Certifications | CE, FCC/ISED |
Safety information
Intended use
The Intellical probes are intended for use by individuals who measure water quality parameters in the laboratory. The Intellical probes do not treat or alter water.
Use of hazard information
DANGER
Indicates a potentially or imminently hazardous situation which, if not avoided, will result in death or serious injury.
WARNING
Indicates a potentially or imminently hazardous situation which, if not avoided, could result in death or serious injury.
CAUTION
Indicates a potentially hazardous situation that may result in minor or moderate injury.
NOTICE
Indicates a situation which, if not avoided, may cause damage to the instrument. Information that requires special emphasis.
Precautionary labels
Read all labels and tags attached to the instrument. Personal injury or damage to the instrument could occur if not observed. A symbol on the instrument is referenced in the manual with a precautionary statement.
Electrical equipment marked with this symbol may not be disposed of in European domestic or public disposal systems. Return old or end-of-life equipment to the manufacturer for disposal at no charge to the user.
Product hazards
CAUTION
Chemical exposure hazard. Obey laboratory safety procedures and wear all of the personal protective equipment appropriate to the chemicals that are handled. Refer to the current safety data sheets (MSDS/SDS) for safety protocols.
CAUTION
Chemical exposure hazard. Dispose of chemicals and wastes in accordance with local, regional and national regulations.
CAUTION
Personal injury hazard. Glass components can break. Handle with care to prevent cuts.
Preparation for use
NOTICE
Make sure to remove the protective tape from the filling hole of new probes. A probe with a blocked filling hole will not operate correctly.
New probes are filled with electrolyte filling solution and have a soaker bottle that contains storage solution to keep the glass bulb and reference junction hydrated. Prepare the probe for calibration and measurement as follows.
- Remove the protective tape from the filling hole. Refer to Figure 2.
Note: Put the soaker bottle on the soaker bottle holder when not in use. - Rinse the reference junction and glass bulb with deionized water. Blot dry with a lint-free cloth.
- If the inner filling solution is low, add more filling solution. Refer to Fill the probe on page 12.
- If the level of KCl crystals in the probe is less than approximately 0.5 cm (0.2 in.), or for measurements at high temperatures (> 60 °C (140 °F), add more KCl crystals. Refer to Add KCl crystals to the probe on page 13.
- Invert the probe to make sure that the KCl crystals move freely through the liquid. If necessary, shake the probe to loosen the crystals.
- Soak the probe in a warm pH 4 buffer solution for approximately 1 hour to condition the probe.
Note: If probe stabilization is slow, soak the probe for 2 hours in a warm pH 4 buffer solution. The soak procedure helps to dissolve KCl crystals in the reference junction. - Make sure that the meter has the correct date and time settings. The service-life time stamp in the probe comes from the date and time settings in the meter.
Note: Some meters automatically open the date and time settings when the meter starts for the first time, or after battery replacement. - Connect the probe to the meter.
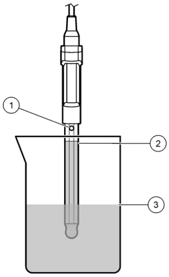
- Remove the filling-hole plug before use. Keep the level of the electrolyte filling solution above the level of the measurement liquid during use. Refer to Figure 3.
Note: For measurements in low ionic strength (LIS) samples, soak the probe for a maximum of 5 minutes in the sample before use.
Figure 2 Remove the protective tape
Figure 3 Probe position during use
| 1 Filling hole | 3 Level of calibration solution or sample |
| 2 Level of electrolyte filling solution |
Calibration
The procedure that follows is applicable to meters that can connect to Intellical pH probes. Refer to the applicable meter documentation for meter operation and probe-specific settings.
Calibration notes
Read the notes that follow before calibration:
- Use prepared pH buffer solutions or mix pH buffer powder pillows with deionized water for calibration. Discard the prepared buffer solutions after each calibration.
- Use two or three buffer solutions for best results. Two buffer solutions are sufficient if the expected sample pH is between the pH of the two buffer solutions. The sequence in which the pH buffer solutions are used is not important. Use buffer solutions that are 2 or more pH units apart.
- For a one-point calibration, use a pH buffer near the expected sample pH.
- Use the default calibration options or change the options in the probe settings menu.
- Use the single display mode for calibration when more than one probe is connected to the meter (if applicable).
- Calibrate the probes and verify the calibration regularly for best results. Use the meter to set calibration reminders.
- The calibration data is stored in the probe. When a calibrated probe is connected to a different meter with the same calibration options, a new calibration is not necessary.
- Air bubbles below the sensor when in solution can cause a slow response or error in the calibration. Make sure to remove air bubbles during calibration.
- The pH buffer solutions have known pH values at different temperatures. The meter uses the mV and temperature readings of the probe in the pH buffer solutions to calculate a calibration slope.
During measurements, the meter adjusts the slope for the sample temperature to determine the pH value of the sample.
Calibration procedure
- Go to the calibrate menu.
Select the probe, if applicable. The display shows the pH buffer solutions to use for calibration.
- Prepare or pour the pH buffer solutions in different beakers.

- Open the filling hole.

- Rinse the probe with deionized water.
Dry the probe with a lint-free cloth.
- Put the probe in the first pH buffer solution. Make sure that the sensor and reference junction are fully in the solution. Do not put the probe on the bottom or sides of the beaker.

- Shake the probe from side to side to refresh the reference junction and remove air bubbles.
Note: Be careful to not hit the beaker and damage the probe.
- Stir slowly, then read the pH value of the buffer solution.
The display shows the temperature corrected pH value when the reading is stable.
- Continue withsteps 4 through 7 for the remaining buffers or select Done.

- Save the calibration.

Sample measurement
The procedure that follows is applicable to meters that can connect to Intellical pH probes. Refer to the applicable meter documentation for meter operation and probe-specific settings.
Sample requirements
NOTICE
Make sure that the sample type is compatible with the probe, or probe damage can occur.
- Samples must be aqueous. The probe can also make measurements in samples that are not fully aqueous and in some solvents that dissolve in water. Read the results with caution because the pH scale changes when the solvent system changes.
- Samples can contain components that react with silver (e.g., TRIS, proteins and sulfides). The Red Rod tubes protect the probe from interference with such components.
- Proteins can collect on the sensing element. Make sure that the probe stays clean if proteins are in the sample.
- Do not measure samples that are hotter or colder than the specified operating temperature of the probe. Refer to Specifications on page 3.
- High purity or low ionic strength (LIS) samples absorb gases from the air that can change the sample pH. For stable measurements, use an LIS chamber or a flow cell.
Sample measurement notes
Read the notes that follow before sample measurements.
- Rinse the probe with deionized water and dry with a lint-free cloth between measurements to prevent contamination.
- If complete traceability is necessary, enter a sample ID and operator ID before measurement. Refer to the meter manual for instructions.
- The meter automatically saves the measurement data when the user manually reads each data point and when the meter is set to read at regular intervals. The user must manually save each data point when the meter is set to read continuously.
- Air bubbles below the sensor can cause a slow response or error in the measurement. Make sure to remove air bubbles before and during measurements.
Sample measurement procedure
- Collect the sample.

- Open the filling hole.

- Rinse the probe with deionized water.
Dry the probe with a lint-free cloth.
- Put the probe in the sample with the sensor and reference junction fully in the sample.
Do not put the probe on the bottom or sides of the beaker.
- Shake the probe from side to side to refresh the reference junction and remove air bubbles.
Note: Be careful to not hit the beaker and damage the probe.
- Stir gently, then read the pH value of the sample. The display shows the temperature compensated pH value when the reading is stable.

Verify the calibration
Measure the pH value of a fresh pH buffer solution to make sure the result is accurate. The meter compares the selected pH buffer value to the measured pH value and accepts or rejects the measurement. The user can change the pH buffer solution and acceptance criteria for verification in the probe-specific settings.
Note: Password protection may prevent access to the acceptance criteria.
Verification procedure
- Go to the verification menu.
The display shows the pH buffer solution to use for verification.
Note: Menu name for HQd meters: Run check standard.
- Prepare or pourthe pH buffer solution into a beaker.

- Open the filling hole.

- Rinse the probe with deionized water.
Dry the probe with a lint-free cloth.
- Put the probe in the pH buffer solution with the sensor and reference junction fully in the solution.
Do not put the probe on the bottom or sides of the beaker.
- Shake the probe from side to side to refresh the reference junction and remove air bubbles.
Note: Be careful to not hit the beaker and damage the probe.
- Stir gently, then read the pH value of the buffer solution.
The meter acceptsor rejects the result.
Maintenance
Regular maintenance is necessary for the best accuracy, stabilization time and life of the probe. Keep the probe in the recommended storage solution between measurements.
Clean the probe
Clean the probe regularly to remove contamination and to keep the reference junction open.
Symptoms of contamination:
- Incorrect or irregular readings
- Slow stabilization times
- Calibration errors
- Sample material stays on the probe
- Rinse the probe with deionized water. Use warm (35–45 °C (95–113 °F)) deionized water to remove storage solution that dries on the probe. Dry the probe body with a lint-free cloth.
- Soak the glass bulb and reference junction in the applicable cleaning solution for the specified time. Refer to Table 1 and Consumables on page 17.
- Rinse or soak the probe for 1 minute in deionized water. Dry the probe body with a lint-free cloth.
- Soak the probe in pH 4 buffer for 20 minutes.
- Rinse the probe with deionized water. Dry the probe body with a lint free cloth.
Table 1 Cleaning solution
| Contamination | Cleaning solution | Active component | Soak time |
| General contamination | Electrode cleaning solution for regular maintenance | KATHON™ CG, DECONEX®11 | 12–16 hours |
| Minerals | Electrode cleaning solution for minerals/inorganic contamination | Phosphoric acid (~10%) | 10–15 minutes |
| Fats, grease and oils | Electrode cleaning solution for fats, oils and grease contamination | KATHON™ CG, TRITON® X | 2 hours maximum |
| Proteins | Electrode cleaning solution for proteins/organic contamination | Pepsin in HCl | 3 hours maximum |
| Wastewater and organic compounds | Electrode cleaning solution, extra strong | Sodium hypochlorite | 5–10 minutes |
| Blockage of porous pin/diaphragm reference junctions | Electrode cleaning solution for porous pin/diaphragm reference junctions | Thiourea | 3 hours with stirring or until the porous plug becomes white |
Fill the probe
Add electrolyte filling solution to the probe regularly to make sure that the electrolyte flows from the probe to the sample. Refer to Figure 4. Make sure to use the correct filling solution (saturated KCl).
Note: If the dispensing tip becomes clogged, remove the dispensing tip and soak the tip in warm water. Then, fully dry and assemble the tip again.
Figure 4 Fill the probe
Add KCl crystals to the probe
The filling solution in the probe contains crystals of potassium chloride (KCl) that keeps the filling solution saturated with KCl. When the sample temperature is more than 60 °C (140 °F), more crystals are necessary to keep the solution saturated with KCl. Add more KCl crystals when the level of crystals above the glass bulb is less than 0.5 cm (0.2 in.), or when the sample temperature is more than 60 °C (140 °F). Refer to Figure 5 and Table 2 for preparation. Mix some of the filling solution with the crystals to help move the crystals through the filling hole. Refer to Figure 6.
Figure 5 Items to collect
| 1 Plastic pipet | 4 Mixing bottle |
| 2 Measuring scoop | 5 Saturated KCl solution |
| 3 KCl crystals |
Table 2 KCl quantity at high temperatures
| Temperature | KCl quantity |
| 60 °C (140 °F) | 0.5 g (0.5 cm (0.2 in.)) |
| 70 °C (158 °F) | 0.625 g |
| 80 °C (176 °F) | 0.750 g |
| 90 °C (194 °F) | 0.875 g |
| 100 °C (212 °F) | 1.0 g (1.0 cm) |
Figure 6 Add KCl crystals to the probe
Replace the filling solution
Replace the filling solution and KCl crystals when one of the conditions that follow occurs:
- The filling solution becomes contaminated.
- The KCl crystals in a probe do not move freely through the liquid when the probe is inverted.
- Tilt the probe and open the filling hole.
- Use a syringe or small transfer pipet to remove as much of the filling solution and KCl crystals from the probe as possible. Discard the solution and KCl crystals.
- Remove the remaining KCl crystals as follows:
- a. Fill the probe half full with deionized water. Close the filling hole.
- b. Shake the probe until the crystals become loose.
Note: If the crystals do not loosen, fill the probe with deionized water and put the probe in a warm water bath (maximum 60 °C (140 °F)) for approximately 10 minutes. - c. Use a syringe or small transfer pipet to remove the remaining solution and KCl crystals.
- Rinse the inner probe three times with deionized water.
- Rinse the inner probe three times with new filling solution.
- Add new KCl crystals to the probe until there is approximately 0.5 cm (0.2 in.) of crystals above the glass bulb. Refer to Figure 6 on page 14.
- Fill the probe with new filling solution. Refer to Fill the probe on page 12.
Soak procedure for dry probes
If the glass bulb becomes dry, complete the steps that follow to hydrate the probe.
- Soak the probe tip in a warm pH 4 buffer solution for 2 hours.
- Rinse the probe with deionized water. Blot dry with a lint-free cloth.
- Calibrate the probe.
Storage
NOTICE
Probes can become permanently damaged if kept in a storage solution that is not specified by the manufacturer. Use only the specified storage solution (saturated KCl).
Do not store the probe in deionized water or in samples of low ionic strength. For short-term storage, the probe can stay in the sample for a maximum of 2 hours if the sample pH is not high. Close the filling hole and put the soaker bottle that contains the storage solution on the probe when not in use.
Refer to Figure 7. Keep the probe in a vertical position with the sensor and reference junction below the liquid level in the soaker bottle. Add storage solution to the soaker bottle if necessary.
Figure 7 Probe storage
Troubleshooting
Keep the probe clean and in the recommended storage solution when not in use for the best accuracy, stabilization time and life of the probe.
| Problem | Possible cause | Solution |
| Decreased probe performance causes slow stabilization and prevents accurate calibrations or measurements. | The glass sensor is dirty. | Clean and condition the probe. Refer to Clean the probe on page 11. |
| The reference junction is clogged. | Clean and condition the probe. Refer to Clean the probe on page 11. | |
| The filling solution has contamination. | Replace the filling solution. Refer to Replace the filling solution on page 14. | |
| The probe is not conditioned to the sample sufficiently. | Condition the probe. Refer to Preparation for use on page 5. | |
| The glass sensor has become dry. | Soak the probe tip in buffer solutions. Refer to Soak procedure for dry probes on page 15. | |
| The calibration slope of the probe has changed. | Increase the accepted slope limit settings if possible, or contact technical support. | |
| Sample properties cause slow stabilization or inaccurate measurements. | The sample absorbs carbon dioxide (CO2) from the air, which causes the pH value to slowly decrease in low ionic strength (LIS) or high purity samples. | Use the LIS chamber for LIS/high purity samples to prevent CO2 absorption. |
| The sample temperature is low, or there is a large temperature difference between samples. | Increase the sample temperature or adjust the temperature of different samples to be the same (within 2 °C (3.6 °F)). | |
| Procedure problem causes slow stabilization and prevents accurate calibrations or measurements. | The filling hole is closed. | Open the filling hole during use. |
| Air bubbles are around or below the probe tip. | Carefully tap or shake the probe to remove air bubbles. | |
| The electrical connection through the reference junction is not sufficient. | Shake the probe in the solution from side to side to refresh the reference junction. | |
| The stir speed is too slow or too fast. | Try a different stir speed. | |
| An incorrect buffer solution was used or the buffer solution has contamination. | Use the specified buffer solutions of good quality. | |
| The protective tape was not removed from the filling hole. | Remove the tape from the filling hole. Refer to Preparation for use on page 5. |
Consumables
Note: Product and Article numbers may vary for some selling regions. Contact the appropriate distributor or refer to the company website for contact information.
| Description | Quantity | Item no. |
| Electrode filling solution, saturated KCl | 59 mL1 | 25118026 |
| KCl crystals | 15 g | S21M001 |
| Electrode cleaning solution for regular maintenance | 500 mL | 2965249 |
| Electrode cleaning solution for minerals/inorganic contamination | 500 mL | 2975149 |
| Electrode cleaning solution for proteins/organic contamination | 250 mL | C20C370 |
| Electrode cleaning solution for fats, oils and grease contamination | 500 mL | 2964449 |
| Electrode cleaning solution for porous pin/diaphragm reference junctions | 250 mL | C20C380 |
| Electrode cleaning solution, extra strong | 250 mL | S16M002 |
Recommended standards
| Description | Unit | Item no. | ||
| pH 4.01 buffer solution, Singlet one-use packets, 20 mL each | 20/pkg | 2770020 | ||
| pH 7.00 buffer solution, Singlet one-use packets, 20 mL each | 20/pkg | 2770120 | ||
| pH 10.01 buffer solution, Singlet one-use packets, 20 mL each | 20/pkg | 2770220 | ||
| pH 4.01 and pH 7.00 buffer solution kit, Singlet one-use packets, 20 mL each | 2 x 10/pkg | 2769920 | ||
| pH 7.00 and 10.01 buffer solution kit, Singlet one-use packets, 20 mL each | 2 x 10/pkg | 2769820 | ||
| pH color-coded buffer solution kit (NIST), 500 mL, includes: | 1 | 2947600 | ||
| pH 4.01 ± 0.02 pH buffer (NIST) | 500 mL | 2283449 | ||
| pH 7.00 ± 0.02 pH buffer (NIST) | 500 mL | 2283549 | ||
| pH 10.01 ± 0.02 pH buffer (NIST) | 500 mL | 2283649 | ||
| Powder pillows: | ||||
| pH 4.01 ± 0.02 pH buffer powder pillow (NIST) | 50/pkg | 2226966 | ||
| pH 7.00 ± 0.02 pH buffer powder pillow (NIST) | 50/pkg | 2227066 | ||
| pH 10.01 ± 0.02 pH buffer powder pillow (NIST) | 50/pkg | 2227166 | ||
| Radiometer Analytical (IUPAC Series certified pH standards): | ||||
| pH 1.679 ± 0.010 at 25 °C (77 °F) | 500 mL | S11M001 | ||
| pH 4.005 ± 0.010 at 25 °C (77 °F) | 500 mL | S11M002 | ||
| pH 6.865 ± 0.010 at 25 °C (77 °F) | 500 mL | S11M003 | ||
| pH 7.000 ± 0.010 at 25 °C (77 °F) | 500 mL | S11M004 | ||
| pH 9.180 ± 0.010 at 25 °C (77 °F) | 500 mL | S11M006 | ||
| pH 10.012 ± 0.010 at 25 °C (77 °F) | 500 mL | S11M007 | ||
| pH 12.45 ± 0.05 at 25 °C (77 °F) | 500 mL | S11M008 | ||
| pH buffer 1.09, technical | 500 mL | S11M009 | ||
| pH buffer 4.65, technical | 500 mL | S11M010 | ||
| pH buffer 9.23, technical | 500 mL | S11M011 | ||
Accessories
| Description | Quantity | Item no. |
| Beaker, 30 mL, plastic, colorless | 80/pkg | SM5010 |
| Beaker, 30 mL, plastic, red | 80/pkg | SM5011 |
| Beaker, 30 mL, plastic, yellow | 80/pkg | SM5012 |
| Beaker, 30 mL, plastic, blue | 80/pkg | SM5013 |
| Beaker, 30 mL, plastic, green | 80/pkg | SM5014 |
| Beaker dispenser and holder, 30 mL | 1 | 923-656 |
| Beaker holder, 30 mL | 1 | 923-556 |
| Beaker, 100 mL, polypropylene | 1 | 108042 |
| Filling-hole plug, clip-on | 1 | M035J35 |
| LIS (low ionic strength) chamber | 1 | 5189900 |
| Disposable wipes, 11 x 22 cm | 280/pkg | 2097000 |
| Wash bottle, polyethylene, 500 mL | 1 | 62011 |
| Probe stand for standard Intellical probes | 1 | 8508850 |
| Soaker bottle for probe storage | 1 | 5192900 |
| Plastic transfer pipet, 5 mL | 20/pkg | 2749320 |
| Measuring scoop, 1 g (0.04 oz) | each | 2657201 |
| Bottle, mixing, round with cap | each | 1862400 |
Contact us

HACH COMPANY World Headquarters
P.O. Box 389, Loveland, CO 80539-0389 U.S.A.
Tel. (970) 669-3050
(800) 227-4224 (U.S.A. only)
Fax (970) 669-2932
[email protected]
www.hach.com
HACH LANGE GMBH
Willstätterstraße 11
D-40549 Düsseldorf, Germany
Tel. +49 (0) 2 11 52 88-320
Fax +49 (0) 2 11 52 88-210
[email protected]
www.de.hach.com
HACH LANGE Sàrl
6, route de Compois
1222 Vésenaz
SWITZERLAND
Tel. +41 22 594 6400
Fax +41 22 594 6499
© Hach Company/Hach Lange GmbH, 2014, 2021.
All rights reserved.










































