Nagaros Portable Bag Sealer
(USB Rechargeable Version)

Product Specification
Please read the Specification carefully prior to use and keep it properly.
Contact:
[email protected]
1. Product Introduction
1.1 Product Details

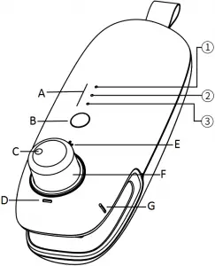
A
Overheating Protection Protection time 2 minutes 3 indicators flash simultaneously
B Power ON/OFF(long press) Level Switch(short press)
C Knob indicator
When the knob indicator is located in the area between “+”and “-“, the safety lock will take effect and the product will not be accidentally activated.
D Cutting Mode
E Sealing Mode
F Function Switch Knob
sealing/safety lock/cutting
G Referece line
- Low-power
level for thin bags - Mid-power
level for common bags - High-power
level for thick bags

A
WARNING
Do not insert your fingers into the sealer/opening chamber to avoid scald or stabbing of knife.
B Contact temperature sensing area
* Avoid product damage due to overheat. Stop use immediately if it is hot.
* Make sure to cool it to room temperature before use!
C USB charging port
D Suspension leather label
E Magnet
1.2 Characteristics
Highly convenient and portable
It is highly portable by eliminating the power socket and using built-in power supply; it can be attached on the refrigerator based on the rear magnet; it can be suspended on the position required based on the tail leather label.
There-level temperature adjustment, ensuring high safety and reliability:
With built-in intelligent temperature adjusting circuit board and 3 levels (high-power, Mid-power and low-power level), the Product can satisfy the sealing of general bags, thick bags and thin bags. It is fitted with patented 3-level anti-scald function and intelligent 2-level protection.
Long-term running based on USB charging:
With large-capacity rechargeable lithium battery, the Product can be used for about half a year after one-time charging *.
Introduction: The Machine can be used for about 5-6 months under Mid-power level if being used for sealing polythene bags with length of 18cm and thickness of 0.14mm at high efficiency per day.
1.3 Applications
General plastic bags; for example, the plastic bags for food preservation, with resistance to moisture and mould and easy sealing.
1.4 Scope of Application
Application scope: The bags coated with aluminum foil, made of PP, PE and PVC, with thickness ≤0.3 mm.
Not applicable: The Product fails to seal the paper bag, pure-aluminum bag and oily extra-thick bag.
2.How to Use
2.1 Preparatory work and charging
Insert the USB wire for charging; when charging starts, the indicator flickers slowly and then becomes normally on. When 3 indicators are normally on, the charging is done and please unplug the USB wire.
Attention: Please use the standard 5V-1A DC power supply for charging the Product; otherwise, the Product may be damaged permanently.
2.2 Power on/off
Power on:
Long press the power button for 2 s for startup.
Power off:
Long press the power button for 2 s for shutdown.
Automatic shutdown:
If the Product is idled for 1 min after startup, it will shut down automatically.
Automatic shutdown: If the Product is idled for 1 min after startup, it will shut down automatically. If the Product is idled for 1 min after heating and sealing, it will shut down automatically.
2.3 Level selection and switching
Short press the power button for level switching according to the following order:
- Low-power level
- Mid-power level
- High-power level

General sealing; Please select ” 2. Mid-power” (Recommended)
Please switch to “high-power level” to seal the thick bags;
Please switch to “Low-power level” to seal the thin bags such as freshness preservation bags and garbage bags.

2.4 How to Seal Bags
Step 1. Rotate the indicator counter clockwise to align it with “+”. (Sealing Mode)

Step 2. Hold the knob and drag it evenly.

Step 3. Drag it to the end and finish sealing completely.
2.5 How to Open Bags
Step 1. Rotate the indicator clockwise to align it with “-” (Cutting Mode)

Step 2. Press the cutter edge button for sliding.

3
Attention
- Do not insert hard object or sharp object into the heater of sealing chamber to avoid damage of product.
- Keep the Product clean and dry to avoid a fault; if it is affected with damp, wipe it with cloth in time.
- Keep the Product inaccessible to children.
- Avoid direct sunlight and keep away from heat source when storing and using the Product.
- If the Product is long idled, charge it on a trimonthly basis and store it in cool places.
4. Overheat protection
This is a small sealer. Make sure the ” 2 Mid-power” is not used continuously for over 1 min. If it is running for about 1 min, please stop it for 2 min before continued use!
![]()
Attention:
The protection program will be triggered if the continuous running period exceeds the limit below:
| Level | 1 Low Power level | 2 Mid Power level | 3 high Power level | |
| Case 1 | Continuous heating period | 50s | 30s | 30s |
| Case 2 | Accumulated heating period within 3 min | 90s | ||
| Product status | The protection program will be triggered and running for 2 min to prevent overheat and all indicators are flickering at the same time! | |||
5. Introduction to indicator status 
| Indicator Status | Meaning |
| No. 1 indicator flickers | In running state: Low battery; in charging state: Charging prompt. |
| No. 1+2+3 indicators flicker simultaneously | 2 min high-temperature protection. Protection is provided even if it is turned on/off in this period. |
| No. 1, 2 and 3 indicators flicker alternatively | When press the large knob, it prompts the status in heating process. |
| It is switched to Level 3; Level 1 is entered after restart | Safety setting; avoid product damage due to wrong use of Level 3. |
| The small indicator is not on by long pressing power button if it is idled for long period. | Low battery protection, please charge. The indicator will be on after a certain period. |
6. Introduction to status of high-power level 
| Heater Status | Meaning | Attention and Warning |
| Turning red | Normal; full-power output is adopted for reaching high temperature instantly and sealing the thick bags. | Avoid long-term idling for observation, out of curiosity or on purpose to avoid permanent damages of heating membrane. |
| Smoking |
7.
Troubleshooting
| Fault | Cause | Troubleshooting |
| Indicator is off and bag sealing fails when press the big knob | Not powered on | Please start according to instructions |
| The knob points to “-” bag opening end | Please point the knob to “-” bag sealing end | |
| Startup failure; no reaction when long press the power button, but the indicator is on | Low battery protection is triggered | Fully charge it before use! |
8. Warranty
- For any performance fault on the List of Product Performance Faults within 30 days upon signed receiving, you can contact our customer service for free replacement or refund.
- For any performance fault on the List of Product Performance Faults within 30 days upon signed receiving, you can contact our customer service for free replacement.
Customer Service:
[email protected]
List of Performance Faults
| Name | Performance Faults |
| USB portable sealer | 1. Shell crack due to structure or material (except for the consumption of heating membrane and heating piece). 2. Indicator error when it has sufficient power. 3. The heater has error when it has sufficient power and normal running. |
9. Expiration of Warranty
- The Product is damaged due to unauthorized maintenance, misuse, collision, negligence, abuse, water penetration, accident, alternation and use of nonconforming power supply.
- Three-guarantee service expires.
- Damages are caused by the Force Majeure.
- The Product and its components have the performance faults in the List of Product Performance Faults due to misoperation.
Statement:
As the daily consumables which may be burnt or thinned due to unskilled or long-term use, the upper and lower heating membrane is excluded from the warranty scope; As the slow consumption parts, the heating pieces are excluded from the warranty scope.
Specification version: V2.0-2021-01
![]()


















