
THE PERFECT BALANCE OF FUNCTION AND STYLE
LAUNDRY – DISHWASHING – COOKING – COOLING
Installation and Operating Instructions

60cm Solid Plate Hob – Side Control
SP601W/X – White / Stainless Steel
Please read these instructions carefully before attempting to install or use this appliance.
We recommend that you keep these instructions in a safe place for future reference.
Welcome
Thank you for choosing this Montpellier appliance.
Our appliances have been designed to provide you with the best combination of style, reliability and performance to give you years of trouble-free use.
You may be familiar with a similar product, but please take time to read these instructions carefully before installing or using your appliance to ensure you get the most from your purchase.
2
YEAR
GUARANTEE
– PARTS & LABOUR –
ACROSS ALL OUR MODELS![]()
www.montpellier-appliances.com
We recommend that you keep this manual in a safe place for future reference.
Your appliance is covered by a comprehensive two year Parts & Labour Guarantee. In the unlikely event that you experience a problem with your appliance, you can rest assured that you are fully protected against the cost of repairs for the first 24 months . Please note that any claim must be accompanied by the model reference number, serial number and proof of purchase.
To activate your guarantee, you will need your product serial number. This can be found inside your appliance.
NB: Please make sure that you keep a copy of your original sales invoice as this will be needed if any service call is required.
There are three ways to register your Guarantee:
- Online: Visit the Support page on our website and complete the online Product Registration form. www.montpellier-appliances.com
- By Post: Simply detach and fill in the form provided, attach a stamp and send it in the post. Don’t forget to include your e-mail address so that we can send confirmation through to you.
- By Phone: Contact our warranty registration department on 0808 1961388
Thank you for choosing this product.
This User Manual contains important safety information and instructions on the operation and maintenance of your appliance.
Please take the time to read this User Manual before using your appliance and keep this book for future reference.
The design and specifications are subject to change without prior notice for product improvement.
SP601X BUILT-IN ELECTRIC HOB
INSTALLATION AND OPERATION MANUAL
THIS APPLIANCE MUST BE INSTALLED ONLY BY A QUALIFIED PERSON IN INSTRUCTIONS PROVIDED. THE MANUFACTURER DECLINE ALL RESPONSIBILITY FOR IMPROPER INSTALLATION WHICH MAY HARM PERSONS AND ANIMALS OR CAUSE DAMAGE TO PROPERTY. THE APPLIANCE MUST BE USED ONLY FOR THE PURPOSE FOR WHICH IT WAS EXPRESSLY DESIGNED. ANY OTHER USE (e.g. HEATING ROOMS) IS CONSIDERED TO BE IMPROPER AND MANUFACTURER DECLINES ALL RESPONSIBILITY FOR DAMAGE RESULTING FROM IMPROPER AND IRRESPONSIBLE USE.
SAFETY WARNING
- Please check the built-in electric hob’s integrity after opening the package. If there are any problems please refer to the supplier.
- Do not throw the package materials (plastic bag, foam, nails, package etc) in a place where children can easily access. Please dispose of packaging in an environmentally friendly manner.
- Do not change the wiring under any circumstances.
- Dispose of the appliance in an environmentally friendly manner.
- If the supply cord is damaged, it must be replaced by the manufacturer its service agent or similarly qualified persons in order to avoid a hazard.
- This appliance can be used by children aged from 8 years and above and persons with reduced physical, sensory or mental capabilities or lack of experience and knowledge if they have been given supervision or instruction concerning use of the appliance in a safe way and understand the hazards involved
- Children should be supervised to ensure that they do not play with the appliance. Cleaning and user maintenance shall not be made by children without supervision.
- Do not stare at the hob elements when the appliance is working.
- Accessible parts may become hot during use. To avoid burns young children should be kept away
- WARNING: If the surface is cracked, switch off the appliance to avoid the possibility of electric shock, for hob surfaces of glass-ceramic or similar material which protect live parts
- A steam cleaner is not be used.
- Metallic objects such as knives, forks, spoons and lids should not be placed on the hob surface since they can get hot.
- CAUTION: The surface temperature exceeds 95°C.To avoid a hazard, under bench access must be restricted. Refer to the installation instructions.
- WARNING: The appliance and its accessible parts become hot during use. Care should be taken to avoid touching heating elements. Children less than 8 years of age shall be kept away unless continuously supervised.
- The appliance is not intended to be operated by means of an external timer or separate remote-control system.
- WARNING: Unattended cooking on a hob with fat or oil can be dangerous and may result in fire. NEVER try to extinguish a fire with water, but switch off the appliance and then cover flame e.g. with a lid or a fire blanket.
- WARNING: Danger of fire: do not store items on the cooking surfaces.
- CAUTION: The cooking process has to be supervised. A short term cooking process has to be supervised continuously.
- WARNING: Use only hob guards designed by the manufacturer of the cooking appliance or indicated by the manufacturer of the appliance in the instructions for use as suitable or hob guards incorporated in the appliance. The use of inappropriate guards can cause accidents.
A duplicate data label and wiring diagram are contained in this booklet. Please attach these labels to an accessible and near by surface for easy reference. The Manufacturer shall not be held responsible for any inaccuracies in this handbook due to printing or transcription errors,also the designs in the figures are purely indicative. The Manufacturer also reserves the right to make any modifications to the products as may be considered necessary or useful also in the interests of the user, without jeopardizing the main functional and safety features of the products themselves.
Description of the hot plates

- Red Spot Large Plate
- Knob
- Indicator Light
- Red Spot Small Plate
- Large Plate
- Small Plate
Use
Directions for Use
- Do not touch the appliance with wet hands.
- Do not operate the appliance when barefoot.
- Do not allow children to operate the hob.
- Please disconnect the power supply before any maintenance and cleaning.
- Electric hobs become and remain hot during and immediately after use. Do not touch the hob until it has been allowed to cool.
- Steam cleaners must not be used to clean the appliance.
- The appliance is not intended to be operated by means of an external timer or separate remote-control system.
- The power supply should use H05VV-F.
- The hob must be built into a heat-resistant cabinet. Smoke may be visible when first used -this is normal. Please leave on for a few minutes to burn off excess sealant.
Operation
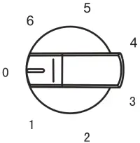
The temperature of the hot plates can be adjusted by turning the knobs either clockwise or anti-clockwise to any of the 6 positions besides the 0 position (Off). The higher the number, the greater the output of heat (see table below). The indicator light is a signal that the electric plates are switched on.
The level of heat can be adjusted gradually by turning the appropriate knob to the right or left. The indicator light can be found on the control panel – please see above diagrams.

| HEAT SETTING | DESCRIPTION |
| 0 | OFF position |
| 1 | VERY GENTLE – warming up |
| 2 | GENTLE – stewing vegetables, slow cooking |
| 3 | SLOW – cooking soups, larger dishes |
| 4 | MEDIUM – slow frying |
| 5 | HIGH – grilling meat, fish |
| 6 | VERY HIGH – grilling meat, fish |
An appropriately sized pan saves energy.
The correct pan should have a thick, flat base, with a diameter equal to the plate diameter, so that heat is transferred more efficiently.
Advice on the Use of Electric Plates
To save energy and ensure longer life of the electric plates, we advise using pans with a flat bottom and with a diameter no less than the diameter of the plates.
Never leave the plates on without pans on them, or with empty pans and never use the plates to heat crockery. Switch on the plates after having set the pans on them. Do not touch the hob until it has been allowed to cool as the plates remain hot for a short period of time after being switched off.
Switch off the heating plate before removing the pans.
Technical Data
| Model | Power Supply | Electric Plate Power(W) | Size | Built-in Hole Size | |||
| 145mm | 145mm (Red) | 180mm | 180mm (Red) | ||||
| SP601X | AC220-240V 50Hz | 1000 | 1500 | 1500 | 2000 | 580X500X78 | 557(L)X477(W) |
Pans
– Use pans with flat bottoms. Uneven or thin bottoms will waste energy and are slow to cook.
– Smaller pans will waste energy.
– Do not use oversized pans. More than 50mm overhang can cause components to overheat and cause fine cracks in enamel or even damage heating elements.
– Use only dry pans. Do not place wet or condensated items (eg. lids) on the hotplates.
– Do not use pots and pans that are unsteady and likely to rock or overturn.
– Do not operate the hob for an extended time without a pan on the hotplate.

Good Bad Bad Bad
(recessed base) (convex base) (undersize)

Bad Bad Bad
(oversize) (moisture on hotplate) (no Pan)
CLEANING
The appliance must be turned off at the mains before carrying out any maintenance. Make sure the hob plates are not hot prior to any cleaning or maintenance. Any abrasive cleaners (such as Cif) will scratch the surface and could erase the control panel markings. Stainless steel can be effectively cleaned by simply using a dilute solution of water and washing up liquid and drying to a shine with a clean cloth. Over time with use, the stainless steel surface may discolour – this is normal and does not constitute a fault with this appliance. Proprietary stainless steel cleaners are available.
HOTPLATE CARE
The finish of the cast iron hotplates is designed to be durable in use. The following tips should be observed to get the best from your hob:
- Do not use decorative covers as these can cause damage to the surface and lead to rust.
- Use a special hotplate surface cleaner to protect and restore the surface of the hotplates.
- Do not use soap and water on the hotplates. Wipe up spills and splashes immediately.
- Never operate the hob without a pan, unless it is for a few seconds (as below).
- Deposits of fat can be burned off by turning the hotplate on for a few seconds. The fat will brush off when the appliance has cooled down.
TECHNICAL INFORMATION FOR INSTALLATION (Qualified Personnel Only)
Electrical Connection
Appliances with three-pole cables are set up for operation with alternating current at the voltage and frequency indicated on the rating plate. Please ensure you have studied and are familiar with the connection wiring diagram provided prior to installation. Note that the earth conductor is yellow/green. The connection to the electricity supply must be made by a qualified person and following the regulations in force. When the appliance is to be installed above a built-in oven, the two appliances must be connected separately. The supply cable must be so positioned that no point can reach a temperature 50° C higher than the ambient temperature. Also check that the supply system has an effective earth connection and corresponds to the standards in force and that the plug (or omnipolar switch) can be reached easily when the appliance is installed.
Fitting Guidelines
The voltage rating of the hob heating elements is 220-240V. Adapting the hob to operate with one-phase current is possible by appropriate bridging in the connection box according to the connection diagram below. The connection diagram is also shown on the cover of the connection box. Remember that the connection wire should match the connection type and the power rating of the hob. The connection cable must be secured in a strain-Relief clamp.
| CONNECTION DIAGRAM Caution! Voltage of heating elements 220-240V Caution! In the event of any connection the safety | ![]() | Recommended type of connection lead |
| N E L |
- If the cable is damaged or to be replaced, the operation must be carried out the by after-sale agent with dedicated tools to avoid any accidents.
- If the appliance is being connected directly to the mains an omnipolar circuit-breaker must be installed with a minimum opening of 3mm between contacts
- The installer must ensure that the correct electrical connection has been made and that it is compliant with safety regulations.
- The cable must not be bent or compressed.
- The cable must be checked regularly and replaced by authorised technicians only.
Caution!
Remember to connect the safety circuit to the connection box terminal marked with ![]()
The electricity supply for the hob must have a safety switch which enables the power to be cut off in case of emergency. The distance between the working contacts of the safety switch must be at least 3 mm. Before connecting the cooker to the power supply it is important to read the information on the data plate and the connection diagram.
The manufacturer will not accept any responsibility if the applicable standards are not respected.
This appliance must be installed only by authorised personnel and in accordance with UK regulations. The surfaces must be capable of sustaining temperatures of 80°C. All laminates, fixing adhesive and surface materials should be certified suitable for this temperature.
According to the diagrams below, cut a hole in the worktop and insert the hob. The hob can be fitted to any worktop with a thickness of 40mm or 50mm.

- Board Recommended installation

- 50mm MIN.
- Heat outlet
15mm MIN. - Ventilation slot ≥ mm:30
Please note the following:
- The minimum height of any adjacent units (including light pelmets) is 450mm, unless they are manufactured from a material resistant to fire (ceramic tiles, for example).
- No overhang or cooker hood is permitted within 650mm distance in height above the hotplates.
- Leave at least 50mm clearance between the underside of the appliance and any combustible area.
INSERTING AND FIXING THE HOB
Before inserting the hob into the work surface, place the adhesive seal (a) around the underside edge of the hob. It is important to fix this seal evenly without gaps or overlapping to prevent liquids from seeping underneath the hob. Please follow the below instructions:
1) Place the seal around the bottom edge of the hob as shown in the illustration below.
2) Place the hob in the installation opening and push it down so that the hob is resting firmly on the worktop.
3) Secure the hob in position using the fixing brackets supplied.
Screw one end of the bracket into the pre-drilled holes in the underside of the hob.
The other end of the bracket should be located underneath the worktop to secure the hob in position.

- Worktop
- Fixing bracket
- Screw
TROUBLESHOOTING
| PROBLEM | CHECKLIST |
| Hob does not work |
|
| Smoke when hob is on |
|
| Damaged wire |
|
![]() | This appliance is labelled in compliance with European directive 2012/19/EC for Waste Electrical and Electronic Equipment (WEEE). By ensuring that this appliance is disposed of correctly, you will help prevent any possible harm to the environment and to human health which might otherwise be caused if disposed of in the wrong way. The symbol on the product indicates that it may not be treated as normal household waste. It should be taken to a collection point for the recycling of electrical and electronic goods. This appliance requires specialist waste disposal. For further information regarding the treatment, recovery and recycling of this product, please contact your local council, household waste disposal service or the shop where you purchased the product. For more detailed information about treatment, recovery and recycling of this product, please contact your local local council, household waste disposal service or the shop where you purchased the product. |
TECHNICAL INFORMATION
About Erp
| Symbol | Value | Unit | |
| Model identification | — | SP601X | |
| Type of hob | — | Built-in hob | |
| Number of electric cooking zones and/ or areas | — | 4 | |
| Heating technology (induction cooking zones and cooking areas, radiant cooking zones, solid plates) | — | Solid plates | |
| For circular cooking zones or area: diameter of useful surface area per electric heated cooking zone, rounded to the nearest 5 mm | Ø | FL: 18,0 FR: 14,5 RR: 18,0 RL: 14,5 | cm |
| For non-circular cooking zones or areas: length and width of useful surface area per electric heated cooking zone or area, rounded to the nearest 5 mm | L, W | N/A | cm |
| Energy consumption per cooking zone or area calculated per kg | EC electric cooking | FL: 199 RR: 194 FR: 205 RL: 184 | Wh/kg |
| Energy consumption for the hob calculated per kg | EC electric hob | 195 | Wh/kg |
Here For You
After-sales assistance
If you continue to experience problems with your appliance, please call the Montpellier customer service helpline on: 01759 487839
Please have all your product details available, including the model number, serial number, original sales invoice (clearly showing model number, date of purchase and your retailer’s details) before registering a fault.
The service call cannot progress without this information.
Your 2 year Manufacturer’s guarantee
THIS DOES NOT AFFECT YOUR STATUTORY RIGHTS.
Your new Montpellier appliance carries a free guarantee whichprotects you against the cost of repairs during the first 24 months from date of purchase provided that:
Any claim is accompanied by evidence of the model reference, model serial number and proof of purchase, such as a Sales Receipt, showing that the appliance was purchased within the 24 months prior to the date of claim.
What is not covered under the Guarantee
- Any appliance not correctly installed and operated in accordance with the manufacturer’s instructions
- Any appliance that is used for anything other than domestic purposes.
Any defect caused by accident, misuse, unauthorised modification or inexpert repair. - Cost of Call-out where a fault cannot be found with the appliance. Cost of Call-out for work covering routine maintenance, such as, but not exclusively, cleaning of filters or defrosting.
- Cost of Call-out for work required to correct the alignment of doors following door reversal procedures carried out by you.
Use of the appliance by anyone other than the Householder.
Use in any commercial environment. - Consumable items, such as, but not exclusively, fuses in plugs, bulbs and breakable items which require routine replacement.
Repair costs incurred that have not been authorised by Montpellier service and/or carried out by a nonapproved Montpellier engineer. - Montpellier Appliances do not accept claims for consequential loss, rusting, corroding, delivery damage or scratches.
YOUR GUARANTEE IS VALID ONLY IN THE UK & REPUBLIC OF IRELAND
To register your appliance simply complete the card in your appliance pack and return it with a stamp affixed or alternatively you can register online at www.montpellier-appliances.com/support
SERVICE HELP-LINE
Should your appliance develop a fault, please call the Montpellier customer service helpline on:
01759 487839
Please remember to have all your product details available, including the model number, serial number, date of purchase and your retailer’s details before registering a fault.
Montpellier Domestic Appliances Ltd.
Unit 1, Tewkesbury Retail Park, Northway Lane,
Tewkesbury, Gloucestershire GL20 8JU
www.montpellier-appliances.com
The symbol on the product or on its packaging indicates that this product may not be treated as household waste. Instead it shall be handed over to the applicable collection point for the recycling of electrical and electronic equipment. By ensuring this product is disposed of correctly, you will help prevent potential negative consequences for the environment and human health, which could otherwise be caused by inappropriate waste handling of this product. For more detailed information about recycling of this product, please contact your local city office, your household waste disposal service or the shop where you purchased the product.





















