





CHARGE BEFORE FIRST USE
OPERATOR’S MANUAL
56V BATTERY
2.5AH/4AH/5AH/7.5AH/10AH /12AH
MODEL NUMBER BA1400T/BA2240T/BA2242T/BA2800T/BA4200T/BA5600T/BA6720T/BA1400T-FC/BA2240T-FC/BA2242T-FC /BA2800T-FC/BA4200T-FC/BA5600T-FC/BA6720T-FC
WARNING: To reduce the risk of injury, the user must read and understand the Operator’s Manual before using this product. Save these instructions for future reference.
READ ALL INSTRUCTIONS!
READ & UNDERSTAND
OPERATOR’S MANUAL
This battery pack has many features for making its use more pleasant and enjoyable. Safety, performance, and dependability have been given top priority in the design of this product making it easy to maintain and operate.
SAFETY SYMBOLS
The purpose of safety symbols is to attract your attention to possible dangers. The safety symbols and the explanations with them deserve your careful attention and understanding. The symbol warnings do not, by themselves, eliminate any danger. The instructions and warnings they give are no substitutes for proper accident prevention measures.
WARNING: Be sure to read and understand all safety instructions in this Operator’s Manual, including all safety alert symbols such as “DANGER,” “WARNING,” and “CAUTION” before using this tool. Failure to following all instructions listed below may result in electric shock, fire, and/or serious personal injury.

WARNING: The operation of any power tools can result in foreign objects being thrown into your eyes, which can result in severe eye damage. Before beginning power tool operation, always wear safety goggles or safety glasses with side shields and a full face shield when needed. We recommend a Wide Vision Safety Mask for use over eyeglasses or standard safety glasses with side shields. Always use eye protection which is marked to comply with ANSI Z87.1.
WARNING: Risk of fire and burns. Do not recharge, disassemble, heat above 212 °F (100 °C), or incinerate. Keep battery out of reach of children and in original package until ready to use. Dispose of used batteries promptly according to local recycling or waste regulations.
SAFETY INSTRUCTIONS
This page depicts and describes safety symbols that may appear on this product. Read, understand, and follow all instructions on the machine before attempting to assemble and operate.
| V | Volt | Voltage |
| A | Amperes | Current |
| Hz | Hertz | Frequency (cycles per second) |
| W | Watt | Power |
| min | Minutes | Time |
| ~ | Alternating Current | Type of current |
| Direct Current | Type or a characteristic of current | |
| n0 | No Load Speed | Rotational speed, at no load |
| … /min | Per Minute | Revolutions per minute |
![]() | Recycle Symbols | This product uses lithium-ion (Li-ion) batteries. Local, state, or federal laws may prohibit disposal of batteries in ordinary trash. Consult your local waste authority for information regarding available recycling and/ or disposal options. |
![]() | Wet Conditions Alert | Do not expose to rain or use in damp locations. |
![]() | Read & Understand Operator’s Manual | To reduce the risk of injury, user must read and understand operator’s manual before using this product |
![]() | Eye Protection | Always wear safety goggles or safety glasses with side shields and a full face shield when operating this product. |
| Safety Alert | Precautions that involve your safety. |
WARNING: Read and understand all instructions. Failure to follow all instructions
listed below may result in electric shock, fire and/or serious personal injury. The term “power tool” in all of warnings listed below refers to corded power tools or battery operated (cordless) power tools.
WARNING: To ensure safety and reliability, all repairs should be performed by a qualified service technician.
WORK AREA SAFETY
- Keep the work area clean and well lit. Cluttered or dark areas invite accidents.
- Do not operate power tools in explosive environments, such as in the presence of flammable liquids, gases, or dust. Power tools create sparks, which may ignite the dust or fumes.
ELECTRICAL SAFETY
- Do not expose power tools to rain or wet conditions. Water entering a power tool will increase the risk of electric shock.
- Use only with chargers listed below:
| BATTERY PACKS | CHARGER |
| BA1400T, BA1400T-FC, BA2240T, BA2240T-FC, BA2242T, BA2242T-FC BA2800T, BA2800T-FC, BA4200T, BA4200T-FC, BA5600T, BA5600T-FC, BA6720T, BA6720T-FC | CH2100, CH2100-FC, CH5500, CH5500-FC, CH2800D, CH2800D-FC, CH7000, CH7000-FC, CH3200, CH3200-FC |
BATTERY TOOL USE AND CARE
- Prevent unintentional starting. Ensure the switch is in the off-position before connecting to battery pack, picking up or carrying the appliance. Carrying the appliance with your finger on the switch or energizing appliance that have the switch on invites accidents.
- Disconnect the battery pack from the appliance before making any adjustments, changing accessories, or storing appliance. Such preventive safety measures reduce the risk of starting the appliance accidentally.
- Do not modify or attempt to repair the appliance or the battery pack (as applicable) except as indicated in the instructions for use and care.
- Do not use a battery pack or appliance that is damaged or modified. Damaged or modified batteries may exhibit unpredictable behaviour resulting in fire explosion or risk of injury.
- Recharge only with the chargers specified by the manufacturer. A charger that is suitable for one type of battery pack may create a rise of fire when used with another battery pack.
- Use power tools only with specifically designated battery packs. Use of any other battery packs may create a risk of injury and fire.
- When battery pack is not in use, keep it away from other metal objects like paper clips, coins, keys, nails screws or other small metal objects that can make a connection from one terminal to another. Shorting the battery terminals together may cause burns or a fire.
- Under abusive conditions, liquid may be ejected from the battery; avoid contact. If contact accidentally occurs, flush with water. If liquid contacts eyes, additionally seek medical help. Liquid ejected from the battery may cause irritation or burns.
SERVICE
- Follow instructions in the Maintenance section of this manual. Use of unauthorized parts or failure to follow Maintenance instructions may create a risk of shock or injury.
SPECIFIC SAFETY RULES
- Know your power tool. Read the operator’s manual carefully. Learn the applications and limitations, as well as the specific potential hazards related to the tool. Following this rule will reduce the risk of electric shock, fire, or serious injury.
- Battery tools do not have to be plugged into an electrical outlet; therefore, they are always in operating condition. Be aware of possible hazards when not using your battery tool or when changing accessories. Following this rule will reduce the risk of electric shock, fire or serious personal injury.
- Do not expose a battery pack or appliance to fire or excessive temperature. Exposure to fire or temperature above 212 °F (100°C) may cause explosion.
- Do not dispose of the batteries in a fire. The cells may explode. Check with local codes for possible special disposal instructions.
- Do not open or mutilate the battery. Released electrolyte is corrosive and may cause damage to the eyes or skin. It may be toxic if swallowed.
- Do not crush, drop or damage the battery pack. Do not use a battery pack or charger that has been dropped or received a sharp blow. A damaged battery is subject to explosion. Properly dispose of a dropped or damaged battery immediately.
- Batteries vent hydrogen gas and can explode in the presence of a source of ignition, such as a pilot light. To reduce the risk of serious personal injury, never use any cordless product in the presence of open flame. An exploded battery can propel debris and chemicals. If exposed, flush with water immediately.
- Do not charge the battery in a damp or wet location. Following this rule will reduce the risk of electric shock.
- Follow all charging instructions and do not charge the battery pack or appliance outside of the temperature range specified in the instructions. Charging improperly or at temperatures outside of the specified range may damage the battery and increase the risk of fire. The specified temperature is greater than 41°F (5° C) and less than 104°F (40° C).
- Under extreme usage or temperature conditions, battery leakage may occur. If liquid comes in contact with your skin, wash immediately with soap and water, then neutralize with lemon juice or vinegar. If liquid gets in your eyes, flush them with clean water for at least 10 minutes, and then seek immediate medical attention. Following this rule will reduce the risk of serious personal injury.
- Do not let gasoline, oils, petroleum-based products, etc. come in contact with plastic parts. These substances contain chemicals that can damage, weaken or destroy plastic.
- Have your battery pack serviced by a qualified repair person using only identical replacement parts. This will ensure that the safety of the battery pack is maintained.
- Save these instructions. Refer to them frequently and use them to instruct others who may use this tool. If you lend someone this tool, lend them these instructions also to prevent misuse of the product and possible injury.
SAVE THESE INSTRUCTIONS!
INTRODUCTION
Congratulations on your selection of a new generation of 56V Lithium-ion battery pack. It has been designed, engineered and manufactured to give you the best possible dependability and performance.
Should you experience any problem you cannot easily remedy, please contact EGO customer service center 1-855-EGO-5656.
This manual contains important information on to the safe assembly, operation and maintenance of your battery pack. Read it carefully before using the battery pack. Keep this manual handy so you can refer to it at any time.
SERIAL NUMBER _______________ DATE OF PURCHASE ___________
YOU SHOULD RECORD BOTH SERIAL NUMBER AND DATE OF PURCHASE AND KEEP IN A SAFE PLACE FOR FUTURE REFERENCE
SPECIFICATIONS
| Battery | BA1400T/BA1400T-FC: 56V 2.5Ah Lithium-ion |
| BA2240T/BA2240T-FC: 56V 4Ah Lithium-ion | |
| BA2242T/BA2242T-FC: 56V 4Ah Lithium-ion | |
| BA2800T/BA2800T-FC: 56V 5Ah Lithium-ion | |
| BA4200T/BA4200T-FC: 56V 7.5Ah Lithium-ion | |
| BA5600T/BA5600T-FC: 56V 10Ah Lithium-ion | |
| BA6720T/BA6720T-FC: 56V 12Ah Lithium-ion | |
| Recommended Ambient Temperature for Charging | 41°F-104°F(5°C-40°C) |
| Optimum Storage Temperature in Use | 50°F-80°F(10°C-26°C) |
| Battery weight | BA1400T/BA1400T-FC: 2.87 lb. (1.30kg) |
| BA2240T-BA2240T-FC: 4.19 lb. (1.9 kg) | |
| BA2242T/BA2242T-FC: 4.85 lb. (2.20 kg) | |
| BA2800T/BA2800T-FC: 4.96 lb. (2.25kg) | |
| BA4200T/BA4200T-FC: 6.39 lb. (2.90kg) | |
| BA5600T/BA5600T-FC: 7.72 lb. (3.50kg) | |
| BA6720T/BA6720T-FC: 8.05 lb. (3.65 kg) |
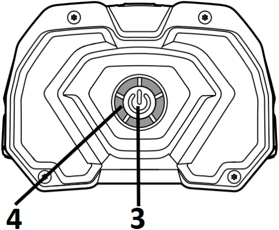
DESCRIPTION
KNOW YOUR LITHIUM-ION BATTERY PACK (Fig. 1)
[1]


- Cooling Air Port
- Battery Contacts
- Power Button
- 5-LED Indicator
OPERATION
5-LED INDICATOR ON BATTERY PACK
This lithium-ion battery pack is equipped with a 5-LED indicator, press the power button to display the charge level or its working condition, the LED indicator will last for 10 seconds.
| Battery charge level/Working condition | 5-LED indicator | Remarks |
| Charge level 80% to 100% | ![]() | 5-LED shining green |
| Charge level 60% to 80% | ![]() | 4-LED shining green |
| Charge level 40% to 60% | ![]() | 3-LED shining green |
| Charge level 20% to 40% | ![]() | 2-LED shining green |
| Charge level 10% to 20% | ![]() | 1-LED shining green |
| Charge level less than 10% | ![]() | 1-LED flashing red. |
| Low voltage | ![]() | 5-LED flashing red. The battery pack is nearly depleted and needs to be charged immediately. |
| Over temperature | ![]() | 5-LED shining red. Cool the battery pack until the temperature drops below 152°F (67°C). |
| Self maintenance (Not available for BA2240T/BA2240T-FC, which is equipped with other advanced technology to extend the battery life.) | – | 5 LEDs shine solid red for 10 seconds, then go out and remain off for 10 seconds, then shine solid red for 10 seconds again or 5 LEDs flash green every two seconds based on different battery version. Both indications, the LEDs will run the cycle until the self-maintenance is finished. |
BATTERY PROTECTION
The battery circuitry protects the battery pack from extreme temperature, over-discharge, and over-charge. To protect the battery from damage and prolong its life, the battery pack circuitry will turn off the battery pack if it becomes overloaded or if the temperature becomes too high during use. This may happen in extremely high torque, binding, and stalling situations. The battery pack will shut down with LED indicator shining red for 10s when its operating temperature exceeds 158°F (70°C), and will begin normal operation when it returns to 152°F (67°C).
NOTICE: A significantly reduced run time after fully charging the battery pack indicates that the batteries are near the end of their usable life and must be replaced.
COLD WEATHER OPERATION
This Lithium-Ion battery pack will provide optimal performance in temperatures between 50°F(10°C) and 80°F(26°C). When the battery pack is very cold, it may “pulse” for the first minute of use to warm itself. Put the battery pack on a tool and use the tool in a light application. After about a minute, the battery pack will have warmed itself and will operate normally.
WHEN TO CHARGE THE BATTERY PACK
NOTICE: Lithium-Ion battery packs are shipped partially charged. Before using it the first time, fully charge the battery pack.
NOTICE: This battery pack is equipped with an advanced self-maintenance function to extend the battery life. Depending on the battery charge, it will automatically perform a self-discharge operation after one month of storage. After this self-maintenance, the battery pack will enter sleep mode and maintain 30% of its charge capacity. If stored for a month or longer, fully recharge the battery before the next use. (Not applicable to BA2240T/BA2240T-FC which is equipped with other advanced technology to extend the battery life.)
It is not necessary to run down the battery pack charge before recharging. The Lithium-Ion battery can be charged at any time and will not develop a “memory” when charged after only a partial discharge. Use the 5-LED indicator to determine when the battery pack needs to be recharged.
HOW TO CHARGE THE BATTERY PACK
Follow the instructions in the Operator’s Manual for the individual EGO Charger.
TO ATTACH AND DETACH THE BATTERY PACK
Follow the instructions in the Operator’s Manual for the individual EGO product.
MAINTENANCE
WARNING: To avoid serious personal injury, always remove the battery pack from the tool when cleaning or performing any maintenance.
WARNING: When servicing, use only identical EGO replacement parts. Use of any other parts may create a hazard or cause product damage.
WARNING: It is not recommended to use compressed dry air as a cleaning method for the battery pack. If cleaning with compressed air is the only method to apply, always wear safety goggles or safety glasses with side shields when using compressed air to clean the tool. If the operation is dusty, also wear a dust mask.
GENERAL MAINTENANCE
Avoid using solvents when cleaning plastic parts. Most plastics are susceptible to damage from various types of commercial solvents and may be damaged by their use. Use clean clothes to remove dirt, dust, oil, grease, etc.
WARNING: Do not at any time let brake fluids, gasoline, petroleum-based products, penetrating oils, etc. to come in contact with plastic parts. Chemicals can damage, weaken or destroy plastic which may result in serious personal injury.
WARNING: To reduce the risk of fire, personal injury, and product damage due to a short circuit, never immerse your tool, battery pack or charger in fluid or allow a fluid to flow inside them. Corrosive or conductive fluids, such as seawater, certain industrial chemicals, and bleach or bleach containing products, etc., Can cause a short circuit.
BATTERIES
The battery pack is equipped with Lithium-Ion rechargeable batteries. The duration of use from each charge will depend on the type of work performed.
The batteries in this tool have been designed to provide maximum trouble-free life. Like all batteries, they will eventually wear out.
Do not disassemble the battery pack or attempt to replace the batteries. Handling of the batteries, especially when wearing rings and jewelry could result in a serious burn.
To obtain the longest possible battery life, read and understand the operator’s manual.
- It is good practice to unplug the charger and remove the Lithium-Ion battery pack when not in use.
For Lithium-Ion battery pack storage longer than 30 days:
Store the Lithium-Ion battery pack where the temperature is below 80°F (26°C) and free of moisture.
- Store Lithium-Ion battery packs in a 30%-50% charged condition.
- Every six months of storage, fully charge the Lithium-Ion battery pack.
- Exterior may be cleaned with a cloth or soft non-metallic brush.
NOTICE: This battery pack has equipped with an advanced self-maintenance function. It can maintain 30% of its charge capacity automatically after it is stored over one month. (Not applicable to BA2240T/BA2240T-FC, which is equipped with other advanced technology to extend the battery life.)
BATTERY PACK REMOVAL AND PREPARATION FOR RECYCLING
To preserve natural resources, please recycle or dispose of batteries properly. This product contains lithium-ion batteries. Local, state, or federal laws may prohibit disposal of lithium-ion batteries in ordinary trash. Consult your local waste authority for information regarding available recycling and/or disposal options.
WARNING: Upon removal of the battery pack for disposal or recycling, cover the battery pack’s terminals with heavy-duty adhesive tape. Do not attempt to destroy or disassemble the battery pack or remove any of its components. Lithium-Ion batteries must be recycled or disposed of properly. Also, never touch the terminals with metal objects and/or body parts as a short circuit may result. Keep away from children. Failure to comply with these warnings could result in fire and/or serious injury.
TROUBLESHOOTING
| PROBLEM | CAUSE | SOLUTION |
| The battery pack charge is reduced after more than one month of non-use. | The battery pack has automatically performed self-maintenance to extend its life. | Fully recharge the battery pack before use. |
| The battery endcap gets warm during storage. Either 5 LEDs shine solid red for 10 seconds, then go out and remain off for 10 seconds, then shine solid red for 10 seconds, or the 5 LEDs flash green for every two seconds. This difference is based on battery version. | The battery pack is automatically performed self-maintenance to extend battery life. The LEDs will run the cycle until the self-maintenance is finished. | No action is required; this is normal. |
| The 5-LED indicator shines red when the battery pack is working. | The battery is too hot. | Cool the battery pack until its temperature drops below 152°F (67°C). |
| The battery will not charge correctly on the charger. (The charger doesn’t work and shines the cold/heat battery indicator). | The battery pack is too hot or too cold. | Allow the battery pack to cool down or warm up. If charging does not restart when the battery pack returns to the normal temperature, reinsert the battery pack. |
WARRANTY
EGO WARRANTY POLICY
5-year limited warranty on EGO POWER+ outdoor power equipment and portable power for personal, household use.
3-year limited warranty on EGO POWER+ System battery packs and chargers for personal, household use. An additional 2-year extended warranty applies for the 10.0Ah battery whether sold separately (Model# BA5600T) or included with any tool, if it is registered within 90 days of purchase. 5-year limited warranty on CHV1600 charger, designed for use with Zero Turn Riding Mower for personal, household use.
2 year/1year limited warranty on EGO outdoor power equipment, portable power, battery packs, and chargers for professional and commercial use.
The detailed warranty periods by products can be found online at http://egopowerplus.com/warranty-policy.
Please contact EGO Customer Service Toll-Free at 1-855-EGO-5656 any time you have questions or warranty claims.
LIMITED SERVICE WARRANTY
EGO products are warranted against defects in material or workmanship from the date of original retail purchase for the applicable warranty period. Defective product will receive free repair.
a) This warranty applies only to the original purchaser from an authorized EGO retailer and may not be transferred. Authorized EGO retailers are identified online at http://egopowerplus.com/warranty-policy.
b) The warranty period for reconditioned or factory certified products used for residential purpose is 1 year, for industrial, professional or commercial purpose is 90 days.
c) The warranty period for routine maintenance parts, such as, but not limited to, ride-on mower seat, wheels, tires, anti-scalp wheels, brake disc, friction block, blades, trimmer heads, chain bars, saw chains, belts, scraper bars, rubber paddles, augers, skid shoes, blower nozzles, and all other EGO accessories is 90 days for residential purpose, 30 days for industrial, professional or commercial purpose. These parts are covered for 90/30 days from manufacture defects in normal working conditions.
d) This warranty is void if the product has been used for rental purpose.
e) This warranty does not cover the damage resulting from modification, alteration or unauthorized repair.
f) This warranty only covers defects arising under normal usage and does not cover any malfunction, failure or defect resulting from misuse, abuse (including overloading of the product beyond capacity and immersion in water or other liquid), accidents, neglect or lack of proper installation, and improper maintenance or storage.
g) This warranty does not cover normal deterioration of the exterior finish, including but not limited to scratches, dents, paint chips, or to any corrosion or discoloring by heat, abrasive and chemical cleaners.
HOW TO OBTAIN SERVICE
For warranty service, please contact EGO customer service toll-free at 1-855-EGO-5656. When requesting warranty service, you must present the original dated sales receipt. An authorized service center will be selected to repair the product according to the stated warranty terms. When bringing your product to the authorized service center, there may be a small deposit that will be required when dropping off your tool. This deposit is refundable when the repair service is deemed to be covered under warranty.
ADDITIONAL LIMITATIONS
To the extent permitted by applicable law, all implied warranties, including warranties of MERCHANTABILITY or FITNESS FOR A PARTICULAR PURPOSE, are disclaimed. Any implied warranties, including warranties of merchantability or fitness for a particular purpose, that cannot be disclaimed under state law are limited to the applicable warranty period defined at the beginning of this article.
Chervon North America is not responsible for direct, indirect, incidental or consequential damages.
Some states do not allow limitations on how long an implied warranty lasts and/or do not allow the exclusion or limitation of incidental or consequential damages, so the above limitations may not apply to you.
This warranty gives you specific legal rights, and you may also have other rights which vary from state to state.
For customer service contact us toll-free at: 1-855-EGO-5656 or EGOPOWERPLUS.COM. EGO Customer Service, 769 SEWARD AVE NW / Suite 102 Grand Rapids, MI 49504























