Owner’s Manual & Safety Instructions
Save This Manual Keep this manual for the safety warnings and precautions, assembly, operating, inspection, maintenance, and cleaning procedures. Write the product’s serial number in the back of the manual near the assembly diagram (or month and year of purchase if the product has no number).
Keep this manual and the receipt in a safe and dry place for future reference.
Gallon Portable Air Tank
65594 5 Gallon Air Tank
94801 7 Gallon Air Tank
65595 11 Gallon Air Tank
Visit our website at: http://www.harborfreight.com
Email our technical support at: [email protected]
When unpacking, make sure that the product is intact and undamaged. If any parts are missing or broken, please call 1-888-866-5797 as soon as possible.
Copyright© 2011 by Harbor Freight Tools®. All rights reserved. No portion of this manual or any artwork contained herein may be reproduced in any shape or form without the express written consent of Harbor Freight Tools. Diagrams within this manual may not be drawn proportionally. Due to continuing improvements, the actual product may differ slightly from the product described herein.
Tools required for assembly and service may not be included.
WARNING Read this material before using this product. Failure to do so can result in serious injury. SAVE THIS MANUAL.
Specifications
| Tank Capacity | Model 65594: 5 Gallon Model 94801: 7 Gallon Model 65595: 11 Gallon |
| Max. Air Pressure | 125 PSI (65594 / 65595) 140 PSI (94801) |
| Hose Length | 3’ (All Models) |
Safety Alert Symbol and Signal Words
In this manual, on the labeling, and all other information provided with this product:
This is the safety alert symbol. It is used to alert you to potential personal injury hazards. Obey all safety messages that follow this symbol to avoid possible injury or death.
DANGER indicates a hazardous situation which, if not avoided, will result in death or serious injury.
WARNING indicates a hazardous situation which, if not avoided, could result in death or serious injury.
CAUTION, used with the safety alert symbol, indicates a hazardous situation which, if not avoided, could result in minor or moderate injury.
NOTICE is used to address practices not related to personal injury.
CAUTION, without the safety alert symbol, is used to address practices not related to personal injury.
SAFETY INSTRUCTIONS
INSTRUCTIONS PERTAINING TO A RISK OF FIRE, ELECTRIC SHOCK, OR INJURY TO PERSONS
- Assemble only according to these instructions. Improper assembly can create hazards.
- Do not operate the product if under the influence of alcohol or drugs. Read warning labels on prescriptions to determine if your judgment/reflexes might be impaired.
- Do not wear loose clothing or jewelry as they can be caught in moving parts.
- Protective gloves and nonskid footwear are recommended.
- Wear restrictive hair covering to contain long hair.
- Use eye protection. Always wear ANSI-approved impact safety goggles.
- Maintain proper footing and balance at all times.
Work Area
TO AVOID RISK OF PERSONAL INJURY, EQUIPMENT DAMAGE, FIRE, AND SHOCK MAKE SURE YOUR WORK AREA IS:
- Free of damp, wet, or rainy conditions.
- Free of flammable gasses or liquids.
- Free of children (never let them handle tools or machinery).
- Well-lit. 5. Clean and uncluttered. 6. Well-ventilated.
Before Operating
- Before using any tool, any part that appears damaged should be carefully checked to determine that it will operate properly and perform its intended function.
- Before operating your Air Tank, check for damaged parts.
- Do not exceed the maximum PSI air pressure (see Specifications Chart).
- Use compressed air only.
- When filling the tank, do not over-pressurize.
- Do not overinflate. Never exceed the maximum pressure rating of any inflatable. Check pressure frequently during inflation.
- Pull the Safety Pressure Bypass Valve prior to operation to ensure that the valve is functioning properly and to clear the valve of any possible obstructions.
- Beware of possible explosion. The unit is capable of producing compressed air at high pressure which could cause tires, toys, or other inflatables to explode. This could result in serious injury.
- Store idle equipment. When not in use, tools must be stored in a dry location to prevent damage from the elements.
- Do not fill from any compressed gas cylinder.
- Only fill with air from a service station or low-pressure air compressor.
- Do not fill Air Tank with anything other than air.
- Do not expose the Air Tank to severe moisture or extreme heat.
- If a leak should develop in Air Tank, discard it immediately. Do not attempt to repair a damaged Air Tank.
- This product is not a toy. Do not allow children to play with or near this item.
- Use for the intended purpose(s) only.
- Inspect before every use; do not use if parts are loose or damaged.
- Maintain product labels and nameplates. These carry important safety information. If unreadable or missing, contact Harbor Freight Tools for a replacement.
SAVE THESE INSTRUCTIONS.
Operation
Read the ENTIRE IMPORTANT SAFETY INFORMATION section at the beginning of this document including all text under subheadings therein before set up or use of this product.
Note: For additional information regarding the parts listed in the following pages, refer to the Assembly Diagram near the end of this manual.
Filling the Tank
- Take your Air Tank to any source of clean and dry compressed air. A full-service gas station or truck stop is preferable.
- Attach air hose from the service station or low-pressure Air Compressor system to the air fitting on the Manifold (4).
- Begin pumping air into the Air Tank.
Note: Monitor the Pressure Gauge (3) as you fill the Air Tank. Fill as needed. WARNING! TO PREVENT SERIOUS INJURY: Do not overfill tank.
Releasing Air From Tank
- Turn the round On/Off Wheel (5) counter-clockwise to the open position. This allows air to flow from the Air Tank (1) through the Air Hose (2).
- Next place the Outlet Valve at the end of the Air Hose (2) over the valve of the object to be inflated.
- Once the pin inside the Outlet Valve is depressed, air will begin to flow out from the Air Tank into the object being inflated. Once you are finished inflating air into the object, remove the Outlet Valve and the air will stop being released from the tank.
WARNING! Do not overinflate. Do not exceed the maximum pressure rating of any inflatable object. Check pressure frequently during inflation. The Air Tank should be examined periodically. If any damage to the welds is noted do not use the tank.
- Press the Air Chuck (7) onto the fill stem of the inflatable item.
- Turn the red Adjustment Dial (6) counterclockwise to ON. This will let the airflow from the Tank and into the Hose (3). DO NOT OVER-INFLATE.
- Once the item is filled with the recommended max. PSI level, remove the Air Chuck from the item’s fill stem.
- Note: The Tank pressure must exceed the pressure of the item you are filling. If not, the Tank will be unable to expel air. If this happens, increase the Tank pressure and check that the ON/OFF Adjustment Dial is fully open. WARNING: Never fill the tank to over 125 PSI (over 140 PSI for the 94801 7 Gallon Tank).
- When done, turn Adjustment Dial to OFF. This will close the valve between the Tank and Hose and keep air from leaking.
- If the Tank will not be used for a long period of time, expel the air inside the Tank and hose. Store in a clean and dry location away from children.
Maintenance
- Regularly drain water condensation from of Tank, which can lead to internal corrosion and damage to the tank. To drain, hold Tank upside down and remove the Bypass Valve Spring (2).
- Due to internal corrosion, do not use the tank beyond the destroy date stamped into the leg of the Tank (1). Safely disable the tank as follows:
a. Depressurize the air tank completely, by holding the Bypass Valve Spring open.
WARNING! Failure to properly depressurize the tank before proceeding may result in serious personal injury.
b. Remove the pressure gauge and hose.
c. Deliver the tank to a pressure tank disposal service, if available.
d. If a pressure tank disposal service is not available, place the tank in a secure, stable ZRUNLQJORFDWLRQDQGGULOODWOHDVWWZRRU larger) holes through the side of the tank. Then, deliver to the appropriate recycling center.
Storing the Air Tank
- Turn the round On/Off Wheel (5) clockwise to the Off position. This will keep air from leaking out of Air Hose.
- Store in a dry, dust-free location away from children and any flammable materials.
- To remove all air from the Air Tank, pull the Ring (13) until the Gauge indicates zero and the airflow stops.
If there Is any questIon about a condItIon beIng safe or unsafe, do not operate the tool.
Record Serial Number Here:
Note: If the product has no serial number, record the month and year of purchase instead.
Note: Some parts are listed and shown for illustration purposes only, and are not available individually as replacement parts. Parts may not be interchangeable. Specify UPC number when ordering:
5 Gallon: 792363655941
7 Gallon: 792363948012
11 Gallon: 792363655958
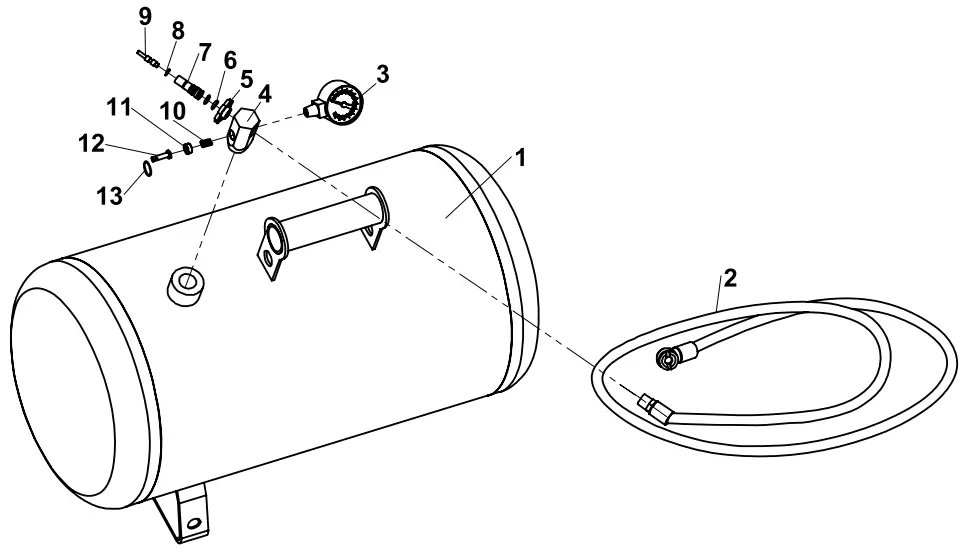
Parts List and Assembly Diagram
| Part | Description | Qty. |
| 1 | Air Tank | 1 |
| 2 | Air Hose | 1 |
| 3 | Gauge | 1 |
| 4 | Manifold | 1 |
| 5 | Wheel | 1 |
| 6 | O-ring | 2 |
| 7 | Tire Valve | 1 |
| 8 | E-Ring | 1 |
| 9 | Valve Core | 1 |
| 10 | Spring | 1 |
| 11 | Regulator | 1 |
| 12 | Discharge Valve | 1 |
| 13 | Ring | 1 |

PLEASE READ THE FOLLOWING CAREFULLY
THE MANUFACTURER AND/OR DISTRIBUTOR HAS PROVIDED THE PARTS DIAGRAM IN THIS MANUAL AS A REFERENCE TOOL ONLY. NEITHER THE MANUFACTURER NOR DISTRIBUTOR MAKES ANY REPRESENTATION OR WARRANTY OF ANY KIND TO THE BUYER THAT HE OR SHE IS QUALIFIED TO MAKE ANY REPAIRS TO THE PRODUCT OR THAT HE OR SHE IS QUALIFIED TO REPLACE ANY PARTS OF THE PRODUCT. IN FACT, THE MANUFACTURER AND/OR DISTRIBUTOR EXPRESSLY STATES THAT ALL REPAIRS AND PARTS REPLACEMENTS SHOULD BE UNDERTAKEN BY CERTIFIED AND LICENSED TECHNICIANS AND NOT BY THE BUYER. THE BUYER ASSUMES ALL RISK AND LIABILITY ARISING OUT OF HIS OR HER REPAIRS TO THE ORIGINAL PRODUCT OR REPLACEMENT PARTS THERETO OR ARISING OUT OF HIS OR HER INSTALLATION OF REPLACEMENT PARTS THERETO.
LIMITED 90 DAY WARRANTY
Harbor Freight Tools Co. makes every effort to assure that its products meet high quality and durability standards, and warrants to the original purchaser that this product is free from defects in materials and workmanship for the period of 90 days from the date of purchase. This warranty does not apply to damage due directly or indirectly, to misuse, abuse, negligence or accidents, repairs or alterations outside our facilities, criminal activity, improper installation, normal wear, and tear, or to lack of maintenance. We shall in no event be liable for death, injuries to persons or property, or for incidental, contingent, special or consequential damages arising from the use of our product. Some states do not allow the exclusion or limitation of incidental or consequential damages, so the above limitation or exclusion may not apply to you. THIS WARRANTY IS EXPRESSLY IN LIEU OF ALL OTHER WARRANTIES, EXPRESS OR IMPLIED, INCLUDING THE WARRANTIES OF MERCHANTABILITY AND FITNESS. To take advantage of this warranty, the product or part must be returned to us with transportation charges prepaid. Proof of purchase date and an explanation of the complaint must accompany the merchandise. If ur inspection verifies the defect, we will either repair or replace the product at our election or we may elect to refund the purchase price if we cannot readily and quickly provide you with a replacement. We will return repaired products at our expense, but if we determine there is no defect, or that the defect resulted from causes not within the scope of our warranty, then you must bear the cost of returning the product. This warranty gives you specific legal rights and you may also have other rights which vary from state to state.
26677 Agoura Road
Calabasas, CA 91302
1-888-866-5797

















