SINGER SP550 Steam Press with 20″ Pressing Surface
IMPORTANT SAFETY INSTRUCTIONS
PLEASE READ THIS MANUAL CAREFULLY BEFORE USING AND KEEP IT FOR FUTURE REFERENCE.
When using electrical appliances, especially when children are present, basic safety precautions should always be taken, including the following:
READ ALL INSTRUCTIONS BEFORE USING – KEEP AWAY FROM WATER
DANGER
Any appliance is electrically live even when the switch is off. To reduce the risk of death by electric shock:
- Always unplug Steam Press immediately after using.
- Do not place or store appliance where it can fall or be pulled into a tub or sink.
- Do not place or drop in water or other liquid.
- If appliance falls in water, unplug it immediately. Do not reach into water.
WARNING To reduce the risk of burns, electrocution, fire, or injury to persons:
- This appliance should never be left unattended when plugged in.
- Close supervision is necessary when this appliance is used by or near children or the physically challenged. Unsupervised use could result in fire or personal injury.
- Use this appliance only for its intended use as described in this manual. Do not use attachments not recommended by the manufacturer.
- This appliance can be used by children aged from 8 years and above and persons with reduced physical, sensory or mental capabilities or lack of experience and knowledge if they have been given supervision or instruction concerning use of the appliance in a safe way and understand the hazards involved. Children shall not play with the appliance. Cleaning and user maintenance shall not be made by children without supervision.
- If the supply cord is damaged, it must be replaced by the manufacturer, its service agent or a similarly qualified person in order to avoid a hazard.
- Never operate this appliance if it has a damaged cord or plug, if it is not working properly, if it has been dropped or damaged, or it has been dropped in water. Do not attempt to repair the appliance. Incorrect reassembly or repair could cause a risk of fire, electric shock, or injury to persons when the appliance is used. Return appliance to an authorized service center for examination.
- Keep cord away from heated surfaces. Do not allow cord to contact heated surfaces. Do not pull or twist cord. Let appliance cool completely before putting away.
- This appliance has a polarized plug (one blade is wider than the other). As a safety feature, this plug will fit in a polarized outlet only one way. If the plug does not fit fully in the outlet, reverse the plug. If it still does not fit, contact a qualified electrician. Do not attempt to defeat this safety feature.
- Never drop or insert any object into any opening.
- Do not use outdoors or operate where aerosol(spray)products are being used or where oxygen is being administered.
- Do not use an extension cord to operate appliance.
- Surfaces of this appliance may be hot when in use. Do not let eyes or bare skin touch heated surfaces.
- Always turn the On/Off Switch to “Off” before plugging in or unplugging unit.
- Always let appliance cool for at least thirty minutes before storing.
- Do not move appliance without unplugging it.
- Unplug this appliance before filling with water. Do not overfill.
- While emitting steam, this appliance may cause burns if held too close to the skin, scalp or eyes, or if it is used incorrectly. To reduce risk of contact with hot water as it escapes through steam vents, test appliance before each use by holding and testing it away from body.
- Do not operate steamer without properly filling the Water Tank.
- Never yank cord to disconnect from outlet. Instead, grasp plug and pull to disconnect.
- USE CAUTION – burns could occur from touching hot metal parts, or proximity to hot water or steam. Do not turn unit upside down – there may be hot water in Tank.
- To reduce likelihood of circuit overload, do not operate another high wattage appliance on the same circuit.
- Use distilled or demineralized water in Steam Press.
- Do not let cord hang over the edge of counter.
- Always put appliance on a secure, level surface, such as a table or counter, when using.
- This Steam Press is for household use only.
- Do not allow cord to touch hot surfaces. Let appliance cool completely before putting away. Loop cord loosely around appliance when storing.
- This appliance must be grounded. Do not alter the plug or attempt to defeat this feature.
- Before plugging in Steam Press, be sure electrical information on the label agrees with your power supply.
- Disconnect Steam Press when not in use and when the Ironing Board Cover is being replaced.
PRODUCT INFORMATION
The following features and accessories are included with your steam press. Carefully inspect packaging material as some parts are shipped inside Styrofoam packaging. To obtain possible missing parts, refer to Consumer Support section of this manual.
UNIT FEATURES AND ACCESSORIES
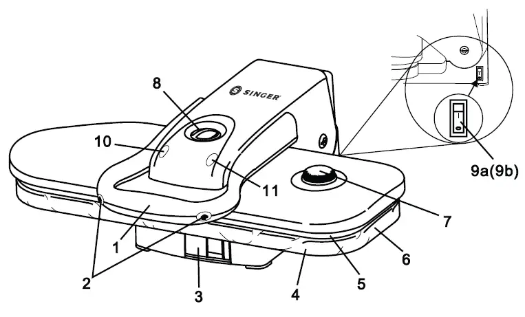
- Handle
- Steam Burst Buttons
- Water Tank
- Ironing Board
- Pressing Plate
- Ironing Board Cover
- Temperature Control Dial
- Locking Knob
- On/Off Switch
b. Power Indicator Light - Pressing Indicator Light
- Steam Ready Indicator Light
- Measuring Cup
- Spray Bottle
- Pressing Cushion


FEATURES & ACCESSORIES DESCRIPTIONS
- Handle – raises and lowers the Pressing Plate. Also used to carry the unit.
- Steam Burst Buttons – located on either side of the Handle and produces a burst of steam when pressed.
- Water Tank – holds the water needed to produce steam.
- Ironing Board – padded surface onto which fabric is placed for pressing.
- Pressing Plate – large temperature-controlled surface that heats and presses fabric.
- Ironing Board Cover – protects the Ironing Board, is removable and can be washed.
- Temperature Control Dial – used to select a desired temperature. Turn dial to the fabric setting that matches the material you are pressing.
- Locking Knob – locks the Pressing Plate and Ironing Board together.
- On/Off Switch – activates and deactivates the unit.
- Power Indicator Light – illuminates when On/Off Switch is in “On” (|) position.
- Pressing Indicator Light – illuminates while unit is heating to selected temperature. When light goes off, Steam Press is ready for use.
- Steam Ready Indicator Light – illuminates when unit is ready to produce steam for use.
- Measuring Cup – used to assist in easily filling the Water Tank (best with distilled water).
- Spray Bottle – used to moisten fabric before pressing stubborn wrinkles and heavier fabrics.
- Pressing Cushion – fabric-covered pad used for pressing gathered or contoured areas such as sleeves, darts, collars or yokes.
USING THE PROFESSIONAL STEAM PRESS
AUTO SHUT-OFF
The Auto Shut-Off feature deactivates electrical power to the heater when Pressing Plate has been left in closed position against the Ironing Board. The Pressing Indicator Light (Orange) and Steam Burst Ready Indicator Light (Orange) does not illuminate. Heater functionality is restored when the Pressing Plate is lifted back up.
IMPORTANT: Auto Shut-Off does not mean power to the unit is totally cut off. Power is always on, and the Power Indicator Light will remain illuminated until On/Off Switch is set to “Off” (O) position. Unplug power cord.
FEATURES OF PROFESSIONAL STEAM PRESS
Your Steam Press provides clean, professional results every time!
- Variable temperature control
- Automatic Shut Off safety feature while open or closed
- Power Indicator Light
- Protects delicate fabrics like silk
IMPORTANT: DO NOT PLUG IN UNIT UNTIL YOU HAVE FILLED THE WATER TANK. DO NOT AT-TEMPT TO PULL WATER TANK OUT COMPLETELY. FOR HOUSEHOLD USE ONLY.
FILLING WATER TANK
- Place Professional Steam Press on a flat, level surface.
- Turn Locking Knob to “Unlock” position to unlock Pressing Plate.
- Lift up Pressing Plate using Handle. It will automatically stay in lifted position.
- Pull Water Tank out. Note that Water Tank cannot be com-pletely removed from unit; do not attempt to force it free.
- Remove Water Tank Cap to expose Water Tank refill hole.
- Using Measuring Cup (included), fill Water Tank up to the 150ml (5.07 oz) line with water.
- Replace Water Tank Cap and push Water Tank back in main unit.

OPERATION
- With Pressing Plate raised, plug power cord into electrical outlet, and turn On/Off Switch to “On” (|) position.
- Identify type of fabric to be pressed, then select correspond-ing temperature setting using Temperature Control Dial. It is best to start with the most delicate fabric first. Higher heat will damage Nylon and Silks. Pressing Indicator Light will illuminate. (A few minutes of heating time will be required to reach selected temperature. Once Pressing Plate is heated, Pressing Indicator Light will deactivate. You are now ready to begin pressing.).
- Lay fabric flat on Ironing Board.
- If pressing wool, cotton or linen you may choose to spray with a burst of steam using Steam Burst Buttons. This function is available once Steam Burst Ready Indicator Light illuminates. See “Steam” section before applying steam.
- To press, lower Pressing Plate gently onto fabric and Ironing Board. Hold there for 8-10 seconds, then lift Pressing Plate. Repeat until you have achieved desired crease and smoothness.
NOTE: The unit will automatically turn off the Pressing Plate after 10 seconds in closed position. Once unit is opened, it will return to normal operation. - Once pressing tasks are complete, immediately turn On/Off Switch to “Off” (O) position and unplug power cord from electrical outlet.

STEAM
IMPORTANT: Do not activate Steam Burst Buttons with unit com-pletely closed, as this may damage unit. Best results are obtained if Pressing Plate is held open approximately 3 in. (75 mm.) above Ironing Board before pressing Steam Burst Buttons. For safety reasons, do not hold Pressing Plate open more than 3 in. (75 mm.) when using Steam Burst Buttons. Only use burst of steam for 1 second for best results. If Pressing Plate is left on fabric for more than 10 seconds, it could damage fabric.
NOTE: When using Nylon or Silk settings, no steam is produced.
- Hold Pressing Plate approximately 3 in. (.75 mm.) above Ironing Board.
- Press Steam Burst Buttons to release a burst of steam onto fabric for 1 second.
- Lower Pressing Plate onto fabric for 8-10 seconds, then raise once again.
NOTE: If Pressing Plate is left on fabric for more than 10 seconds, it could damage fabric. - Repeat steps 1-3 above until fabric is smooth and wrinkle-free.

PRESSING AND STEAMING TIPS
PRESSING PANTS
- Place Pressing Cushion under waistband and press. Continue repositioning waistband until completely pressed.
- To press inseam, place Pressing Cushion under area to be pressed.
- Place pleated area on Ironing Board. Carefully fold pleats and press.

PRESSING SHIRTS AND BLOUSES
- Place shoulder yoke on Ironing Board first and press.
- Place sleeves on Ironing Board with the fold parallel to long seam, and press.
- Place cuffs on end of Ironing Board, and press.
- Place bottom of shirt behind Ironing Board by pressing the side with pocket. Pull shirt towards you as you press each section.
NOTE: Embroidery should be placed face down on Ironing Board to reduce wear and prevent damage to delicate areas. - Finish by pressing collar of shirt.

OTHER TECHNIQUES
- Placing Pressing Cushion between fabric and Pressing Plate may help with delicate fabrics.
- If you have older types of buttons or zippers, you may need to take special care to avoid melting. In order to do so, place garment face-down and cover with Pressing Cushion before pressing.
- Spray Bottle may be used to spray fabric lightly. This will help to remove stubborn wrinkles.
- Place damp cloth over fabric before pressing. This will help with stubborn wrinkles or heavy gauge fabrics.
- To press large pieces of fabric, place entire piece behind Ironing Board. Pull fabric toward you over Ironing Board and lower Pressing Plate. Press fabric in sections until completed.
- Place embroidery face down on Ironing Board to reduce wear and prevent damage to delicate areas.
USING PRESSING CUSHION
- For garments constructed with details such as darts, curved seams, and shoulder pads, a Pressing Cushion may be used.
- Use Pressing Cushion in areas where no creases are desired or to shape a tailored garment.
- Place area to be pressed on the Ironing Board.
- Place Pressing Cushion under dart, seam, etc.
- Making sure the area to be pressed is raised, lower Pressing Plate until it meets the raised area.
- Do not force Pressing Plate to its lowest position. This may cause damage to the unit.

CLEANING STEAM PRESS
- Fill Water Tank with distilled or demineralized water.
- Place Pressing Cushion in the middle of Ironing Board.
- Place a clean towel over Pressing Cushion and Ironing Board.
- Set Temperature Control Dial to the highest setting (LINEN).
- When Steam Ready Indicator Light illuminates, lower Pressing Plate onto Pressing Cushion.
- Press Steam Burst Button six times.
- Allow Pressing Plate to cool.
- Clean Pressing Plate with damp cloth. Do not use abrasive materials, as this may dam-age Pressing Plate.
- Ironing Board Cover is removable for cleaning. Hand wash only with mild detergent.

STORAGE
- Once pressing is complete, immediately turn On/Off Button “Off” and unplug power cord from electrical outlet.
- Allow unit to cool completely (at least 30 minutes).
- Lower Pressing Plate down, and turn Locking Knob to “Lock” position.
- Wrap up power cord.
- Store all accessories safely away, preferably near Professional Steam Press.
- Store Professional Steam Press in a cool, dry place.
- For long term storage, empty water from Water Tank.
TROUBLESHOOTING & WARRANTY

This electrical appliance complies with directive 2002/96/EC (Waste Electrical and Electronic Equipment – WEEE).
The meaning of the crossed-through waste bin symbol on the appliance is the product must be disposed of separately to other household waste at the end of the useful life of the appliance. The user is responsible for delivering appliance to an appropriate collection center at that time.
Appropriate separate collection for environment-friendly treatment and recycling prevents or reduces the harmful effect on the environment and human health. You can obtain information on available collection services in your area by contacting your local Council waste collection department, or the retailer from which you bought the appliance.
LIMITED WARRANTY
IMPORTANT: SAVE THIS DOCUMENT AND KEEP IT IN A SAFE PLACE!
The Professional Steam Press is warranted to be free from defects in material and workmanship.
The warranty for the Professional Steam Press’s wiring and electronic parts is for a period of one (1) year from the date of purchase.
The warranty for all other parts of the Professional Steam Press is for a period of ninety (90) days from the date of purchase.
If the electronic parts and/or the other parts in the Professional Steam Press, after inspection by SINGER, prove to be defective during the applicable warranty period(s), the electronic parts and/or the other parts will be repaired or replaced at SINGER’s option, without charge, except for any expense associated with sending the Professional Steam Press to SINGER.
If SINGER sends a replacement Professional Steam Press, it will carry the remaining war-ranty of the original Professional Steam Press.
This warranty may only be used by the original consumer owner of the Professional Steam Press and may not be transferred or assigned.
Warranty
Exclusions or Limitations
- Service under this warranty may only be obtained within the 48 contiguous states, Alaska, Hawaii and Canada.
- The Professional Steam Press is warranted only for normal household (non-commercial) use. This warranty does not cover defect(s) caused by abuse, lack of maintenance or other neglect, failure to follow the care, cleaning or other instructions for the Professional Steam Press, misuse, or events beyond our control.
- ANY IMPLIED WARRANTY APPLICABLE TO THE PROFESSIONAL STEAM PRESS, IN-CLUDING WITHOUT LIMITATION THE WARRANTIES OF MERCHANTABILITY AND/OR FITNESS FOR A PARTICULAR PURPOSE, IS LIMITED IN DURATION OF THIS WRIT-TEN WARRANTY. SINGER SHALL NOT BE LIABLE FOR CONSEQUENTIAL ECONOMIC DAMAGES RESULTING FROM BREACH OF THIS WARRANTY OR ANY IMPLIED WAR-RANTY.
- SINGER does not authorize any person to create for it any obligation or liability in connection with the Professional Steam Press and any of its parts beyond those set forth in this warranty.
- SINGER disclaims liability under this warranty for any damage or defect resulting from the use of other than SINGER parts and SINGER approved service in the repair and maintenance of the Professional Steam Press.
- This warranty gives you specific legal rights, and you may also have other rights which vary from state to state.
- Some states do not allow limitations on how long an implied warranty lasts, so the above limitation may not apply to you.
- Some states do not allow the exclusion or limitation of incidental or consequential damages, so the above limitation or exclusion may not apply to you.
Service under the Warranty may be obtained by returning the Professional Steam Press with:
- This original warranty document; and
- Proof of purchase (such as the purchase receipt) to:
SVP Sewing Brands LLC ATTN: Service Department 1714 Heil Quaker Boulevard LaVergne, TN 37068
If you have any questions regarding these warranties, please contact:
SVP Sewing Brands LLC 1-800-4-SINGER (1-800-474-6437)
E-mail: [email protected]
ATTN: Consumer Affairs 1714 Heil Quaker Boulevard LaVergne, TN 37068 Or, visit the Consumer Support Area of our website at: www.Singer.com
FAQs
The SINGER SP550 steam press takes how long?
After turning on the iron, give it five minutes to steam. If you want to remove burned material from the soleplate, heat your iron to its highest setting. Put a lot of salt on a surface like a brown bag or a piece of newspaper.
What’s the process of a SINGER SP550 steam press?
Stream presses function in a similar way to an iron. They apply pressure to a flat surface while adding heat and steam to loosen the wrinkles. However, the pressing plate of a steam press may be ten times larger than an iron. This large flat plate quickly and flawlessly produces results.
A SINGER SP550 steam press is how hot?
While a steam press machine’s typical maximum working temperature is just over 200°C (400°F), a heat press machine can operate at temperatures as high as 250°C (500°F).
Is it possible to use the SINGER SP550 steam press without water?
Yes. To drain the water from your steam iron, simply unplug it, let it cool, and then empty the water tank. If your iron has a dry/steam setting, select it; if not, select “MIN”. If your iron has a dry/steam setting, select it.
How long should SINGER SP550 steam for?
Typically, we advise steaming once or twice a day for 10-15 minutes. It is best to do it when you are most aware of your symptoms, such as when your voice has been used more frequently, your throat is dry, or when you have been in a dry environment. Since boils can scald, wait about a minute before using the water.
Is the SINGER SP550 steam press more efficient than an iron?
Steamers are typically faster than irons because you don’t have to lay your clothes out flat and move them around as you work.
How is a SINGER SP550 steam press iron cleaned?
Set your cool iron upright on an old towel on your ironing board. Combine one-half cup of distilled water and one-half cup of distilled white vinegar. Put the mixture inside the iron. The steam vents can be cleaned with a cotton swab dipped in vinegar. Plug in the iron after setting it to steam.
What drawbacks come with a SINGER SP550 steam iron?
It might take some time to iron your fabrics with a steam iron because they don’t produce as much heat as steam generators or other steaming systems, and they also need to be refilled more frequently.
Can you clean clothes with a SINGER SP550 steam press?
It does this as a result of the heat produced and transmitted to the fabric. Steam can help your fancy clothes in a variety of ways. Several reports, including one from The Laundress, claim that steaming can eliminate odor-causing bacteria and germs.
What kind of water does the SINGER SP550 steam press use?
In order to lengthen the lifespan of your iron or steamer, it is advised to use distilled or demineralized water (50 percent tap water and 50 percent demineralized water could also be used).
Can you only dry clean the SINGER SP550 steam press?
Unless you’re going for sharp creases on slacks or crisp pleats on a shirt or skirt, items of clothing that should only be dry-cleaned can be wrinkle-free with the help of a clothes steamer. The wrinkles will disappear as a result of the steam’s ability to loosen the fabric’s fibres.
How is a SINGER SP550 steam press plate cleaned?
Baking soda is a wonder cleaner that can be used to clean anything, including dishwashers and ovens. It cleans your iron as well. You can make a stain-removing paste with just two tablespoons of baking soda and one tablespoon of water. Avoid getting baking soda in the steam holes by gently rubbing it on the iron plate.




















