LEGEND FORCE A063001 46cc Cultivator
INTRODUCTION
THANK YOU
We appreciate the trust and confidence you have placed in Legend Force through the purchase of this 46cc Cultivator. We strive to continually create quality products designed to enhance your home. Visit us online to see our full line of products available for your home improvement needs. Thank you for choosing Legend Force!
SAFETY & INTERNATIONAL $YMBOLS
Safety Information
- Always wear the appropriate Personal Protective Equipment (PPE) when operating this machine.
- Signals an EXTREME hazard. Failure to obey a safety DANGER symbol WILL result in serious injury or death to yourself or to others.
- Crude oil, gasoline, diesel fuel and other petroleum products can expose you to chemicals including toluene and benzene, which are known to the State of California to
- cause cancer and birth defects or other reproductive harm. These exposures can occur in and around oil fields, refineries, chemical plants, transport and storage operations
- such as pipelines, marine terminals, tank trucks and other facilities and equipment. For more information go to: www.P65 ca.gov/petroleum.
- Signals a SERIOUS hazard. Failure to obey a safety
- symbol CAN result in serious injury to yourself or to others.
- Signals a MODERATE hazard. Failure to obey a safety
- symbol MAY result in property damage or injury to yourself or to others.
- Advises you of information or instructions vital to the operation or maintenance of the equipment
CALIFORNIA PROPOSITION 65
- This product contains a chemical known to the state of California to cause cancer, birth defects or other reproductive harm.
- ENGINE EXHAUST, SOME OF ITS CONSTITUENTS AND CERTAIN FINISHED COMPONENTS CONTAIN OR EMIT CHEMICALS KNOWN TO THE
- STATE OF CALIFORNIA TO CAUSE CANCER AND BIRTH DEFECTS OR OTHER REPRODUCTIVE HARM. WASH HANDS AFTER HANDLING.
Read the operator’s manual and follow all warnings and safety instructions. Failure to do so can result in serious injury to the operator and/or bystanders.
INTENDED USE
This engine gasoline powered cultivator is intended for loosening and working up the soil in a garden and tor tilling coarse soil for mixing in fertilizer, peat and compost in domestic areas. This product may not be used to till extremely dry or wet soil. This product is intended for private domestic use only, not for any commercial trade use. It must not be used for any purposes other than those described.
GENERAL SAFETY RULES
- Read, understand, and follow all instructions on the machine and in the manual(s). Be thoroughly familiar with the controls and the proper use of the machine before starting.
- Use this equipment for its intended purpose only.
- Familiarize yourself with all of the safety and operating decals on this equipment and on any of its attachments or accessories.
- Do not put hands or feet near or under rotating parts.
- Only allow responsible individuals who are familiar with the instructions to operate the machine.
- Do not allow children to operate this machine.
- Do not allow adults to operate the machine without proper instruction.
- Thoroughly inspect the area where the machine is to be used and remove all foreign objects. Your equipment can propel small objects at high speed causing injury or property damage. Stay away from breakable objects, such as house windows, automobiles, greenhouses, etc.
- Wear appropriate clothing such as a long-sleeved shirt or jacket. Also wear long trousers or slacks. Do not wear shorts. Never wear sandals, sneakers or open shoes, and never operate the machine with bare feet.
- Do not wear loose clothing or jewelry. They can get caught in moving parts. Always keep hands, feet, hair and loose clothing away from any moving parts on engine and machine.
- Always wear safety goggles or safety glasses with side shields when operating the machine to protect your eyes from foreign objects which can be thrown from the unit.
- Always wear a protective hearing device.
- Always wear work gloves and sturdy footwear. Wear footwear that will improve footing on slippery surfaces. Leather work shoes or short boots work well for most people. These will protect the operator’s ankles and shins from small sticks, splinters, and other debris.
- It is advisable to wear protective headgear to prevent the possibility of being struck by small flying particles, or being struck by low hanging branches, twigs, or other objects which may be unnoticed by the operator.
- Do not operate the machine without proper guards or other safety protective devices in place.
- See manufacturer’s instructions for proper operation and installation of accessories. Only use accessories approved by the manufacturer.
- Operate only in daylight or good artificial light.
- Do not operate product when fatigued or under the influence of alcohol, drugs or other medication which can cause drowsiness or affect your ability to operate this machine safely.
- Never operate machine in wet grass. Always be sure of your footing; keep a firm hold on the handle and walk; never run.
- Watch for traffic when operating cultivator near, or when crossing roads.
- If the equipment should start to vibrate abnormally, stop the engine (motor) and press and hold the On/Off switch in the off position till the engine stops. The switch will return to the on position automatically.
- Check immediately for cause. Vibration is generally a warning of trouble. If the noise or vibrations of the machine increase, stop immediately and perform an inspection.
- Never leave the machine unattended when the engine is running. Press and hold the On/Off switch in the off position till the engine stops. The switch will return to the on position automatically. The OFF switch will come back to the ON position automatically.
- Regularly inspect the machine. Make sure parts are not bent, damaged or loose.
- Temperature of muffler and nearby areas may exceed 150° F (65° C). Allow muffler and engine areas to cool before touching. Never pick up or carry the machine while the engine is running.
- Prolonged exposure to noise and vibration from gasoline engine-powered equipment should be avoided. Take intermittent breaks and/or wear ear protection from engine noise as well as heavy work gloves to reduce vibration in the hands.
- Keep all screws, nuts and bolts tight.
- Do not transport the machine from one place to another with the engine running.
- When moving the packaged machine, always do so with a partner.
- Check local regulations for age restrictions on use of this machine.
PRODUCT-SPECIFIC SAFETY RULES
- Do not cultivate above underground utilities, including water lines, gas lines, electric cables, or pipes. Do not operate the machine on terrain/soil with large rocks and foreign objects which can damage the equipment.
- After striking a foreign object, stop the engine. Press and hold the On/Off switch in the off position till the engine stops. The switch will return to the on position automatically. Inspect the machine for damage. If damaged, repair before starting and operating the machine.
- The tines of the cultivator should not rotate when the engine is idling. If it does rotate when engine is idling, contact us toll free at 1-877-527-0313.
- If an object becomes lodged in the tines, press and hold the On/ Off switch in the off position till the engine stops. The switch will return to the on position automatically. Allow to cool before attempting to remove the foreign object.
- The clutch will transfer maximum power after about two hours of normal operation. During this break-in period clutch slippage may occur. The clutch should be kept free of oil or other moisture for efficient operation.
ENGINE SAFETY PRECAUTIONS
- If your product comes with a separate engine manual, be sure to read and follow all safety and warning precautions outlined there, in addition to any in this manual
- Always start and run engine outdoors. Do not start or run engine in an enclosed area, even if doors or windows are open.
- Never try to ventilate engine exhaust indoors. Carbon monoxide can reach dangerous levels very quickly
- Never run engine outdoors where exhaust fumes may be pulled into a building.
- Never run engine outdoors in a poorly ventilated area where the exhaust fumes may be trapped and not easily taken away. (Examples include: in a large hole or areas where hills surround your working area.)
- Never run engine in an enclosed or partially enclosed area. (Examples include: buildings that are enclosed on one or more sides, under tents, car ports or basements.)
- Always run the engine with the exhaust and muffler pointed in the direction away from the operator.
- Never point the exhaust muffler towards anyone. People should always be many feet away from the operation of the engine and its attachments.
- Do not change the engine governor settings or over-speed the engine.
GASOLINE FIRES AND HANDLING FUEL SAFELY
- Use extra care in handling gasoline and other fuels. They are flammable and vapors are explosive.
- When storing extra fuel be sure that it is in an appropriate container and away from any fire hazards.
- Prevent fire and explosion caused by static electric discharge. Use only nonmetal, portable fuel containers approved by the Underwriter’s Laboratory (U.L.) or the merican Society for Testing & Materials (ASTM).
- Always fill fuel tank outside in a well ventilated area. Never fill your fuel tank with fuel indoors. (Examples include: basement, garage, barn, shed, house, porch, etc.) Never fill tank near appliances with pilot lights, heaters, or other ignition sources. If the fuel has to be drained, this should be done outdoors. The drained fuel should be stored in a container specifically designed for fuel storage or it should be disposed of carefully.
- Never remove the fuel cap or add fuel with the engine running. Stop engine and allow to cool before filling.
- Never drain fuel from engine in an enclosed area.
- Always wipe up excess (spilled) fuel from engine before starting.
- Clean up spilled fuel immediately. If fuel is spilled, do not start the engine but move product and fuel container from area. Clean up spilled fuel and allow to evaporate and dry after wiping and before starting.
- Allow fuel fumes/vapors to escape from the area before starting engine.
- Test the fuel cap for proper installation before starting and using engine.
- Always run the engine with fuel cap properly installed on the engine.
- Never smoke while refilling engine fuel tank.
- Do not store engine with fuel in fuel tank indoors. Fuel and fuel vapors are highly explosive.
- Never siphon fuel by mouth to drain fuel tank.
- Always have an adult fill the fuel tank and never allow children to fill the fuel tank.
- Never allow an adult or anyone under the influence of drugs or alcohol to fill the fuel tank.
- When storing gasoline or equipment with fuel in the tank, store away from furnaces, stoves, water heaters or other appliances that have a pilot light or other ignition source because they can ignite gasoline vapors.
BURNS AND FIRES
The muffler, muffler guard and other parts of the engine become extremely hot during the operation of the engine. These parts remain extremely hot after the engine has stopped.
PREVENTION OF BURNS AND FIRES
- Never remove the muffler guard from the engine.
- Never touch the muffler guard because it is extremely hot and will cause severe burns.
- Never touch parts of the engine that become hot after operation.
- Always keep materials and debris away from muffler guard and other hot parts of the engine to avoid fires.
CHILDREN AND BYSTANDERS
- Tragic accidents can occur if the operator is not alert to the presence of children and/or bystanders. Never assume that others will remain where you last saw them.
- Keep the area of operation clear of all persons, especially small children and pets. Keep children under the watchful care of a responsible adult
- Be alert and turn machine off if children enter the area.
- Before and while moving backwards, look behind and down for small children.
- Never allow children to operate the machine.
- Use extra care when approaching blind corners, shrubs, trees, or other objects that may obscure vision.
- WARNING: HOT GASES ARE A NORMAL BY-PRODUCT OF A FUNCTIONING INTERNAL COMBUSTION ENGINE. FOLLOW ALL SAFETY
INSTRUCTIONS TO PREVENT BURNS ANO FIRES. SERVICE
- Always stop the engine whenever you leave the equipment, before cleaning, repairing or inspecting the unit. Engine should be turned off and cool. Never make adjustments or repairs with the engine (motor) running.
- Always wear eye protection when you make adjustments or repairs.
- Keep all nuts and bolts tight and keep equipment in good condition.
- Never tamper with safety devices. Check their proper operation regularly.
- When servicing or repairing the machine, do not tip the machine over or up unless specifically instructed to do so in this manual. Service and repair procedures can be done with the machine in an upright position. Some procedures will be easier if the machine is lifted on a raised platform or working surface.
- To reduce fire hazard, keep machine free of grass, leaves or other debris build-up. Clean up oil or fuel spillage. Allow machine to cool before storing.
- Stop and inspect the equipment if you strike an object. Repair, if necessary, before restarting.
- Clean and replace safety and instruction decals as necessary.
- Inspect machine before storage. When not in use, press and hold the On/Off switch in the off position till the engine stops. The switch will return to the on position automatically. And store indoors in a dry place locked or otherwise inaccessible to children.
- Use only original equipment parts for the manufacturer including all nuts and bolts.
Warranty
LIMITED TWO-YEAR WARRANTY
2 year limited warranty on Legend Force 15 in. 46cc Cultivator. FOR TWO YEARS from the original date of retail purchase this Cultivator is warranted against defects in materials and workmanship period. Defective product will receive free repair.* This warranty does not cover normal wear of parts and components such as, line or blades nor does this warranty cover product transportation cost for warranty or service. Warranty is subject to the following conditions
- Warranty applies to the original purchaser at retail and is not transferrable.
- The tool has not been misused, abused, neglected, altered, modified or repaired by anyone other than an authorized service center.
- Only genuine OEM accessories have been used with or on this product.
- The tool has been subjected to normal wear and tear.
- The tool has not been used for trade or professional purposes.
- The tool has not been used for rental purposes.
- This warranty only covers defects arising under normal usage and does not cover any malfunction, failure or defect resulting from misuse, abuse (including overloading the product) accidents, neglect or lack of proper installation and improper maintenance or storage.
To locate the nearest service provider call 800-261 -3981. Additional Limitations Any implied warranty granted under state law, including warranties of merchantability or fitness for a particular purpose, are limited to two years from the date of purchase. The manufacturer is not responsible for direct, indirect, incidental or consequential damages. Some states and provinces do not allow limitations on how long an implied warranty lasts and/or do not allow the exclusion or limitation of incidental damages, so the above limitations and exclusions may not apply to you. This warranty gives you specific legal rights, and you may also have other rights which vary from state to state or province to province. The Home Depot declines any responsibility in regard to civil liability arising from abusive use or not in conformity with proper use and maintenance of the machine as described in the operator’s manual. The Home Depot is not responsible for direct, indirect, incidental or consequential damages. After the purchase, the manufacturer operator’s manual. The Home Depot is not responsible for direct, indirect, incidental or consequential damages. After the purchase, the manufacturer recommends proper maintenance of the machine and to read the operator’s manual before using the machine.Original purchase receipt may be required for proof of purchase. For customer service contact us toll free at 1-877-527-0313.
Pre-Assembly
HARDWARE INCLUDED
| Part | Description | Quantity |
| AA | Bolt | 4 |
| BB | Middle handle bar | 2 |
| cc | Gasket | 4 |
| DD | Knob | 4 |
| EE | Cable clip | 2 |
OTHER ITEMS INCLUDED
- 100 ml Oil bottle
- Operator’s Manual
- Quick Start Guide Manual
- Emission Statement
PACKAGE CONTENTS
Model#: A063001
As a cultivator:
Loosening and working up the soil in a garden and for tilling coarse soil for mixing in fertilizer, peat and compost in domestic areas.
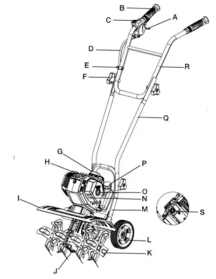
Description
- A Throttle lever
- B Handle (left & right)
- C On/off switch
- D Cable
- E Cable clip
- F Knob
- G Starter grip and rope
- H Primer bulb
- I Guard
- J Gearbox
- K Blades
- L Wheel
- M Lower handle bar
- N Choke button
- O Air filter knob
- P Fuel cap
- Q Middle handle bar
- R Upper handle bar
- S Oil fill plug
SPECIFICATIONS
| Model | A063001 |
| Engine displacement | 46 cc |
| Max. engine power | 1400W |
| Blade speed | 250 RPM |
| Blade cutting width | 15.7 in. (400 mm) |
| Blade cutting depth | 7.84 in. (200 mm Max.) |
| Fuel tank capacity | 28.16 oz. (800 ml) |
| Oil tank capacity | 3.37 oz. (100 ml) |
| Weight approx. | 25.4 lbs. (11.5 Kg) |
Assembly
This product requires assembly. Carefully remove the product and any accessories from the box. Make sure that all items listed in the packing list are included. Inspect the product carefully to make sure no breakage or damage occurred during shipping. Do not discard the packing material until you have carefully inspected and satisfactorily operated the product.
INSTALLING THE HANDLE BAR
The product must be fully assembled before operation! Do not use a product that is only partly assembled or assembled with damaged parts. Follow the assembly instructions step-by-step and use the pictures provided as a visual guide to easily assemble the product! Never start the engine before it is completely assembled!
- Set up the cultivator on flat and firm ground to ensure safe and sturdy operating.
- Align the holes in the middle handle bar (BB) with the holes in the lower handle bar (M) and secure the connection with the bolts (AA), knobs (DD), and gaskets (CC)

- Align the holes in the upper handle bar (R) with the holes in the middle handle bar (BB) and secure the connection with the bolts (AA), knobs (DD), and gaskets (CC)
Secure the cables with the cable clips (EE) 
ADDING OIL: INITIAL USE
- Attempting to start the engine before it has been properly filled with lubricant will result in equipment failure not covered by the warranty.
- Overfilling the crankcase may cause serious issues. Check the oil level before each use. The importance of maintaining the proper oil level cannot be overemphasized. Change the oil according to the Maintenance Schedule.
- Do not overfill. Overfilling the crankcase may cause excessive smoke, oil loss, and engine damage.
- Oil must be added before starting the unit.
- This unit comes with a 3.37 fluid oz. (100 mn container of oil.
- Set the unit on a flat, level surface horizontally as shown below

- Unscrew the oil fill plug
- Pour the 3.37 fluid oz. (100 ml) oil into the oil fill hole. DO NOT overfill.
- Insert the dipstick into the fill spout but do NOT screw in. Remove dipstick and check the oil level.
- When oil level is full, the oil will be between the upper limit and lower limit on the dipstick. If oil level is below the lower limit, add oil until the fluid level rises between the upper limit and lower limit on the dipstick
- Wipe up any oil that may have spilled.
- Reinstall the oil fill plug

USING THE RIGHT OIL
Use a high-quality SAE 30 weight oil. DO NOT use dirty oil. Failure to use clean oil of the correct type can cause premature engine wear and failure.
FUELING THE UNIT
Remove the fuel cap slowly to avoid injury from fuel spray. Never operate the unit without the fuel cap securely in place. Add fuel in a clean, well-ventilated outdoor area. Wipe up any spilled fuel immediately. Avoid creating a source of ignition for spilled fuel. Do not start the engine until fuel vapors dissipate. Pour fuel outdoors where there are no sparks or flames. Slowly remove the fuel cap after stopping the engine. Do not smoke while fueling. Wipe spilled fuel from the unit. Move at least 3 m (1 o ft) away from the fueling source before starting the engine
- Position the unit with the fuel cap facing up.
- Slowly remove the fuel cap.
- Place the fuel container spout into the fuel tank fill hole and fill the tank. Stop adding fuel when you see that the level reaches the base of the tank spout
- Wipe up any fuel that may have spilled.
- Reinstall the fuel cap.
- Move the unit at least 3 m (1 O ft) from the fuel container and the fueling site before starting the engine.

Operation
- Do not allow familiarity with this product to make you careless. Remember that a careless fraction of a second is sufficient to inflict serious injury.
- Always wear eye protection along with hearing protection. Failure to do so could result in objects being thrown into your eyes and other possible serious injuries.
- Do not use any attachments or accessories not recommended by the manufacturer of this product. The use of attachments or accessories not recommended can result in serious injury.
- Operation of this equipment could create sparks that can start fires around dry vegetation. A spark arrestor may be required. The operator should contact local fire agencies for laws or regulations relating to fire prevention requirements.
USING THE RIGHT FUEL
The use of old fuel is the most common cause of performance problems. Use only fresh, clean unleaded gasoline.
Definition of Blended Fuels
Today’s fuels are often a blend of gasoline and oxygenates such as ethanol, methanol or MTBE (ether). Alcohol-blended fuel absorbs water. As little as 1 % water in the fuel can make fuel and oil separate, forming acids when stored. ALWAYS use fresh fuel (less than 30 days old) with less than 10% ethanol. Dispose of old fuel according to federal, state and local regulations.
Using Blended Fuels
- If using a blended fuel:
- Always use fresh unleaded gasoline.
- Use the fuel additive STA-BILL® or an equivalent
USING THE RIGHT OIL TYPE
Using the proper type and weight of oil in the crankcase is extremely important. Check the oil before each use and change the oil regularly. Failure to use the correct oil, or using dirty oil, can cause premature engine wear and failure. Use a high-quality SAE 30 weight oil of API (American Petroleum Institute) service class SF, SG, SH.
WHEEL ADJUSTMENT
- The wheels can be adjusted to two positions.
- Pull on the wheel and move it to required position, let go of the wheel and make sure it locks in position

STARTING INSTRUCTIONS
- When oil level is full, the oil will be between the upper limit and lower limit on the dipstick. If oil level is below the lower limit, add oil until the fluid level rises between the upper limit and lower limit on the dipstick. Reinstall the oil fill plug.
- Fill the fuel tank. Stop adding the fuel when you see that the level reaches the base of the tank spout.
- Slowly press and release the primer bulb 1 O times
Push the choke button in until it clicks 
- Pull the starter rope with a controlled and steady motion five times until engine starts or attempts to start

- Squeeze the throttle lever to release the choke button

- IF the unit fails to start. Squeeze the throttle control, and pull the starter rope until the engine starts.
- IF THE ENGINE IS HOT… begin the starting procedure with step 5.
STOPPING INSTRUCTIONS
- Release the throttle lever and allow the engine to idle.
- Press and hold the On/Off switch in the Off (0) position until the engine comes to a complete stop
- Make sure the cutting attachment has stopped before the unit is set down

HOLDING THE UNIT
- Stand in the operating position (hold the machine in front of your body). Stand up straight. Do not bend over.
- Keep feet apart and firmly planted.
- Hold the handle with two hands. Keep the arms straight.
- Do not over-reach; Keep all parts of your body away from the rotating cutting attachment and hot surfaces
CLEARING JAMS
- If the blades get jammed by a wire or other obstruction and cannot move, follow these important safety rules:
- NEVER reach for, or try to remove, jammed material while the engine is running.
- ALWAYS switch the unit off and wait for blades to stop before clearing a jam.
- ALWAYS inspect the blades after clearing a jam to make sure all jammed material has been cleared, and to make sure blades are not damaged.
Maintenance
When servicing, use only identical replacement parts. Use of any other parts could create a hazard or cause product damage.
CLEANING
Use a small brush to clean the outside of the unit. Do not use strong detergents. Household cleaners that contain aromatic oils such as pine and lemon, and solvents such as kerosene, can damage plastic. Wipe off any moisture with a soft cloth: Correct and regular cleaning is not only important for the safe use of this product, but also extends its life span.
LUBRICATION
For a long lifespan, make sure that the cutting blades are cleaned and lubricated at regular intervals in order to ensure the best possible performance. Routinely apply a thin film of lubricating oil.
REPLACING THE BLADES
To replace the blades, take off the pin. Take off the broken blades and replace the new blades according to the original position Re-insert the pin to secure the blades.
MAINTENANCE SCHEDULE
Perform these required maintenance procedures at the frequency stated in the table. These procedures should also be a part of any seasonal tune-up.
| FREQUENCY | MAINTENANCE REQUIRED |
| Every 1O hours | • Clean the air filter. Refer to Maintainina the Air Filter. |
| Every 20 hours | • Change the oil. Refer to Changing the Oil. • Reolace the oil after the first 5 hours. |
| Every 30 hours | • Have the rocker arm clearance checked by a qualified service dealer. • Check the spark plug condition and gap. Refer to Maintainina the Soark Plua. |
REMARKS
- The maintenance interval is only a recommendation for machines in ordinary operating condition.
- If there are any abnormal signs from the machine, please do the proper inspection and maintenance immediately.
- All other repairs or maintenance should be done by a qualified service center
CHECKING THE OIL LEVEL
Inspecting the Oil Level
- Stop the engine and allow it to cool
- Set the unit on a flat, level surface horizontally.
- Remove dipstick and check oil level. When oil level is full, the oil will be between the upper limit and lower limit on the dipstick (Fig. 14). If the oil level is too low, add oil. Refer to Adding Oil.

| FREQUENCY | MAINTENANCE REQUIRED |
| Every 1O hours | • Clean the air filter. Refer to Maintainina the Air Filter. |
| Every 20 hours | • Change the oil. Refer to Changing the Oil. • Reolace the oil after the first 5 hours. |
| Every 30 hours | • Have the rocker arm clearance checked by a qualified service dealer. • Check the spark plug condition and gap. Refer to Maintainina the Soark Plua. |
Adding Oil
- Set the unit on a flat, level surface horizontally.
- Clean the area around the oil fill plug (Fig. 14) to prevent debris from entering the oil fill hole.
- Unscrew the oil fill plug.
- Insert the dipstick into the fill spout but do NOT screw in. Remove the dipstick and check the oil level. Add oil until the fluid level rises between the upper limit and lower limit on the dipstick
- Wipe up any oil that may have spilled.
- Reinstall the oil fill plug
CHANGING THE OIL
- Change the oil while the engine is still warm. The oil will flow freely and carry away more impurities.
- Clean the area around the oil fill plug to prevent debris from entering the oil fill hole.
- Unscrew the oil fill plug.
- Tip the unit vertically to pour the oil out of the oil fill hole and into a container Allow ample time for complete drainage.

- Wipe up any oil that may have spilled.
- Set the unit on a flat, level surface horizontally.
- Pour 3.37 oz. (100 ml) of SAE 30 oil into the oil fill hole. When oil level is full, the oil will be between the upper limit and lower limit on dipstick If the oil level is too low, add oil. Refer to Adding Oil.
- Wipe up any oil that may have spilled.
- Reinstall the oil fill plug.
MAINTAINING THE AIR FILTER
Failure to maintain the air filter can result in poor performance or can cause permanent damage to the engine. Engine failure due to improper air filter maintenance is not covered by the product warranty.
Cleaning the Air Filter
- Unscrew the air filter knob completely. Remove the air filter cover from the air filter housing
- Remove the air filter from the air filter housing.
- Wash the air filter in detergent and water. Rinse the air filter thoroughly and allow it to dry.
- Reinstall the air filter in the air filter housing
- Insert the tab on the air filter cover into the hole in the air filter housing. Push the air filter cover back onto the air filter housing. Tighten the air filter knob to secure the air filter cover

ADJUSTING THE IDLE SPEED
Keep all parts of your body away from the cutting blades and muffler. Failure to follow these instructions could result in serious injury. If the engine will not idle properly:
- Start the engine. Refer to STARTING INSTRUCTIONS.
- Release the throttle control and let the engine idle.
- If the engine stops, increase the idle speed. Use a small screwdriver to turn the idle speed screw clockwise, 1/8 of a turn at a time, until the engine idles smoothly

| Idle speed screw | |
| 2 | Primer bulb |
- If the cutting blades spin when the engine idles, reduce the idle speed. Turn the idle speed screw counterclockwise, 1/8 of a turn at a time, until the cutting head stops moving
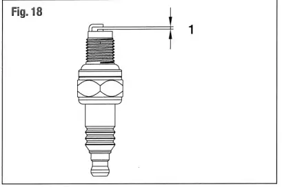
MAINTAINING THE SPARK PLUG
- Stop the engine and allow it to cool. Grasp the spark plug boot firmly and pull it from the spark plug.
- Clean around the spark plug. Remove the spark plug from the cylinder head with a 5/8-inch socket, turning counterclockwise.
- Inspect the spark plug. If the spark plug is cracked, fouled or dirty, replace it with replacement part refer to PART or an equivalent spark plug.
- Use a feeler gauge to set the air gap at 0.6 mm – 0.8 mm (0.025 in. – 0.031 in.) (Fig. 18).
- Install the spark plug in the cylinder head. Tighten the spark plug with a 5/8-inch socket, turning it clockwise until snug.
- Reattach the spark plug boot.

STORAGE
- Never store a fueled unit where fumes may reach an open flame or spark.
- Allow the engine to cool before storing.
- Lock up the unit to prevent unauthorized use or damage.
- Store the unit in a dry, well-ventilated area.
- Store the unit out of the reach of children.
- Store the unit after cleaning the cutting blade. Short-term Storage (1-2 weeks) Store the unit in a horizontal position.
long-term Storage
- Remove the fuel cap, tip the unit and drain the fuel into an approved container. Reinstall the fuel cap.
- Start the engine and allow it to run until it stalls. This ensures that all fuel has been drained from the carburetor.
- Allow the engine to cool. Remove the spark plug and put 5 drops of any high quality motor oil into the cylinder. Pull the starter rope slowly to distribute the oil. Reinstall the spark plug.
- Thoroughly clean the unit and inspect it for any loose or damaged parts. Repair or replace damaged parts and tighten loose screws, nuts or bolts.
- Store the unit in a horizontal position.
Preparing the Unit for Use after Long-term Storage
- Remove the spark plug. Tip the unit and drain all of the oil from the cylinder into an approved container. Reinstall the spark plug.
- Change the oil. Refer to Changing the Oil.
TRANSPORTATION
Transport the unit in a horizontal position. If not possible, transport the unit vertically with the engine at the top. Secure the unit to prevent damage during transport. Secure the unit to prevent it from slipping or falling over.
Troubleshooting
| PROBLEM | SOLUTION |
| THE ENGINE WILL NOT START. | |
| The fuel tank is empty. | Fill the fuel tank with fresh fuel. |
| The primer bulb was not pressed enough. | Press the primer bulb 1o times. |
| The fuel is old (over 30 days). | Drain the fuel tank and add fresh fuel. |
| The spark plug is fouled. | Replace the spark plug. |
| THE ENGINE WILL NOT IDLE. | |
| The air filter is dirty. | Clean or replace the air filter. |
| The fuel is old (over 30 days). | Drain the fuel tank and acid fresh fuel. |
| Idle speed screw needs adjustment. | Turn idle speed screw clockwise to increase idle speed. |
| THE ENGINE EMITS TOO MUCH SMOKE. | |
| Too much oil in crankcase. | Drain engine oil and refill with correct amount of engine lubricant. |
| THE ENGINE WILL NOT ACCELERATE. | |
| The fuel is old (over 30 days). | Drain the fuel tank and add fresh fuel. |
| The cutting blades is bound with any objects. | Stop the engine and clean the cutting blades. |
| The air filter is dirty. | Clean or replace the air filter. |
| THE ENGINE LACKS POWER OR STALLS. | |
| The fuel is old (over 30 days). | Drain the fuel tank and add fresh fuel. |
| The air filter is dirty. | Clean or replace the air filter. |
| The spark plug is fouled. | Replace the spark plug. |
| UNSATISFACTORY CUTTING PERFORMANCE. | |
| Cutting blade is dull/damaged. | Replace or contact a qualified service dealer. |
| Cutting material exceeds capacity. | Only cut material according to the capacity of the unit. |
| EXCESSIVE VIBRATION/NOISE OR EXHAUST. | |
| Bolts/Nuts are loose. | Tighten. |
| Gas/oil is incorrect. | Empty unused fuel and oil. Refill with fresh fuel and oil. |
Service Parts
| No. | Part# | Description | Qty. |
| 1 | 199004000734 | Handle Assembly | 1 |
| 1-1 | 201139000118 | Push Rod | 1 |
| 1-2 | 202015000438 | Pipe Sleeve | 2 |
| 1-3 | 202113000063 | Switch Box | 1 |
| 1-4 | 207180200003 | Rocker Switch | 1 |
| 1-5 | 199999001487 | Flameout Wire | 1 |
| 1-6 | 301200014 | Heat Shrinkable Tube | 0.03 |
| 1-7 | 202004001120 | Trigger | 1 |
| 1-8 | 202113000064 | Switch Box | 1 |
| 1-9 | 2073110000001 | Cross Recessed Pan Head Flange Surface Non-slip Self- tannina Screws | 3 |
| 1-10 | 207010400011 | Double Torsion Spring | 1 |
| 1-11 | 303000005 | Wave Tube | 1.2 |
| 1-12 | 199081000137 | Cable Assembly | 1 |
| 2 | 207259900694 | Upper Knob | 4 |
| 3 | 201139000119 | Push Rod | 1 |
| 4 | 201139000121 | Push Rod | 1 |
| 5 | 202145000005 | Plastic Mat | 4 |
| 6 | 207229900163 | Square Neck Bolt | 1 |
| 7 | 201139000120 | Push Rod | 1 |
| 8 | 207340100022 | Elastic Ring For Shaft | 2 |
| 9 | 207150100027 | Wheel | 2 |
| 10 | 199130000048 | Bracket Assembly | 1 |
| 11 | 207019900268 | Wheel Adjustment Spring | 1 |
| 12 | 201026000470 | Shaft | 1 |
| 13 | 207340100020 | Elastic Ring For Shaft | 2 |
| 14 | 103001000362 | Engine Head Assembly | 1 |
| 15 | 201160000017 | Passive Plate | 1 |
| 16 | 207340100009 | Elastic Stop Ring For Hole | 1 |
| 17 | 207390100115 | Bearing | 2 |
| 18 | 201101000072 | Rear Fixed Seat | 1
|
| No. | Part# | Description | Qty. |
| 19 | 207310100373 | Hexagon Socket Head Screw | 8 |
| 20 | 201123000050 | Panel | 1 |
| 21 | 207340100029 | Elastic Ring For Shaft | 1 |
| 22 | 201022000051 | Soft Shaft | 1 |
| 23 | 199015000110 | Gearbox Assembly | 1 |
| 23-1 | 207340100008 | Elastic Stop Ring For Hole | 2 |
| 23-2 | 202999001448 | Oil Seal | 2 |
| 23-3 | 207310100522 | Hexagon Socket Head Screw | 8 |
| 23-4 | 207310100518 | Hexagon Socket Head Screw | 2 |
| 23-5 | 201999000441 | Worm Gear Right Side Case | 1 |
| 23-6 | 201999000972 | Bush | 2 |
| 23-7 | 207330100085 | Flat Washer | 2 |
| 23-8 | 201010000009 | Worm Gear | 1 |
| 23-9 | 207390100065 | Bearing ‘ | 1 |
| 23-10 | 201009000008 | Worm | 1 |
| 23-11 | 207390100090 | Bearing | 1 |
| 23-12 | 202999000899 | Oil Seal | 1 |
| 23-13 | 207280100050· | Shaft Sleeve | 1 |
| 23-14 | 201026000048 | Hob Support Shaft | 1 |
| 23-15 | 201999000733 | Round Flat Key | 1 |
| 23-16 | 201999000438 | Worm Wheel Left Side Case | 1 |
| 23-17 | 207340100030 | Elastic Ring For Shaft | 2 |
| 24 | 199115000006 | Rotary Cutter Assembly | 1 |
| 25 | 207190300001 | Cotter Pin | 2 |
| 26 | 207190400008 | Hinge Pin | 2 |
| 27 | 304000006 | Binding Wire | 1 |
| 28 | 202157000096 | Line Deduction | 2 |
| 29 | 207320100084 | Type 1 Non-metallic Insert Hex Lock Nut | 4 |
| 30 | 207229900171 | Square Neck Bolt •. | 4 |




Secure the cables with the cable clips (EE) 




Push the choke button in until it clicks 


























